Comment accrocher la porte du réfrigérateur : recommandations de réparation + instructions étape par étape

Comment changer la porte du réfrigérateur de l'autre côté dans différents modèles - les outils et instructions nécessaires

Identification et auto-correction des défauts d'étanchéité

L'identification locale et la correction des pannes associées à la porte du réfrigérateur, qui sont tout à fait réalistes à éliminer par vous-même, peuvent être identifiées par plusieurs points.Tout d'abord, lors d'une inspection visuelle, lorsque la porte du réfrigérateur ne colle pas bien et s'ouvre ensuite facilement ou s'affaisse fortement, vous devrez retirer soigneusement le couvercle de protection des charnières (le cas échéant) et serrer la porte au niveau requis. Il est possible que l'écart apparu soit associé à un affaissement de la porte du réfrigérateur.

Deuxièmement, si l'ajustement lâche est dû à la déformation du joint en caoutchouc, car le matériau perd son élasticité avec le temps, il peut être ramené à son état antérieur par chauffage. Pour ce faire, vous devez chauffer (verser) la zone déformée du joint avec un appareil chauffant (sèche-cheveux industriel ou domestique) ou un mince filet d'eau bouillante provenant d'une bouilloire, et pendant qu'il est élastique, donnez redonnez-lui sa forme d'origine en plaçant une entretoise sous la zone chauffée (un morceau de caoutchouc, de papier ou de caoutchouc mousse dense) .

Troisièmement, avant d'ajuster la porte du réfrigérateur et d'essayer de restaurer le joint endommagé, vous devrez retirer son bord avec un tournevis fin et considérer la méthode de fixation. Cela se produit sur des boulons, de la colle, des clips spéciaux ou dans des fentes (rainures). Le remplacement du joint sur le corps (ou la porte) du réfrigérateur, en tout ou en partie, est effectué en mesurant l'ancien élément et en le collant à la place du nouveau dans des bandes magnétiques préparées à l'avance, qui sont insérées dans le cavité du profil du joint. En l'absence de sceau natif, vous pouvez essayer de commander et d'en acheter un universel.
Une réparation similaire d'un joint en caoutchouc usé ou endommagé n'est le plus souvent effectuée que s'il est installé sur un réfrigérateur tel qu'Atlant, Minsk ou Oka.

D'autres problèmes, en plus du remplacement du joint en gomme, lorsqu'un petit joint est requis, sont le grincement de la porte ou sa réinstallation. Vous pouvez éliminer l'apparence d'un craquement de la manière suivante :

  1. Identifiez une boucle (ou plusieurs boucles) qui grince lors de l'ouverture/fermeture de la porte du réfrigérateur.
  2. Éliminez le défaut avec une goutte d'huile moteur en la laissant tomber dans les charnières de la porte (en aucun cas, il ne faut utiliser d'huile végétale, c'est-à-dire alimentaire).

Ainsi, il suffit de régler les charnières en les relevant (dans la mesure du jeu libre) et en versant quelques gouttes d'huile sur l'axe afin de se débarrasser du grincement gênant.

Un autre travail non moins difficile d'auto-réparation du réfrigérateur consiste à ajuster la porte lors de sa réinstallation ou de son affaissement, ce qui est effectué à l'aide de rondelles de réglage en plastique. Selon la taille de l'affaissement de la porte, ces rondelles devront être achetées à partir de 2 à 4 pièces.

Afin d'ajuster la porte du réfrigérateur de vos propres mains lorsqu'elle s'affaisse, vous devez retirer la porte avec précaution en dévissant le panneau du réfrigérateur et en retirant ses fixations en haut. Ensuite, vous devrez mettre des rondelles de réglage (1-2 pièces) sur la goupille du boîtier de pédalier et ajuster la porte horizontalement. Ensuite, il reste à «mettre» la porte du réfrigérateur en place, en vérifiant l'absence de distorsions et de fissures, ainsi que l'ajustement serré du caoutchouc au corps (ou à la porte) et le fonctionnement de l'interrupteur d'éclairage dans le réfrigérateur.

Si une rupture dans le trou d'atterrissage est détectée, la porte devra simplement être accrochée du côté opposé, où elle est intacte. De même, réglez la porte pour les distorsions (voir la description ci-dessus) à l'aide de rondelles en plastique de réglage.Si le trou se brise à deux endroits et qu'il est impossible d'accrocher la porte, il faudra renforcer la plaque sur la surface endommagée par «soudure à froid». Préparez ensuite un trou pour l'axe du support de la taille appropriée et accrochez la porte à sa place d'origine.

Un réfrigérateur est une unité domestique absolument ordinaire pour chaque maison moderne. Certes, il est parfois assez difficile de choisir un modèle qui s'intégrera avec succès dans l'environnement de la cuisine. Cela est dû aux caractéristiques de conception du réfrigérateur. Le plus souvent, les portes des réfrigérateurs Indesit, LG, Samsung et de nombreuses autres marques s'ouvrent de gauche à droite. Ce n'est pas toujours pratique. Si la disposition des meubles dans la cuisine nécessite une disposition différente, la question peut se poser de savoir comment compenser la porte du réfrigérateur.

Bien entendu, le moyen le plus simple consiste à appeler l'assistant depuis le centre de service. Moyennant des frais appropriés, il résoudra facilement votre problème. Mais si vous voulez économiser un peu, après avoir lu cet article, vous pouvez facilement le faire.

Instructions étape par étape sur la façon de raccrocher la porte du réfrigérateur

Dans un premier temps, il est nécessaire de préciser s'il est possible d'échanger la porte dans la conception. Pour la plupart des modèles modernes, des informations sur la façon de réorganiser les portes du réfrigérateur sont contenues dans le manuel d'instructions. Il doit suivre la séquence d'actions étape par étape pour le raccrochage :

  • avant la procédure de pesée, assurez-vous de mettre l'équipement hors tension ;
  • nous fixons la porte sur le côté avec un ruban adhésif afin qu'elle ne soit pas endommagée après le démontage;
  • retirez les bouchons des trous de montage avec un couteau ou un tournevis ;
  • dévisser les boulons de la boucle supérieure et démonter les fixations ;
  • en tenant la porte par le bas, retirez en même temps les boulons de la fixation inférieure;
  • nous plaçons les bouchons retirés de la partie supérieure dans les trous libérés.

Passons au bas de l'équipement de réfrigération :

  • fixez la partie inférieure de la porte avec du ruban adhésif;
  • retirez le caoutchouc de la goupille et dévissez la fixation de la charnière avec une clé à fourche;
  • décollez le ruban adhésif, soulevez la porte;
  • nous libérons les trous de montage des bouchons, les installons dans des canaux libres;
  • si nécessaire, réorganisez la poignée ;
  • réinstallez la goupille et le support inférieur du côté opposé ;
  • à l'aide d'outils, nous réorganisons les attaches de l'autre côté;
  • assembler dans l'ordre inverse.

Important! Après avoir raccroché, il est nécessaire de vérifier à quel point la porte s'adapte au corps. Si des fissures et des espaces se forment, il doit être ajusté

Lorsque la porte est installée de l'autre côté

Le regondage des portes du réfrigérateur est pertinent dans plusieurs cas.

  • Modification de la configuration de la pièce ou de sa conception. Si le réaménagement effectué dans la cuisine ne permet pas à la porte de s'ouvrir normalement vers la droite, il faut l'installer du côté opposé.
  • Le besoin de changements survient lorsque la porte du corps ne s'adapte pas parfaitement. En conséquence, de l'air chaud pénètre dans la chambre, augmentant la température et la charge sur le compresseur.

L'ouverture sur le côté droit des portes du réfrigérateur n'est pas pratique à utiliser. Par exemple, si le propriétaire a une main de travail gauche, à propos de laquelle il est plus pratique pour lui d'ouvrir à gauche. Dans ces circonstances, accrocher les charnières facilitera l'utilisation des appareils électroménagers.

Important! Vous devez d'abord inspecter le caoutchouc d'étanchéité. En cas de déformation, d'encrassement ou d'usure, il suffit de le remplacer par un joint neuf.

Avec les modèles à deux chambres de l'unité, les réparations à faire soi-même sont beaucoup plus faciles à effectuer (les portes sont retirées une par une). Dans la technologie à chambre unique, une porte pleine de l'intérieur du congélateur est démontée.

Comment accrocher la porte du réfrigérateur : recommandations de réparation + instructions étape par étape

Avec les modèles à deux chambres de l'unité, les réparations à faire soi-même sont beaucoup plus faciles à effectuer (les portes sont retirées une par une)

Comment réparer rapidement une porte de réfrigérateur inclinée ?

Les rideaux du réfrigérateur sont un détail très délicat. Ils sont fixés au plan de la porte avec des épingles. Pour retirer la porte et accéder aux robots de réparation, vous devez mettre le réfrigérateur sur le côté, avec les rideaux relevés. Ne mettez pas sur le mur du fond - il y a un risque d'endommager les tubes minces qui conduisent la substance pour le refroidissement. Ceci est lourd de conséquences graves.

Après avoir examiné le bas, il est facile de remarquer les petits boulons qui fixent le rideau inférieur de la porte. En le retirant, vous pouvez littéralement "tirer" la porte hors de la rainure supérieure. Après cela, les boulons (rarement des vis autotaraudeuses ou des rivets) du rideau supérieur auront libre accès. Parfois, ils sont fermés avec un couvercle en plastique - il est facile de le retirer avec un couteau et de le mettre en place une fois la réparation terminée.

Lire aussi :  Compresseur pour fosse septique : principe de fonctionnement, comment choisir + règles de fonctionnement

Le jeu des rideaux est déterminé assez simplement - si, avec une petite charge, le rideau "marche" d'un côté à l'autre, tourne ou frappe, il doit être fixé plus fermement ou même remplacé. Les goupilles tordues et les fissures sont le signe d'une pièce usée et doivent être remplacées.

  • Boulons - il est nécessaire de niveler le rideau (90 au niveau du bas, dans l'alignement du rideau inférieur) et de le fixer avec une clé. Parfois, pour renforcer la structure, une fine contre-rondelle est utilisée, ce qui ne permet pas au boulon de se dérouler.
  • Vis autotaraudeuses - une procédure similaire, seulement ici, vous avez besoin d'un tournevis avec une fente ou une fente Phillips.
  • Les rivets sont un plus gros problème. Vous pouvez riveter à l'aide d'un ensemble spécial d'outils similaires à un poinçon métallique. Si possible, remplacez les anciens rivets par des vis autotaraudeuses ou des boulons. Ainsi, vous réparerez rapidement la porte et en même temps n'endommagerez pas la boîte du réfrigérateur.

Rideau bas de porte

Si une fissure a été trouvée dans la zone de montage du support, ce n'est pas effrayant. La plupart des réfrigérateurs permettent l'installation de fixations sur le côté opposé. Pour ce faire, vous devez retirer les portes, libérer les douilles pour les broches des bouchons en plastique de l'autre côté et assembler le réfrigérateur, installer les rideaux de l'autre côté. Les fissures ou les trous dans l'ancien emplacement de montage doivent être recouverts de couvercles en plastique (fournis avec le réfrigérateur) ou traités à l'époxy (soudure à froid) en cas de fissure grave.

Remplacer le joint d'usine du réfrigérateur ?

Pour une installation rapide du joint élastiques de porte de réfrigérateur ne peut pas être retiré des charnières. Cependant, vous devez travailler dans une pièce bien ventilée - l'odeur de colle toxique peut nuire à votre santé.

Donc, si le problème se trouve dans le joint, alors la première chose à faire est de le retirer. Les élastiques en caoutchouc d'usine sont d'une seule pièce qui est collée au métal avec un adhésif tout usage. Le retrait du joint est facile - il suffit de le soulever avec un couteau bien aiguisé et de le tirer avec la main. Dans la plupart des cas, il sera possible de retirer un gros morceau d'un seul coup.

joint de porte

Après cela, il vaut la peine d'enlever les restes de colle industrielle. Un chiffon avec de l'eau savonneuse ou une éponge rugueuse imbibée d'alcool fonctionne bien.Pour les colles particulièrement résistantes, il faudra utiliser des solvants chimiques. Le choix du solvant doit être basé sur la toxicité - il vaut la peine de ne choisir que des espèces sans danger pour le système respiratoire.

Après avoir enlevé l'ancienne couche de colle, vous devez commander ou fabriquer vous-même un nouveau joint. Il n'est pas difficile d'en trouver un adapté aux modèles de réfrigérateurs populaires. Vous devez rechercher une pièce en caoutchouc par le nom de modèle exact de votre appareil. Pour les modèles plus anciens, des joints élastiques feront l'affaire. Ils sont vendus dans les quincailleries au mètre ou en rouleaux spéciaux de longueur fixe.

Joint élastique

Comment coller un élastique sur la porte du réfrigérateur ?

La meilleure option est la colle Moment pour le caoutchouc, le métal et la céramique avec un indicateur de résistance moyenne. Une colle trop puissante sera plus difficile à enlever du vantail de la porte après un collage infructueux ou lors de la prochaine réparation.

Nouveau joint sur un vieux frigo

Certains types de gomme ont une connexion rainurée ou sont vissés avec des vis autotaraudeuses. Dans ce cas, la colle n'est pas nécessaire. Le collage se déroule en deux étapes :

  • Appliquer une fine couche de colle sur les coins du carré en caoutchouc, niveler avec un niveau d'eau, étirer.
  • Coller tout le périmètre avec de petites portions de colle.

Il convient de garder à l'esprit que la colle pour caoutchouc durcit en 15 à 20 minutes. C'est un temps suffisant pour l'alignement et l'étirement du mastic. Lors du collage du périmètre, appuyez fermement le caoutchouc sur le métal - la force de la liaison en dépend. Si possible, utilisez des pinces. Après séchage complet, il est nécessaire d'éliminer les bulles et d'essuyer tous les périmètres avec un détergent. Le réfrigérateur est prêt pour une utilisation ultérieure.

Causes possibles de fuite du réfrigérateur

Dans la plupart des cas, aucune réparation n'est nécessaire pour remédier à la situation. Il vous suffit d'examiner la caméra et de trouver la raison pour laquelle elle ne se ferme pas. Certaines femmes au foyer chargent tellement les étagères de la porte qu'elles ne peuvent pas supporter une telle charge et se déformer. Il est préférable de stocker les bocaux lourds et les aliments sur les étagères principales. De plus, les raisons qui interfèrent avec une fermeture étanche sont souvent des étagères ou des poignées de casseroles et de poêles mal rétractées.

Mauvaise lubrification ou usure des charnières

Si les étagères sont à moitié vides et que la porte du réfrigérateur se ferme mais tient ensemble, il vaut la peine de vérifier les charnières. Il est peut-être temps de les lubrifier ? Il existe des lubrifiants universels dans les magasins de matériaux de construction, mais l'huile de machine ordinaire sera également utile. À l'aide de la composition liquide aspirée dans la seringue, desserrer les vis de fixation et déposer sur l'axe.

vieux mastic

De plus, les joints s'usent avec le temps. Le caoutchouc perd son élasticité, devient dur, inflexible, avec de nombreuses fissures, change de couleur, acquiert une teinte jaunâtre. Vous pouvez remplacer vous-même le joint en commandant le composant nécessaire dans un magasin spécialisé ou en contactant un centre de service pour obtenir l'aide d'un artisan qualifié.

Usure de l'entretoise

La porte elle-même aidera à signaler ce dysfonctionnement - elle ne se ferme pas et est sensiblement déplacée vers le sol. Le plus souvent, les réfrigérateurs d'ancienne génération en souffrent. Cet élément en plastique est situé à la jonction de la porte et de la partie principale de l'appareil, et est responsable d'une ouverture et d'une fermeture en douceur. Vous pouvez fermer la porte comme suit : soulevez-la et claquez-la. Pour réparer cette pièce, vous devez faire une demande au maître pour remplacer l'entretoise.

sol inégal

La raison d'une porte mal fermée peut être une irrégularité du sol et, par conséquent, l'appareil s'incline d'un côté. Pour remédier à la situation, il suffit de tordre les pieds ou de placer un support supplémentaire sous eux, en alignant l'appareil avec le niveau du bâtiment.

Le capteur de porte a échoué

Seuls les modèles modernes de réfrigérateurs sont équipés d'une fonction similaire. Ils sont responsables du comportement de la porte. Si le réfrigérateur est ouvert pendant plus d'un certain temps (40-50 secondes), le capteur en informe le consommateur par un signal sonore. Mais dès qu'un tel capteur tombe en panne, il donne des signaux trompeurs. Si l'étanchéité du réfrigérateur n'est pas rompue, mais la notification sonore de l'appareil ne s'éteint pas, vous devez contacter un spécialiste pour réparer le système électronique.

Pourquoi accrocher la porte au réfrigérateur ?

Un tel désir peut apparaître chez les gauchers, car il n'est pas toujours pratique pour eux d'ouvrir le réfrigérateur de la main droite. Dans de rares cas, il devient nécessaire de remplacer le joint, car il s'use pendant le fonctionnement.

Caractéristiques de la réorganisation de la porte du réfrigérateur

Avant de retirer la porte du réfrigérateur, inspectez soigneusement les charnières. Ils devraient avoir des trous supplémentaires qui permettent de modifier la porte. S'il n'y a pas de trous supplémentaires dans les charnières, vous ne devriez même pas essayer de réinstaller la porte. Il existe des réfrigérateurs dans lesquels les fabricants n'ont pas conçu cette fonctionnalité intéressante.

Lisez attentivement la carte de garantie fournie avec le réfrigérateur. Les fabricants incluent souvent la réinstallation de la porte dans le service de garantie.

Faites attention à l'endroit où le câblage est posé.Si vous oubliez cette nuance, vous pouvez accidentellement endommager plusieurs fils, puis le réfrigérateur cessera complètement de fonctionner.

Comment réorganiser la porte du réfrigérateur de l'autre côté

Dans certaines situations, il peut être nécessaire de raccrocher la porte du réfrigérateur. Dans de nombreux modèles de réfrigérateurs, cela n'est pas possible, ce qu'il vaut mieux savoir à l'avance. L'ensemble du processus de travail est facile à faire par vous-même, il vous suffit de déterminer si et comment exactement vous pouvez l'emporter sur la porte du réfrigérateur.

Pourquoi déplacer la porte de l'autre côté

L'installation de la porte du réfrigérateur sur le côté opposé de l'armoire est nécessaire pour les raisons suivantes :

  • Changer l'intérieur de la cuisine. À la place occupée par le réfrigérateur dans le nouvel agencement, il n'y a aucun moyen d'ouvrir librement la porte.
  • La porte se ferme hermétiquement. Dans une telle situation, il est nécessaire de réorganiser la porte plus rapidement, car l'air chaud pénètre dans le réfrigérateur par l'espace entre celui-ci et le corps. De ce fait, la température à l'intérieur augmente et le compresseur doit fonctionner avec une double charge pour compenser la différence de température. Avec un tel traitement, l'équipement tombera rapidement en panne. Parfois, il n'est pas nécessaire de réorganiser la porte, il suffit de vérifier la gomme d'étanchéité.
  • S'il est trop usé, sale ou déformé, alors vous devez d'abord le changer.
  • Vous êtes gaucher. Les gauchers sont plus à l'aise d'ouvrir la porte à droite.
Lire aussi :  Hotte pour salle de bain et toilettes: les subtilités de la création d'un projet et les nuances de l'agencement du système

Entraînement

Avant de commencer le travail, vous devez vérifier si cette possibilité est offerte par le fabricant. Cette information est indiquée dans les instructions du réfrigérateur. S'il est perdu, vous devez inspecter la porte du réfrigérateur.

Lorsqu'il y a des trous techniques du côté opposé aux charnières, vous pouvez changer l'ouverture de la porte du côté opposé. S'il n'y a pas de trous pour les charnières, le modèle n'est pas conçu pour cela.

Au stade préparatoire, vous devez effectuer les opérations suivantes :

  1. Sortez toute la nourriture de la chambre.
  2. Débranchez et laissez décongeler.
  3. Éloignez l'appareil du mur et des meubles.
  4. Procurez-vous des tiroirs et des étagères, en particulier ceux en verre.
  5. Retirez les aimants.

Pendant le réaccrochage, ne laissez pas l'appareil basculer ou ne le placez pas sur le mur arrière. Cela peut endommager le compresseur.

Au cours des travaux de suspension de la porte de la chambre du réfrigérateur, utilisez:

  • clé, tournevis,
  • couteau ou spatule pour enlever les bouchons décoratifs,
  • ruban de masquage,
  • feuille de papier.

Pour déplacer la porte du réfrigérateur de l'autre côté, utilisez l'algorithme suivant :

  1. Après avoir débranché l'appareil du secteur, prenez du ruban adhésif et fixez la porte sur le côté de manière à l'empêcher de tomber lors du retrait.
  2. À l'aide d'un couteau ou d'une spatule, retirez les bouchons des trous techniques.
  3. Dévissez les boulons et retirez les fixations des charnières. Si vous ne pouvez pas obtenir la charnière, vous devez retirer tout le panneau supérieur. Pour éviter que le support ne se déforme, la porte est maintenue par le bas. Dans cette position, les boulons de la charnière inférieure sont dévissés.
  4. Dans certains modèles de réfrigérateurs, vous pouvez retirer la porte en la soulevant légèrement.
  5. Si l'achat n'incluait pas de pièces de rechange, utilisez les mêmes pièces de l'autre côté.
  6. Échangez les bouchons des trous de montage, en les réorganisant de gauche à droite. Les charnières sont en miroir.
  7. Le montage s'effectue dans l'ordre inverse, mais de l'autre côté.
  8. Si le réfrigérateur est à deux chambres, un processus similaire est effectué avec chaque porte à tour de rôle.
  9. La dernière étape consiste à vérifier l'étanchéité du joint. Tout d'abord, vérifiez visuellement le joint pour les lacunes et les fissures. Si tel est le cas, un réglage de la porte est nécessaire. Lorsqu'il n'y a pas d'espace visible, ils vérifient avec une feuille de papier. Il est inséré entre le corps et la gomme d'étanchéité, fermant hermétiquement la porte. Vous devez tirer la feuille: si elle tombe facilement, le caoutchouc ne s'adapte pas parfaitement et un ajustement est nécessaire. Si vous ne pouvez pas retirer une feuille de papier, tout est fait correctement.

Comment accrocher une porte avec un affichage

Dans les modèles de réfrigérateurs équipés d'un écran, il existe un module de commande. Cela affecte légèrement l'avancement des travaux d'accrochage de la porte. Le processus lui-même pour le réinstaller est le même, cependant, vous devez également vous occuper du câble du module de commande et transférer le fil de l'autre côté. Si vous n'êtes pas sûr, il est préférable de consulter un professionnel. Sinon, il vous faudra :

  • retirez le couvercle supérieur du boîtier et débranchez le câble. Afin de ne pas confondre le schéma de câblage, il est préférable de prendre une photo ou d'écrire la séquence de vos actions,
  • déroulez les boucles et dirigez les fils dans la direction opposée. Ensuite, remettez le tout ensemble. Il est préférable de connecter le module de contrôle après avoir raccroché. La dernière chose à faire est de réinstaller le capot supérieur.

L'installation de la porte du réfrigérateur du côté opposé n'est pas très difficile. Mais même ainsi, il est préférable de connaître toutes les nuances avant de commencer à travailler. Ainsi, vous ne ferez pas d'erreurs qui entraîneront des pannes d'équipement.

Entraînement

Avant de commencer le travail, vous devez vérifier si cette possibilité est offerte par le fabricant.Cette information est indiquée dans les instructions du réfrigérateur. S'il est perdu, vous devez inspecter la porte du réfrigérateur.

Au stade préparatoire, vous devez effectuer les opérations suivantes :

  1. Sortez toute la nourriture de la chambre.
  2. Débranchez et laissez décongeler.
  3. Éloignez l'appareil du mur et des meubles.
  4. Procurez-vous des tiroirs et des étagères, en particulier ceux en verre.
  5. Retirez les aimants.

Au cours des travaux de suspension de la porte de la chambre du réfrigérateur, utilisez:

  • clé, tournevis;
  • un couteau ou une spatule pour enlever les bouchons décoratifs ;
  • ruban de masquage pour la peinture;
  • feuille de papier.

Problèmes communs

Les principaux défauts de la porte du réfrigérateur sont un ajustement lâche au corps ou, au contraire, des difficultés d'ouverture. Dans le premier cas, un mauvais contact de l'élément d'étanchéité peut endommager le compresseur en raison d'une surcharge. Dans la deuxième option, l'essentiel est l'inconvénient d'utiliser l'appareil aux fins prévues.

Ouverture de porte difficile

Le défaut de collage du joint est observé dans les derniers modèles de réfrigérateurs pour la première fois après l'achat. Un vide est créé à l'intérieur du réfrigérateur, qui aspire le châssis vers le corps du réfrigérateur. Cela se produit si l'intervalle de temps entre la première et la deuxième ouverture de la porte ne dépasse pas 3 minutes. Explication physique du problème : lors de la première ouverture, l'air à température ambiante pénètre dans le compartiment réfrigérateur, où il est instantanément refroidi et comprimé.

Si vous essayez de l'ouvrir après quelques secondes, la porte s'ouvrira difficilement. En quelques minutes, la pression dans le réfrigérateur s'équilibre grâce à l'aspiration d'air à travers le joint de la porte. Après quelques mois de fonctionnement du réfrigérateur, le joint en caoutchouc magnétique perdra son adhérence d'origine.

Ajustement de l'affaissement

Une cause fréquente d'une porte de réfrigérateur déformée est une charge excessive d'aliments à l'intérieur. Sous leur poids, les boucles supérieures sortent des rainures. Un claquement fort et fréquent lors de la fermeture du réfrigérateur peut casser la fixation du châssis

Il est important de niveler l'unité. Un sol irrégulier entraînera la porte à se déformer d'elle-même avec le temps en raison de la gravité, en particulier si le joint est usé et adhère faiblement au corps du réfrigérateur.

Les raisons du départ de la porte sont déterminées à l'aide d'un quart de feuille de cahier, qui est appliqué sur le sceau et le réfrigérateur est fermé:

  1. Le papier tombe sans être retenu dans l'ouverture, ce qui signifie que les charnières sont desserrées.
  2. Dans certaines zones du joint, le papier est retenu, dans le reste, il tombe. La porte ne se ferme pas en raison de la déformation du caoutchouc.
  3. A la fermeture, la porte reçoit une impulsion inverse et s'éloigne : défaillance de l'entretoise (la pièce en plastique en bas de la porte pour les anciens modèles de réfrigérateurs).

Une porte lâche permettra à l'air chaud de passer. Par conséquent, pour maintenir la température au bon niveau, le compresseur fonctionnera sans interruption. Dans ce mode, il échouera rapidement.

grincement

La porte d'un nouveau réfrigérateur peut grincer lorsqu'elle est ouverte, jusqu'à ce que les charnières se soient développées. Un grincement peut indiquer que la graisse a séché sur les charnières et que les pièces métalliques se frottent les unes contre les autres.

Comment retirer le capot supérieur du réfrigérateur de vos propres mains: un algorithme d'actions

Pour démonter le couvercle, il est recommandé d'installer l'unité au milieu de la pièce. Cela vous permettra de vous déplacer librement autour de lui. Mais pour cela, vous devez débrancher l'appareil de l'alimentation électrique, nettoyer les chambres de la nourriture et dégivrer.

Les instructions de démontage du capot supérieur sont les suivantes :

  • toutes les étagères et cellules sont retirées du réfrigérateur et du congélateur, y compris de la porte;
  • si nécessaire, nettoyez les murs;
  • ensuite, le capot supérieur est inspecté pour la présence de bouchons en plastique qui peuvent être cachés à l'aide de bandes de parement
  • à cause d'un couteau ou d'un tournevis plat, ils sont rangés et retirés des supports;
  • sous les bouchons, il devrait y avoir des boulons métalliques (souvent ils sont conçus pour un tournevis cruciforme) - nous les dévissons;

Comment retirer les vis du capot supérieur

  • le réfrigérateur peut encore avoir des rails de protection (lamelles, joints), qui sont souvent fixés avec des loquets - vous pouvez les soulever et les ouvrir à l'aide d'un outil déjà utilisé ;
  • le panneau supérieur est à nouveau inspecté pour la présence de tous les moindres détails, après quoi vous pouvez retirer le couvercle avec vos mains.

Sens de déplacement du couvercle lors du retrait

Différents types de réfrigérateurs ont leurs propres loquets en plastique spécifiques qui empêchent le couvercle de bouger librement. Ils peuvent ne pas être visibles, mais il est facile de les détecter - en tirant le couvercle vers vous, une certaine stupeur peut survenir à un point précis

Lire aussi :  Les principales méthodes et technologies de cimentation de puits

Il faut donc prêter attention à cette zone particulière et rechercher un fixateur. Les fabricants de certains réfrigérateurs indiquent déjà dans les instructions où se trouvent les prises et les loquets, et comment ils sont correctement déconnectés.

Par conséquent, avant de procéder au démontage vous-même, vous devez d'abord lire le manuel d'instructions. Le fait est que dans la partie supérieure de l'unité, il peut y avoir des nœuds importants pour le bon fonctionnement, qui sont faciles à endommager.S'ils sont touchés, cela peut entraîner une panne plus grave, et on ne peut alors plus se passer de l'aide de spécialistes.

Réparation de réfrigérateur

En utilisant la méthode décrite ci-dessus, il est assez facile et simple de retirer le couvercle du réfrigérateur. Et ici, vous n'avez même pas besoin d'outils et de compétences spéciaux. Si un modèle particulier ne se prête pas à l'auto-démontage, il est recommandé de demander immédiatement l'aide de professionnels. Cela économisera immédiatement vos finances, car des actions inexactes peuvent complètement désactiver le réfrigérateur.

Retrait de la bande décorative

Certaines conceptions de l'appareil prévoient la présence d'une bande décorative, qui doit être retirée avant le processus de démontage de la porte. Vous aurez besoin d'un tournevis cruciforme pour le retirer. Avec son aide, les attaches sont dévissées et la barre elle-même est tirée vers elle-même.

Comment accrocher la porte du réfrigérateur : recommandations de réparation + instructions étape par étape

Certaines conceptions de l'appareil prévoient la présence d'une bande décorative, qui doit être retirée avant le processus de démontage de la porte.

Sous le panneau décoratif, certains modèles ont une couche de matériau isolant thermique. Avant le travail, la mousse doit être enlevée. Une fois la réparation terminée, la barre est installée à son emplacement d'origine.

Comment accrocher la porte du réfrigérateur : recommandations de réparation + instructions étape par étape

Sous le panneau décoratif, certains modèles ont une couche de matériau isolant thermique.

Instructions : comment changer la porte du réfrigérateur de l'autre côté

Pour réorganiser la porte d'un côté à l'autre, vous devez préparer les outils nécessaires et suivre une séquence d'actions claire. Il n'y a pas de différences significatives dans le travail avec différentes marques de réfrigérateurs, que ce soit Samsung, Biryusa, Stinol ou Ariston.

Parmi les outils, vous avez besoin de clés, d'un jeu de tournevis et d'un couteau.

Avant de commencer le travail, vous devez vous assurer que le réfrigérateur a la possibilité de raccrocher les portes. Cela sera indiqué par les trous dans le corps de l'autre côté des portes. En règle générale, ils sont recouverts de bouchons.

Comment accrocher la porte du réfrigérateur : recommandations de réparation + instructions étape par étapeSchéma d'accrochage de la porte du réfrigérateur de l'autre côté

Instructions pour accrocher les portes du réfrigérateur :

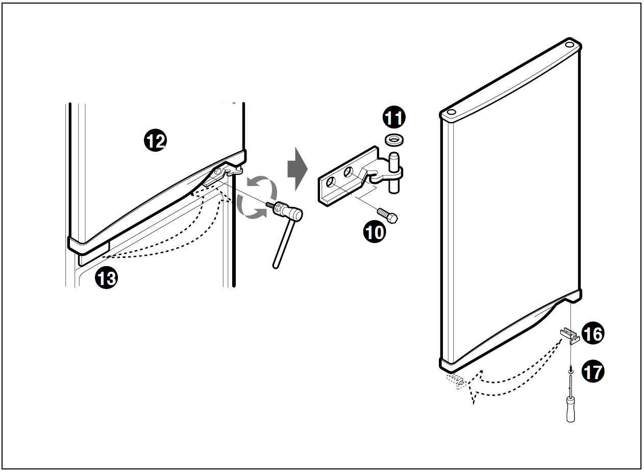
  1. À l'aide d'un tournevis, retirez les bouchons des boulons et débranchez toutes les fixations. Lors du détachement des charnières inférieures, il convient de tenir légèrement la porte pour éviter qu'elle ne tombe. La porte peut être retirée après déconnexion.
  2. Ensuite, vous devez retirer les charnières des virages de la porte et installer des bouchons à leur place. Ensuite, toutes les boucles doivent être réarrangées de l'autre côté.
  3. Ensuite, vous devez raccrocher la porte, uniquement de l'autre côté. Vous devez commencer à attacher à partir de la boucle supérieure.
  4. Ensuite, vous devez changer les poignées. Habituellement, ils sont fixés avec des vis - ils doivent être dévissés. Si le support est masqué par des bouchons, vous devez les retirer avec précaution à l'aide d'un petit tournevis ou d'un couteau et les retirer.
  5. Il reste à réorganiser le capteur d'ouverture de porte. Il doit également être pourvu de trous appropriés.

Si le réfrigérateur est équipé d'un écran, il est préférable d'inviter un professionnel pour un tel travail, car vous devrez réorganiser le câble, ce qui n'est pas du tout facile.

Quelques conseils supplémentaires :

  • Il est toujours nécessaire de remettre toutes les vis, sinon l'isolation de l'appareil peut en souffrir ;
  • Si le réfrigérateur est à chambre unique, il ne faut pas oublier de dépasser les portes du congélateur;
  • Pour mieux ajuster l'étanchéité de la porte au meuble, il est nécessaire d'incliner légèrement le réfrigérateur vers l'arrière à l'aide des pieds de réglage, permettant à la porte de se fermer d'elle-même.

Si la garantie est importante pour vous et que sa période n'est pas encore écoulée, il est préférable d'inviter un spécialiste pour un tel travail afin de ne pas perdre la possibilité d'un service de garantie.

Caractéristiques de surpoids des fabricants populaires

Lors du regondage de la porte du réfrigérateur, il est nécessaire de prendre en compte les caractéristiques de conception fournies par le fabricant.

Atlantique

La procédure d'accrochage des portes dans le réfrigérateur Atlant comprend les étapes suivantes :

  1. Retrait du panneau décoratif. Les attaches sont dévissées avec un tournevis cruciforme, la barre est tirée vers elle-même. En dessous, près du réfrigérateur de la marque ci-dessus, se trouve une couche de matériau calorifuge. Avant de commencer les travaux d'installation, la mousse est retirée et mise de côté.
  2. Retrait de la boucle supérieure. Le support est une plaque avec une goupille sur laquelle repose la porte. De l'autre côté, une barre filetée est installée. Les boulons de ces pièces sont dévissés avec un hexagone. Il n'est pas nécessaire de fixer la porte avec du ruban adhésif lors d'un réarrangement.
  3. Retrait de la porte du congélateur. Après avoir dévissé les fixations, l'élément est déconnecté de la goupille et soulevé. Si le réfrigérateur est à deux chambres, vous devez retirer la porte de la charnière restante. Après cela, les capuchons des boulons sont retirés. La charnière centrale est complètement retirée, la porte est soulevée et mise de côté.
  4. Retrait du support inférieur. Ce détail du réfrigérateur Atlant est également caché sous un revêtement décoratif qui doit être retiré. Après cela, la boucle est permutée.

Pour déplacer la porte de l'autre côté, les étapes ci-dessus pour l'autre côté de l'armoire sont effectuées dans l'ordre inverse.

Bosch

Il n'est pas difficile de réinstaller la porte du réfrigérateur Bosch, mais avant de commencer à travailler, vous devez étudier les instructions

Une attention particulière est portée à la présence d'éléments supplémentaires.Commencez à raccrocher en retirant les bouchons et en dévissant les attaches

Après cela, les charnières et la poignée sont retirées de la porte. Les pièces sont réarrangées de l'autre côté du boîtier. Lors de la réparation de réfrigérateurs avec écran, procédez comme suit :

  • retirez le capot supérieur de l'appareil et recherchez les câbles ;
  • déconnectez les contacts en écrivant leurs actions sur papier;
  • retirez la porte du compartiment supérieur et retirez le panneau cachant les câbles ;
  • la boucle est dévissée, les contacts sont réarrangés de l'autre côté, l'installation est effectuée dans l'ordre inverse;
  • les câbles sont recouverts d'un panneau, les contacts sont connectés.

Indesit

Pour réaccrocher les façades du réfrigérateur Indesit, vous devez effectuer les étapes suivantes :

  • inspectez l'appareil et assurez-vous qu'il peut être réinstallé (tous les modèles ne sont pas équipés des trous appropriés);
  • débranchez l'appareil de l'alimentation électrique, retirez le contenu des chambres ;
  • démonter la poignée, retirer les bouchons des trous situés sur le site d'installation prévu ;
  • dévisser les boulons inférieur et supérieur ;
  • retirer les charnières et la porte;
  • modifier la disposition des pièces (les éléments sont réarrangés du côté opposé du corps);
  • effectuez les étapes ci-dessus dans l'ordre inverse lors de l'assemblage du réfrigérateur ;
  • régler la position des charnières.

Dans certains modèles d'unités de réfrigération Indesit, il est impossible de modifier la position des éléments du boîtier sans l'utilisation de pièces supplémentaires. Le plus souvent, les produits sont inclus dans la livraison de l'appareil. Le capteur de fermeture est situé dans la partie centrale du corps, il n'a pas besoin d'être réarrangé.

Samsung

Pour dépasser la porte du réfrigérateur Samsung, vous devez retirer le couvercle de l'appareil et débrancher les fils. Après cela, les boucles sont dévissées et transférées sur le côté gauche.Le support situé dans la partie inférieure du corps est réarrangé, changeant la direction du mouvement. La conception des appareils de la marque Samsung prévoit un limiteur d'ouverture du congélateur, qui doit également être déplacé vers la gauche. Après avoir installé les éléments, les fils sont connectés, le couvercle est remis à sa place.

LG

Les réfrigérateurs LG sont équipés de charnières qui se dévissent avec un tournevis avec une buse appropriée. La porte peut tomber après avoir été retirée du support, elle doit donc être fixée avec du ruban adhésif, en la collant sur tout le côté

Lorsque vous effectuez des travaux, soyez prudent. Si les charnières sont déformées, il sera impossible d'installer la porte

Les appareils modernes ont une unité de commande électronique dont les fils doivent être tournés dans le sens opposé. Les câbles sont cachés sous le panneau décoratif et la superposition de la boucle supérieure.

Ariston

Le réfrigérateur Hotpoint-Ariston n'est pas livré avec des inserts en plastique pour changer l'emplacement de montage. Si un problème similaire se produit, vous pouvez essayer d'échanger les boucles supérieure et inférieure. Cela fournit un miroir à la disposition standard des pièces.

La fonctionnalité d'Ariston-Hotpoint inclut une indication d'ouverture. Pour cela, la conception fournit un capteur spécial. Une personne qui a au moins une fois dépassé les façades du réfrigérateur Ariston trouvera facilement la pièce. Il est retiré du boîtier et réarrangé dans le trou correspondant sur le côté opposé.

Évaluation
Site sur la plomberie

Nous vous conseillons de lire

Où remplir la poudre dans la machine à laver et combien de poudre verser