- Comment ne pas faire
- Circuits instables
- Totalement faux
- Installation de sèche-serviettes à faire soi-même
- Comment installer un sèche-serviettes "échelle"
- Installation d'un radiateur sèche-serviettes à eau
- L'essentiel de la question
- Caractéristiques de conception
- Instruction étape par étape
- Outils nécessaires
- Démantèlement d'anciens équipements
- Comment installer correctement les vannes de dérivation et à bille
- Fixation
- supports
- les soutiens
- Raccord
- Installation, serrage "américain"
- marque
- Préparation du trou
- Fixation
- Serrage des fixations
- Choisir un schéma de connexion pour un sèche-serviettes à eau
- Moments de base
- Erreurs fréquentes
- Installer un sèche-serviette électrique
- Installation de différents types de sèche-serviettes
Comment ne pas faire
Tous les schémas ci-dessus fonctionnent de manière stable. Comme vous pouvez le voir, tous les virages vont droit, sans virages en forme d'arc ou d'anneaux. Ce n'est pas accidentel - l'air s'accumule dans toutes les irrégularités, ce qui interfère et parfois bloque complètement la circulation.

Ce schéma ne fonctionne pas
Sur la photo, l'installation du sèche-serviettes est incorrecte. Fait au moins deux erreurs :
- les robinets sont rendus plus étroits que l'entraxe du sèche-serviettes ;
- ils sont constitués d'un tuyau en métal-plastique avec des boucles.
Une telle connexion ne peut tout simplement pas fonctionner.Les tuyaux en métal-plastique sont un excellent matériau, mais pas pour connecter des porte-serviettes chauffants. Leurs raccords ont un très fort rétrécissement de la lumière, ce qui a un effet néfaste sur la circulation. De plus, l'air s'accumule dans les boucles et le débit à travers la boucle supérieure, même lorsqu'il est alimenté par le haut, ne passera pas - une trop grande résistance hydraulique à l'eau doit être surmontée.
Circuits instables
Les deux schémas suivants peuvent fonctionner, mais pas toujours. Dans la partie inférieure du sèche-serviettes, l'eau stagne et, avec une certaine différence de hauteur, ne peut pas monter. Personne ne peut dire exactement quand cela fonctionnera et quand non. Dépend de la pression dans la colonne montante, du diamètre des tuyaux et de la conception du sécheur lui-même.

Schémas de câblage instables
Avec une telle connexion, même une connexion qui fonctionne peut soudainement (généralement après un arrêt) cesser de fonctionner. C'est simple : la pression a changé, les canalisations sont bouchées, l'eau ne « pousse » pas par le bas, sèche serviette qui ne chauffe pas.
Une autre option pour un circuit instable est avec une boucle sur le dessus. Encore une fois, cela fonctionnera sous certaines conditions. Mais tôt ou tard, le point le plus haut deviendra aérien et bloquera la circulation. Le problème peut être résolu si un purgeur d'air automatique est installé au point le plus élevé, mais si la pression chute, il ne sera pas sauvegardé.

Avec une boucle en haut
Totalement faux
Les photos ci-dessous sont des exemples de ce qu'il ne faut pas faire. Les schémas sans robinet sur le by-pass sont inopérants. Ce qu'il menace est connu. De plus, après plusieurs années de fonctionnement, ils cesseront généralement de fonctionner. Cela se produira très probablement après le prochain arrêt - le système sera obstrué par de la saleté. En effet, tout le flux d'eau chaude est démarré à travers le sèche-serviettes.Après réparation, l'eau transporte une énorme quantité de saleté, qui se dépose en toute sécurité dans les virages (dans les zones les plus basses en premier lieu). En quelques années, tout s'encrasse complètement. Pour de bon, tout doit être refait et connecté correctement, mais seul le rinçage peut aider le chagrin.

Très mauvaise idée
Il est nécessaire de rincer à la fois le porte-serviettes chauffant et ses fournitures. Pour ce faire, nous retirons la sécheuse et la lavons dans la salle de bain, et lavons les sorties une par une en connectant un tuyau aux sorties libérées, dont la deuxième extrémité est reliée à l'égout. En manipulant les robinets, faites passer le flux d'eau chaude par une sortie, puis par l'autre. Après le lavage, tout est installé en place. Il peut être possible de démarrer le système après cela.
Installation de sèche-serviettes à faire soi-même
Aujourd'hui, il est assez difficile d'imaginer une salle de bain sans sèche-serviettes. Cet attribut important occupe la place la plus importante dans nos maisons et appartements. Outre le fait que cet appareil sèche instantanément nos serviettes, il régule même l'air et le climat de la pièce. Tout le monde sait que les salles de bains sont dominées par l'humidité, la moiteur, etc. Et pour éviter les odeurs désagréables, il est nécessaire d'installer un sèche-serviettes. Nous verrons dans l'article comment cela se fait exactement.
Cet appareil, certaines personnes l'installent elles-mêmes. Mais en général, il est recommandé d'inviter des plombiers professionnels qui connaissent assez bien les moindres détails. Quelle que soit la décision que vous prendrez, vous lirez dans cet article une description claire du raccordement et de l'installation d'un sèche-serviettes. Cela se fait assez facilement et simplement. Des instructions étape par étape aideront tout le monde à comprendre les petites choses les plus simples.
Comment installer un sèche-serviettes "échelle"
Le schéma de connexion du modèle "en échelle" prévoit l'utilisation de telles méthodes de connexion de l'unité à la colonne montante, telles que diagonale ou latérale. Un modèle qui offre une dissipation thermique élevée, vous permet de décorer la salle de bain. Vous pouvez monter l'appareil vous-même sans connaissances particulières, mais avec un peu d'expérience. Il est nécessaire de connecter l'unité dans une séquence spécifique, rappelant les étapes d'installation pour un modèle de configuration simple. Pour installer correctement l'unité, vous devez tenir compte des nuances suivantes:
- Placez la sortie de la colonne montante en bas en dessous ou au niveau du point inférieur de l'appareil, et en haut - au-dessus du haut.
- Observez le niveau horizontal des tuyaux d'alimentation ou faites une pente égale à 5-10 mm sur toute la longueur afin que les bouchons d'air n'apparaissent pas.
- N'utilisez pas de tuyaux avec le plus petit diamètre pour la dérivation lorsque l'alimentation par le bas est sélectionnée.
- Sélectionnez des tuyaux pour un chauffage uniforme d'un diamètre d'au moins 25 mm, pour la fabrication desquels du polypropylène a été utilisé.
- Placez les tuyaux dans une isolation spéciale si vous envisagez de murer la canalisation dans le mur.
Lors de l'installation d'un contournement rétréci ou de son déplacement, la circulation naturelle fonctionnera simultanément avec la circulation forcée. Ce schéma présente le seul inconvénient, car seule la meilleure façon de connecter un sèche-serviettes est possible. L'option d'installation inférieure de l'unité est due à l'inopérabilité complète du système.
Installation d'un radiateur sèche-serviettes à eau
L'installation d'un sèche-serviettes avec un refroidissement par eau est préalablement coordonnée avec les services publics. Ceci est nécessaire pour déterminer l'heure à laquelle couper le service d'approvisionnement en eau. La connexion de l'unité aux communications générales est effectuée comme l'a fait le développeur.L'altération du système peut entraîner des chutes de pression et de température dans le réseau, moins souvent une dépressurisation de la ligne.
Les modèles à eau fonctionnent en se connectant à un réseau de chauffage ou à un système d'alimentation en eau chaude. Ainsi, la circulation du liquide de refroidissement à travers les tuyaux du sèche-serviettes est effectuée. Le choix de l'équipement est déterminé par la pression dans la ligne desservie :
- ancien fonds - 5-7 atm;
- nouveaux bâtiments - jusqu'à 10 atm;
- système autonome - en règle générale, en dessous de 1,5 atm.
Il est également nécessaire de lire les recommandations du fabricant. Ainsi, il existe des modèles inacceptables pour être connectés à l'alimentation en eau chaude. Dans ce cas, les unités destinées à être installées dans le système d'alimentation en eau peuvent être intégrées dans le circuit de chauffage. Et il existe des bobines pour l'installation dans n'importe quelle canalisation avec un milieu aqueux.

Raccordement de l'équipement à l'alimentation en eau chaude
Avant de raccorder un sèche-serviettes à un système d'alimentation en eau chaude ou en eau chaude, vous devez vous familiariser avec les avantages et les inconvénients des solutions. Ainsi, dans le premier cas, il y a une dépendance saisonnière et la présence d'un système avec un liquide de refroidissement à eau. Mais la circulation du média se produit 24 heures sur 24. Dans le second cas, le chauffage de l'unité se produit pendant l'utilisation active de l'eau chaude, c'est pourquoi les tuyaux sont sensiblement plus froids la nuit que pendant la journée. Mais l'équipement fonctionne toute l'année.
Le remplacement d'un sèche-serviettes dans un bâtiment avec service central par un analogue du développeur peut être effectué indépendamment. Il suffira de s'entendre sur la suspension de la circulation de l'eau. Si les appareils diffèrent de ceux d'origine, la rédaction et l'approbation des documents dans le logement et les services communaux seront nécessaires.
Pour comprendre comment connecter un sèche-serviettes, vous devez vous familiariser avec les exigences générales :
- le rétrécissement du diamètre de la source de liquide de refroidissement est inacceptable ;
- une dérivation est installée entre la colonne montante ou l'alimentation en eau et l'unité ;

L'emplacement de la dérivation devant le sèche-serviettes exclut l'installation de vannes d'arrêt sur le cavalier et dans la zone entre celui-ci et la ligne d'alimentation.
Le by-pass assurera le maintien de la circulation de l'eau dans le système central en cas de panne du sèche-serviettes. Si vous installez des vannes à bille devant l'équipement, vous pouvez réparera ou remplacement de l'appareil sans coordination de l'événement avec les services publics.
L'essentiel de la question
Dérivation installée en option
À la base, un sèche-serviettes chauffant n'est pas différent d'une batterie chauffante, représentant l'une de ses variétés. De plus, en règle générale, il est connecté à la colonne montante du système de chauffage général. À son tour, la dérivation est un cavalier entre les tuyaux d'entrée et de sortie avant que le liquide de refroidissement n'entre dans le dispositif de consommation. Dans le cas considéré, il s'agit d'un cavalier devant l'entrée du sèche-serviettes.
À quoi sert un tel élément et faut-il un by-pass lors de l'installation d'un sèche-serviettes dans la salle de bain? Le but principal d'un tel cavalier dans tout système est de fournir un canal pour le passage du fluide, en contournant l'appareil. Dans le cas d'un sèche-serviettes, l'installation d'un by-pass permet de résoudre des problèmes tels que diriger le flux de liquide de refroidissement autour de celui-ci lors de travaux de réparation et réduire la pression dans le sèche-linge si nécessaire.
De plus, grâce au canal supplémentaire formé, il est toujours possible de redistribuer la charge hydraulique, c'est-à-dire, si nécessaire, de réduire la pression directement dans les parties du sécheur.En particulier, dans le système de chauffage (en particulier lors des tests de pression), la pression dépasse parfois 9 à 10 atmosphères, ce que tous les séchoirs ne peuvent pas supporter. On peut noter un autre avantage : le by-pass permet de maintenir la température souhaitée pour assurer le séchage et d'installer des circuits de contrôle automatique et de maintenir le mode séchage.
En résumant ce qui a été dit, certaines conclusions peuvent être tirées. Un cavalier pour un sèche-serviettes n'est pas un élément obligatoire, dont l'installation est réglementée par les normes, mais d'un point de vue pratique, il est nécessaire d'éliminer les problèmes inutiles, ainsi que d'augmenter la fiabilité et la fonctionnalité de l'appareil . Cependant, il convient également de décider si un cavalier est toujours nécessaire.
Si le sèche-serviettes est connecté par insertion en série dans le réseau principal, un by-pass est nécessaire. Cette option est la plus courante en pratique. Dans le même temps, lorsque nous assemblons un système parallèle, la colonne montante elle-même joue le rôle de cavalier. Dans ce cas, le caloporteur se déplace le long du tuyau principal, indépendamment de la présence d'un circuit parallèle supplémentaire, et le sèche-serviettes chauffant peut être éteint sans bloquer la ligne commune.
Caractéristiques de conception
Le sèche-serviettes à eau proposé à la vente aujourd'hui peut être réalisé en différentes versions. Parmi les modèles disponibles à la vente aujourd'hui, le serpentin est particulièrement populaire, dont le point de raccordement est le système commun d'alimentation en eau chaude. Le plus souvent, ces appareils sanitaires se trouvaient dans des maisons de construction soviétique.
Si vous faites attention aux nouveaux bâtiments, il existe une autre option pour installer un sèche-serviettes, qui se résume à se connecter à une colonne montante d'eau chaude à l'aide d'une prise séparée. Cette option permet d'installer un porte-serviettes chauffant de n'importe quelle modification, du traditionnel en forme de U à la populaire "échelle"
Et parmi toutes les options disponibles aujourd'hui, c'est la dernière que l'on retrouve le plus souvent dans les appartements de nos concitoyens. Son intérêt est principalement dû à sa facilité d'utilisation, ainsi qu'à sa haute fonctionnalité. Pour connecter un tel produit de plomberie, vous aurez besoin des éléments suivants :
- vannes avec lesquelles l'eau sera coupée;
- système de circulation d'eau, présenté sous la forme de canalisations d'alimentation et de retour;
- bouchon d'arrêt ;
- soupape de décharge d'air ;
- un support avec lequel les appareils sanitaires sont montés sur le mur.
Instruction étape par étape
L'ordre d'installation et de connexion au système qui fournit l'alimentation en liquide de refroidissement ne dépend pas du schéma sélectionné.
Outils nécessaires
Le type d'outils est sélectionné en fonction du type de sèche-serviettes. Les bobines sont généralement fournies avec toutes les pièces nécessaires à l'installation. De plus, un fer à souder et un couteau peuvent être nécessaires si des tuyaux en polypropylène sont utilisés.
Démantèlement d'anciens équipements
Avant de procéder au démontage, il est nécessaire de coordonner ces travaux avec la société de gestion (si la batterie est installée au mur dans un immeuble). Ensuite, vous pouvez retirer l'ancien porte-serviettes chauffant.
Dans ce cas, deux options sont possibles :
- Les écrous-raccords sont dévissés, à travers lesquels le séchoir est fixé aux conduites d'alimentation.
- La bobine à l'aide d'un "broyeur" est coupée des alimentations. Le reste de ce dernier devrait suffire à couper le fil.
Dans les deux cas, la longueur des tuyaux d'alimentation doit être suffisante pour insérer le cavalier.
Comment installer correctement les vannes de dérivation et à bille
Vous pouvez accrocher un porte-serviettes chauffant sans cavalier. Cependant, la plupart des plombiers recommandent d'installer ce dernier. Le by-pass est monté sur des raccords prédécoupés dans les canalisations. Si nécessaire, des fils sont coupés sur les entrées. Si des travaux sont effectués sur des tuyaux en acier, le contournement de la même section est soudé à ce dernier. Des vannes à bille sont montées aux extrémités de la bobine. Dans ce cas, il peut également être nécessaire d'enfiler les anciens tuyaux.
Fixation
Comme mentionné ci-dessus, diverses fixations peuvent être utilisées pour installer des sèche-serviettes, quel que soit le type de serpentin.
supports
Les bras sont subdivisés en télescopiques et démontables. L'ordre d'installation de ces fixations dans les deux cas est le même. L'installation s'effectue comme suit: des marques sont appliquées sur le mur, le long desquelles des trous sont percés. Ensuite, un support est vissé dans ce dernier au moyen de chevilles et de vis. Les modèles télescopiques sont pratiques car ils fixent non seulement le porte-serviettes chauffant, mais vous permettent également de régler l'écart entre les tuyaux.
les soutiens
Comme les fixations amovibles, les supports peuvent être fixés au mur à l'aide de vis autotaraudeuses ou de vis vissées dans le mur. De tels éléments sont rarement utilisés pour fixer le tuyau de liquide de refroidissement, car ils créent certaines difficultés lors de l'installation.
Raccord
Des raccords sont utilisés pour fixer les tuyaux d'alimentation au sèche-serviettes. Il existe plusieurs types de ces fixations, dont chacune est utilisée dans les conditions appropriées: "américaine" (avec un écrou-raccord), des bouchons (fermer les entrées inutilisées), des collecteurs (créer une branche séparée), etc.
Installation, serrage "américain"
Des "américains" sont montés à la sortie du sèche-serviettes. Le fil avant de commencer le travail est traité avec une pâte d'étanchéité, puis les écrous sont serrés. Lors de l'exécution du dernier travail, il n'est pas recommandé d'appliquer des efforts excessifs.
marque
Afin de déterminer les points auxquels les trous pour l'installation des fixations seront percés, il est nécessaire de fixer le sèche-serviettes aux tuyaux de sortie, de l'aligner avec le niveau du bâtiment et de faire des marques appropriées sur le mur.
Préparation du trou
Lors de l'installation des bobines, il est recommandé de faire des trous profonds. Pour ce faire, vous devez percer un mur en béton. Ensuite, vous devez insérer des chevilles dans les trous obtenus, dans lesquels les vis des fixations seront vissées.
Fixation
Avant l'installation, des fixations sont placées sur les tuyaux du sèche-serviettes, qui sont ensuite vissés au mur avec des vis. Dans ce cas, il est recommandé d'utiliser des équerres, car ces dernières permettent, après installation, d'ajuster la position de la batterie en fonction du niveau et par rapport aux tuyaux d'alimentation et au mur.
Serrage des fixations
À la dernière étape, toutes les fixations et les raccords sont serrés avec une clé à molette. Avec une force excessive, vous pouvez dénuder les fils, à cause desquels vous devrez répéter la procédure décrite.
Pour vérifier les performances du système, vous devez ouvrir lentement, afin d'éviter les coups de bélier, les robinets d'arrêt d'entrée et de sortie.L'eau ne doit pas s'infiltrer au niveau des raccords de tuyauterie.
Choisir un schéma de connexion pour un sèche-serviettes à eau
Avant de commencer les travaux de plomberie, l'étape la plus importante dans l'installation d'un sèche-serviettes est le choix du schéma par lequel il sera connecté. Sans cela, la probabilité de commettre une erreur augmente, à cause de quoi le système sera inefficace ou ne fonctionnera pas du tout. Nous étudierons les schémas de base pour connecter les sèche-serviettes, les règles d'exécution et les lacunes typiques commises lors d'une installation illettrée.
Le schéma le plus simple et le plus fiable est celui dans lequel la "serviette" fait partie intégrante de la colonne montante et, en fait, sa ramification en forme de U ou d'une autre forme. Ainsi, les sèche-serviettes chauffants sont connectés dans la plupart des maisons avec un ancien système d'alimentation en eau (à moins que les propriétaires des appartements ne les aient remplacés par des modèles plus avancés).
Schéma de la connexion directe et la plus simple d'un sèche-serviettes à une colonne montante
La mise en œuvre du schéma présenté ci-dessus dans la pratique
Lors de l'utilisation de cette méthode de connexion d'un sèche-serviettes, le montage de vannes à bille ou d'autres éléments de verrouillage est inacceptable, car lorsqu'ils sont verrouillés, la colonne montante est bloquée et les voisins se retrouvent sans eau chaude. De plus, il réduit la pression et la température de l'eau pour les appartements suivants
Pour pouvoir éteindre le sèche-serviettes ou réguler la température de son fonctionnement sans interférer avec l'activité de la colonne montante, il est nécessaire de connecter un by-pass. Il sera discuté plus en détail dans la prochaine section de l'article.
Bypass exemples de connexion
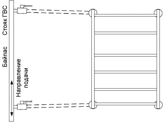
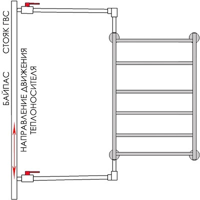
Considérons maintenant le premier schéma de connexion pour un sèche-serviettes avec des robinets et des dérivations - avec une alimentation latérale ou diagonale.La différence entre eux est insignifiante et le choix dépend de vos préférences personnelles. Le fonctionnement efficace d'un tel schéma de connexion est assuré lorsque les règles suivantes sont respectées.
- Lorsque le sèche-serviettes est situé à 2 mètres ou plus de la colonne montante, le raccordement de la sortie supérieure doit être plus haut que le point de connexion au sèche-serviettes, et celui du bas, respectivement, plus bas. Si la distance est moindre, les approches directes sont acceptables, sans pente.
- Les tuyaux reliant le porte-serviettes chauffant aux sorties ne doivent pas avoir de "bosses" - l'air commencera à s'y accumuler.
- Il est conseillé de couvrir les tuyaux d'alimentation avec une isolation thermique.
Schémas de raccordement d'un sèche-serviettes avec by-pass direct et robinets avec entrées latérales et diagonales, respectivement
Variante valide du schéma présenté ci-dessus
L'erreur la plus courante avec un schéma de raccordement latéral ou diagonal est qu'une «bosse» se forme dans le tuyau d'alimentation supérieur, dans lequel un sas se forme au fil du temps. Il bloquera la circulation de l'eau dans le sèche-serviettes, et il cessera d'être efficace.
S'il est impossible de disposer les tuyaux d'alimentation sans "bosse", montez une grue Mayevsky sur le porte-serviettes chauffant. Cela aidera à purger l'air du système après avoir éteint l'eau chaude ou branché
Une autre erreur qui n'est pas rare lors de la connexion des porte-serviettes chauffants sur le côté est que la circulation de l'eau y sera perturbée sous la sortie inférieure et qu'avec le temps, l'efficacité du travail diminuera au minimum.
Pour certains sèche-serviettes en forme de H et de plus grandes tailles, le schéma de connexion avec la connexion inférieure est utilisé, comme indiqué dans l'image ci-dessous.Quant à la connexion latérale ou diagonale, il existe plusieurs règles, dont la mise en œuvre assurera l'efficacité de l'ensemble du système de plomberie.
- Si le diamètre de la colonne montante est supérieur au diamètre de la dérivation ou si celle-ci est déplacée, le raccordement supérieur de la sortie doit nécessairement être situé en dessous du sèche-serviettes lui-même.
- Le raccordement inférieur à la contremarche doit être situé sous le porte-serviettes chauffant, quelles que soient les conditions.
- Il est conseillé de couvrir les tuyaux d'alimentation avec une isolation thermique.
- La présence de bosses dans les tuyaux d'alimentation n'est pas souhaitable - des embouteillages surviendront rapidement à ces endroits.
- Il est nécessaire de monter un robinet Mayevsky sur le sèche-serviettes.
Schéma de câblage d'un sèche-serviettes avec alimentation par le bas
Un exemple de connexion inférieure d'un sèche-serviettes. Comme la dérivation a le même diamètre que la colonne montante et n'est pas décalée, l'emplacement du raccordement supérieur de la sortie au-dessus du bas du sèche-serviettes est acceptable
Avec ce raccordement de la sortie inférieure, la circulation de l'eau dans le sèche-serviettes sera perturbée, avec le temps elle se refroidira et cessera de fonctionner
Moments de base
L'installation compétente de tout appareil sanitaire dans la salle de bain nécessite un spécialiste possédant des compétences professionnelles. Le fait est qu'il suffit de permettre à une petite erreur de mesure de causer de graves problèmes et problèmes de fonctionnement de l'appareil. Par conséquent, si vous êtes confronté à la tâche d'installer un sèche-serviettes, il est préférable que ce travail soit confié à un spécialiste qualifié.
Il y a des choses importantes à garder à l'esprit lorsque vous faites ce genre de travail :
- Lors de la prise de mesures, l'arrondi n'est pas autorisé ;
- Avant l'installation, il est nécessaire de sélectionner avec précision l'emplacement d'installation des appareils sanitaires;
- Il est obligatoire de l'utiliser dans la conception d'éléments tels que les accouplements, les raccords, les supports, etc.
- Assurez-vous de choisir le bon schéma de connexion pour l'appareil.
Erreurs fréquentes

Étant donné que le raccordement d'un sèche-serviettes n'implique pas de difficultés particulières, ils font souvent le travail eux-mêmes. Cependant, après l'installation, des problèmes surviennent toujours. Les causes possibles sont des erreurs de connexion.
- Retour (entrée inférieure) installé au niveau ou au-dessus du point de séchage inférieur. Le résultat est une stagnation du liquide de refroidissement.
- Installation du séchoir au-dessus de l'alimentation, dans ce cas, la circulation de l'eau est difficile.
- L'utilisation de tuyaux-fournitures avec des coudes. Le résultat est un sas qui empêche la libre circulation du liquide de refroidissement.
- Un schéma inacceptable lorsque les tuyaux de sortie et d'entrée sont inversés.
- Inadéquation des diamètres du riser, du liner, du serpentin.

Une nuisance courante est la présence d'air dans le système. Pour éviter de tels excès, une grue Mayevsky est installée pour le saigner. Cet appareil vous permettra de ne pas connaître de tels problèmes pendant toute la durée de vie d'une conception simple mais efficace pour le séchage.
Connecter un sèche-serviettes, ainsi que choisir le schéma optimal, ne peut pas être qualifié de très difficile, cette mission est réalisable par des artisans à domicile
L'important est de respecter les règles. Dans ce cas, le risque de rencontrer une erreur est minimisé.
Pour mieux comprendre l'opération "Raccorder un sèche-serviettes", il n'est pas inutile de voir et d'entendre à l'avance ce qu'en pensent les autres artisans et comment ils le font. Une des vidéos utiles peut être visionnée ici :
Installer un sèche-serviette électrique
Le principal avantage d'un sèche-serviettes électrique est la facilité d'installation. Comme tout appareil électrique mural, il doit être accroché au mur et raccordé au secteur. Il reste à allumer l'appareil lui-même et à l'utiliser conformément à sa destination.
Une exigence importante est le respect des règles de sécurité électrique
Un tel appareil doit être connecté uniquement via le soi-disant «dispositif automatique» ou RCD - un dispositif à courant résiduel. Si la prise de connexion de l'appareil doit être installée directement dans la salle de bain, veillez à utiliser un appareil spécial avec protection contre l'humidité.
Une telle prise est montée dans l'épaisseur du mur, elle a un couvercle spécial. De plus, l'appareil doit être mis à la terre.
Lors de l'installation d'un sèche-serviettes électrique, des prises spéciales avec une protection accrue contre l'humidité doivent être utilisées. Connectez un tel appareil via un RCD
On pense que l'option avec un sèche-serviettes électrique n'est pas économiquement viable par rapport aux modèles à eau, car elle augmente les factures de chauffage. Cependant, la puissance de ces appareils n'est pas si grande, tout comme la consommation d'électricité.
C'est suffisant pour sécher un tissu éponge humide, mais cela ne convient pas très bien comme radiateur de salle de bain.
Le choix t'appartient!
Installation de différents types de sèche-serviettes

Pour considérer les caractéristiques d'installation des sèche-serviettes, il est nécessaire de se rappeler les types d'appareils, le principe de leur fonctionnement et le type de liquide de refroidissement dépend du schéma de connexion du sèche-serviettes et de la quantité de travail.
L'installation d'un sèche-serviettes électrique est une tâche simple et rapide.En fait, son installation n'est pas différente de l'installation de n'importe quel produit électrique, par exemple, de connecter un lustre
Il est important de tendre correctement le câblage électrique et de fixer solidement le sèche-serviettes au mur.
L'installation d'un sèche-serviettes à eau est la tâche la plus difficile associée à la fermeture de la colonne montante et nécessitant, sinon de l'expérience, du moins une compréhension de ses propres actions.
Selon la complexité des travaux, l'installation d'un sèche-serviettes combiné est classée comme chauffe-eau, car le produit combine deux types de liquide de refroidissement et, en plus de se connecter à une alimentation en eau chaude ou à un système de chauffage, nécessite également une alimentation électrique. lien.
Je ferai une réserve sur une caractéristique importante de la connexion d'un sèche-serviettes. Les experts recommandent de connecter un sèche-serviettes spécifiquement au système d'alimentation en eau chaude pour une raison simple: le chauffage est absent dans les appartements des immeubles d'habitation pendant six mois et il est assez difficile de rester sans sèche-serviettes, car sa fonction principale ne chauffe toujours pas la pièce, mais sèche les vêtements














































