- Quel appareil de chauffage peut être acheté
- Clochard TRG-037
- Pathfinder Dixon 2.3
- Échangeurs de chaleur à gaz de la série Pathfinder
- Échangeur de chaleur à faire soi-même pour une tente d'hiver
- Préparation des tuyaux d'échange de chaleur
- Assemblage du boîtier
- Travailler avec la partie électrique
- Les meilleurs échangeurs de chaleur d'usine
- Comment faire des radiateurs à gaz pour les chalets d'été
- Quel devrait être un chauffage au gaz
- Types de chauffage au gaz
- Comment faire un radiateur
- Nous assemblons une lampe chauffante de nos propres mains
- Mode opératoire
- Caractéristiques de l'échangeur de chaleur pour tente
- Instructions étape par étape sur la façon de le faire vous-même
- Avantages des échangeurs de chaleur pour les tentes d'hiver
- extinction d'étincelles
- Faire un système de vos propres mains
- Types d'unités de chauffage maison
- Dimensions et caractéristiques du poêle pour la tente
- Poêle à ventre fait maison
- déchiqueteuse
Quel appareil de chauffage peut être acheté
Voici quelques modèles d'échangeurs de chaleur qui ont la cote sur le marché des équipements touristiques.

Le modèle Kovea Littl san fabriqué en Corée du Sud est recommandé pour une utilisation dans les tentes.
La conception utilise plusieurs nouvelles solutions technologiques qui augmentent l'efficacité de l'appareil. Un émetteur en céramique et une plaque chauffante pour une bouteille de gaz sont utilisés. Le chauffage primaire de la pièce s'effectue en mode forcé, puis l'appareil passe en mode économique.Alimentation par une bouteille de gaz à pince.
Clochard TRG-037
Le radiateur portable à gaz Tramp TRG-037 est conçu pour chauffer des espaces clos tels que des tentes de camping, des remorques, des intérieurs de voiture, etc. La puissance de sortie est d'environ 1,3 kW, la consommation de gaz est d'environ 100 g/1 heure de fonctionnement.
Recommandé pour une utilisation dans des zones bien ventilées.
Pathfinder Dixon 2.3
Équipé d'une surface rayonnante en céramique avec une température de chauffage allant jusqu'à 900 degrés. Dans ce cas, la consommation de gaz est de 0,068 mètre cube par heure. Le poids du brûleur est de 1 kilogramme. Puissance - 2,3 kW. Surface chauffée jusqu'à 12 mètres carrés.

Le radiateur compact Pathfinder Dixon 2.3 a été créé spécifiquement pour les conditions de la Russie.
Échangeurs de chaleur à gaz de la série Pathfinder
Les échangeurs de chaleur à gaz portables de la série Pathfinder sont fabriqués en Russie, en tenant compte de toutes ses caractéristiques climatiques. Le produit utilise des technologies innovantes qui peuvent améliorer considérablement les caractéristiques de poids (370 grammes) et la consommation d'énergie - 50-110 grammes par heure. Le complexe d'échangeurs de chaleur chauffe efficacement une surface allant jusqu'à 20 mètres carrés.

L'appareil est idéal pour une utilisation dans des tentes, des tentes, ainsi que dans des locaux domestiques sans chauffage, même en hiver.
Échangeur de chaleur à faire soi-même pour une tente d'hiver
Fabriquer un échangeur de chaleur pour une tente de vos propres mains n'est pas difficile. Les coûts de métal seront minimes, la fabrication artisanale sera plus rentable que ses homologues d'usine. Dans la fabrication de produits faits maison, une précision fantastique dans l'observation des dimensions n'est pas requise - il ne s'agit pas d'une chaudière à double circuit, mais de l'échangeur de chaleur fait maison le plus simple dans une tente pour se détendre et pêcher dans des conditions hivernales froides.
Il est préférable de fabriquer un échangeur de chaleur pour une tente d'hiver à partir de tubes en acier inoxydable et en aluminium. Si aucun n'est disponible, trouvez un tuyau métallique à paroi mince d'un diamètre d'environ 20 mm et une tôle de 1 mm d'épaisseur. Vous aurez également besoin d'une machine à souder et d'une perceuse avec un foret à métal d'un diamètre approprié. L'assemblage ne vous prendra pas beaucoup de temps, l'installation peut être effectuée en une journée seulement.

Toutes les tailles sont plutôt indicatives, vous pouvez facilement changer quelque chose spécifiquement pour vos besoins.
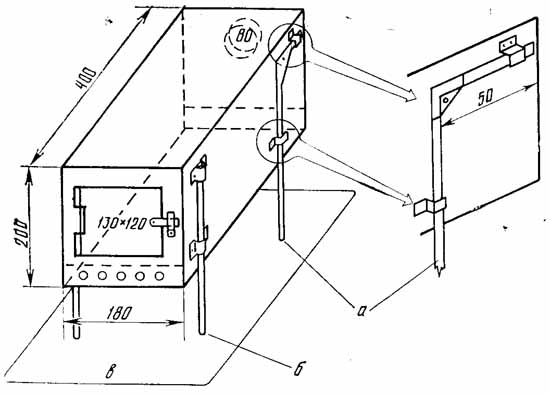
Préparation des tuyaux d'échange de chaleur
Notre première tâche consiste à construire l'échangeur de chaleur lui-même à l'image et à la ressemblance de son homologue à tube de fumée. Pour ce faire, vous devez prendre deux coupes rectangulaires de tôle et y marquer des trous pour les tubes d'échange de chaleur. Nous vous recommandons de faire trois rangées en damier - cinq tubes dans les rangées du haut et du bas, quatre tubes dans la rangée du milieu. La tâche la plus difficile consiste à souder les tubes des deux côtés à deux feuilles de métal.
Assemblage du boîtier
Ensuite, nous assemblons le corps à partir de quatre autres segments. Dans la partie supérieure, nous faisons un trou pour la cheminée. Il doit être pensé pour que la cheminée puisse être facilement retirée. Nous soudons le capot supérieur à notre échangeur de chaleur, soudons les capots latéraux sur les côtés. Il est trop tôt pour essayer de chauffer la tente d'hiver - vous devez faire des jambes.
Il est préférable que les jambes soient repliées, mais vous pouvez vous en passer. Faites-les à partir de fines tiges métalliques (fil), en mesurant leur longueur, n'oubliez pas de prendre en compte la hauteur du poêle / brûleur utilisé. En conséquence, la partie inférieure de notre échangeur de chaleur pour une tente d'hiver n'est pas continue - il y a une découpe dans laquelle les chambres à air sont visibles.C'est par cette découpe que la flamme et la chaleur vont pénétrer dans notre appareil.
Travailler avec la partie électrique
Un bon ventilateur est nécessaire pour faire fonctionner l'échangeur de chaleur d'une tente d'hiver. Nous vous recommandons de prendre une glacière puissante d'un diamètre de 120 mm à partir d'un ordinateur de bureau. Ces refroidisseurs ont un bon débit et un niveau de bruit minimal. Nous soudons des fixations appropriées à l'arrière de notre échangeur de chaleur, fixons le ventilateur, soudons de longs conducteurs à connecter à la batterie (ShVVP 2x0,75 convient).
Maintenant, tout est prêt pour démarrer l'échangeur de chaleur. Nous le plaçons dans une tente d'hiver, connectons la cheminée et l'amenons à l'extérieur, plaçons le poêle / brûleur par le bas. Nous connectons la bouteille de gaz, mettons le feu au gaz, allumons la glacière et attendons qu'elle se réchauffe. Jusqu'à ce que le métal brûle, une odeur désagréable est possible. Après 10-15 minutes, notre appareil entrera en mode de fonctionnement - ajustez la température de l'air en ajustant le poêle / brûleur.
Achetez un échangeur de chaleur prêt à l'emploi pour une tente d'hiver ou assemblez un produit fait maison - c'est à vous de décider. Mais une solution maison est moins chère et, en termes de fiabilité, elle n'est pas inférieure à ses homologues d'usine.
Les meilleurs échangeurs de chaleur d'usine
Cet équipement est apparu sur le marché de la pêche relativement récemment, vous ne verrez donc pas une grande variété dans les magasins. Mais parmi ce qu'ils proposent, vous pouvez choisir un appareil qui répond à toutes les exigences d'une pêche hivernale rigoureuse. Nous listons les modèles les plus populaires :
-
SIBTERMO ST-4.5 est un produit des maîtres d'Omsk, qui est maintenant appelé un best-seller. L'échangeur de chaleur est en alliage d'aluminium, qui a une bonne conductivité thermique. En raison de la convention naturelle, il est capable de chauffer non seulement une tente d'hiver, mais également un petit espace de vie.Absolument inoffensifs pour la santé, les gaz d'échappement sont évacués à l'extérieur. L'alimentation en air est assurée par trois ventilateurs fonctionnant à partir d'une tension de 12V. Le boîtier de l'appareil est recouvert d'une peinture résistante à la chaleur. Le kit comprend un brûleur à gaz infrarouge, mais les tuyaux et une bouteille de gaz devront être achetés séparément. Le poids total de l'appareil est de 7,4 kg. Le SIBTERMO ST-4.5 coûte un peu plus de 200 $, mais le prix se justifie. Surtout lors de la pêche à des températures extrêmement basses.
-
L'EAU SÈCHE est un excellent échangeur de chaleur en acier inoxydable avec des tubes en aluminium à l'intérieur, qui assurent un bon transfert de chaleur. Équipé d'un ventilateur avec la possibilité de régler la puissance (il y a un gradateur), le nombre maximum de tours par minute est de 3100. Le ventilateur est protégé contre la surchauffe par un rideau de barrière spécial. Le tuyau de sortie de l'appareil est situé dans la partie inférieure du corps, ce qui augmente considérablement l'efficacité grâce à la rétention des gaz chauds. Les développeurs recommandent d'utiliser un brûleur infrarouge de 2,3 kW pour cet échangeur de chaleur. Il n'est pas inclus dans le kit, donc DRY WAY coûte la moitié du prix du modèle décrit ci-dessus. Si nous ajoutons un petit poids (seulement 2,9 kg), la fiabilité, la durabilité et la facilité d'utilisation au prix abordable, nous pouvons affirmer sans risque qu'il s'agit de l'une des meilleures options.
-
DESNA BM est un autre bon appareil avec un, mais un grand refroidisseur qui assure la circulation de l'air dans la tente. Cet appareil peut fonctionner en deux modes : automatique et turbo. La source d'alimentation est une batterie de 12 volts ou un ensemble de batteries. L'échangeur de chaleur démarre simplement, il vous suffit de l'installer au-dessus du brûleur, de mettre la cheminée, de brancher le ventilateur, d'allumer le brûleur et de vérifier le tirage.Lors du premier démarrage, il est nécessaire d'assurer une bonne ventilation, car des odeurs étrangères sont possibles. Après une demi-heure de travail, ils disparaîtront. On pense que l'efficacité de cet échangeur de chaleur est supérieure à celle de la plupart des concurrents. C'est-à-dire qu'il chauffe rapidement l'air à une température élevée, mais en même temps, malheureusement, il se réchauffe. Toucher accidentellement un corps chauffé à 130 degrés provoquera de graves brûlures. Il est strictement interdit d'installer un tel appareil à proximité de matériaux inflammables. Et après avoir éteint le brûleur à gaz, il refroidit longtemps, même si vous laissez le ventilateur allumé à pleine puissance.
Et les échangeurs de chaleur d'usine répertoriés pour la pêche hivernale, et ceux qui ne figuraient pas dans la liste, s'acquittent de leur tâche à peu près de la même manière. Par conséquent, lors du choix, en plus de la capacité de «produire» de l'air chaud et sec (le niveau de rayonnement thermique), il convient de prendre en compte d'autres caractéristiques de l'appareil. Par exemple, ses dimensions et son poids. Il ne doit pas être trop lourd, prendre beaucoup de place et interférer avec le processus de pêche.
Comment faire des radiateurs à gaz pour les chalets d'été

Populaires parmi les propriétaires de zones suburbaines, les radiateurs électriques consomment, malheureusement, pas mal d'énergie. L'opération de leurs propriétaires de datcha est dans la plupart des cas très coûteuse. Cependant, comme alternative à de tels dispositifs, des radiateurs à gaz beaucoup moins chers peuvent être utilisés.
Vous pouvez fabriquer de tels équipements pour votre maison de campagne, si vous le souhaitez, de vos propres mains. Il existe plusieurs technologies pour la fabrication des appareils de chauffage au gaz. En principe, il sera relativement facile de fabriquer de tels dispositifs pour se donner.Mais les équipements auto-assemblés de ce type doivent bien sûr répondre pleinement à certaines exigences de sécurité et être faciles à utiliser.
Quel devrait être un chauffage au gaz
Un appareil de chauffage de haute qualité et sûr de ce type ne peut être envisagé que si :
- les éléments chargés de l'alimentation en gaz sont fabriqués en usine ;
- sa conception met en œuvre des méthodes d'activation/désactivation simples ;
- L'appareil n'est pas trop complexe.
Dans de nombreux cas, les appareils de chauffage au gaz, entre autres, sont équipés de cheminées chargées d'évacuer les produits de combustion. De tels ajouts ne sont pas utilisés uniquement lors de l'assemblage d'un appareil de très faible puissance utilisé pour chauffer de petites pièces.
Types de chauffage au gaz
Des équipements de ce type peuvent être installés dans des maisons de campagne:
Le premier type d'appareils de chauffage au gaz de campagne est connecté soit à des autoroutes centralisées, soit à de grandes bouteilles standard. Les appareils mobiles de ce type peuvent, si nécessaire, être transférés d'une pièce à l'autre ou, par exemple, d'une maison à une grange, un garage, une serre. Ces appareils de chauffage sont connectés à de petits cylindres.
Comment faire un radiateur
La fabrication de ce type de dispositif est une procédure relativement simple. Si vous le souhaitez, vous pouvez fabriquer de vos propres mains un chauffage au gaz mobile et un chauffage fixe. Mais le plus souvent, ils fabriquent leurs propres appareils de chauffage au gaz portables, bien sûr.
Par la suite, un tel appareil peut être utilisé non seulement directement dans le pays, dans un garage ou une grange, mais, par exemple, même dans une tente pour la pêche ou la chasse.Il n'est pas difficile de fabriquer un appareil de chauffage au gaz de vos propres mains, y compris en utilisant divers types de matériaux improvisés. Par exemple, à cet effet, vous pouvez adapter :
- ballon de collet;
- réchaud plat mobile à gaz;
- tuyau et brûleur à gaz.
Dans tous ces cas, le radiateur finira par s'avérer assez fiable et, bien sûr, peu coûteux.
Nous assemblons une lampe chauffante de nos propres mains
De quoi as-tu besoin:
- Pots en céramique (fleurs) trapézoïdaux avec un diamètre extérieur du fond 50, 100 et 150 mm, 1 pc. Dans ce cas, le plus petit pot doit être environ 25 mm plus bas que le grand.
- Goujon fileté d'un diamètre de 6-12 mm. Il doit passer par les trous de chaque pot. Si nécessaire, percez les trous au diamètre souhaité avec une perceuse sur le carrelage.
- Rondelles pour une épingle à cheveux avec un diamètre extérieur égal au diamètre intérieur du fond du plus petit pot - 20 pcs. Noix 7-8 pcs.
- Cadre, suspension ou support de toute forme répondant aux exigences techniques (conditions) décrites ci-dessous.
- En option - mastic de cheminée ou joints incombustibles (paronite).
Mode opératoire
1. Nous installons le goujon dans le trou du plus grand pot et vissons l'écrou à l'extérieur.
2. Nous mettons plusieurs rondelles sur le goujon à l'intérieur du pot, fixons-le avec des écrous si nécessaire.
3. Installez le pot du milieu sur l'épingle à cheveux.
Attention! Les bords extérieurs des petits pots doivent être à l'intérieur du dôme des plus grands à une profondeur de 20-25 mm. 4. Nous fixons le pot du milieu avec des rondelles et des écrous
Nous fixons le pot du milieu avec des rondelles et des écrous
4. Nous fixons le pot du milieu avec des rondelles et des écrous.
5. Nous exposons et fixons un petit pot.
6. Les bords des trois dômes doivent rentrer vers l'intérieur par pas de 20 à 25 mm. Nous ajustons la profondeur d'atterrissage en ajoutant des rondelles et des écrous.
sept.Si la distance d'un fond à l'autre est sensiblement grande, nous la remplissons de rondelles en quinconce - cela donnera une plus grande conductivité thermique de la tige.
8. Nous installons la structure au-dessus de la bougie de sorte que la tige de la broche soit située strictement au-dessus de la flamme à une hauteur de 30 à 50 mm.
9. Un ajustement supplémentaire est effectué empiriquement sur la base d'observations.
Utilisation de joints et de produits d'étanchéité. Faisant l'éloge de la céramique, nous avons contourné avec tact son inconvénient le plus gênant - la fragilité (causticité). Même une brique solide s'effrite lorsqu'elle tombe sur du béton, que dire, et des pots de fleurs
Lors du montage de la lampe, vous devez serrer très soigneusement les écrous - cela vaut la peine de tirer un peu et le mur éclatera. Il existe également un risque de fendillement accidentel pendant le fonctionnement ou au moment du transport. Le métal dur du goujon émiette la céramique et peut se fendre
Pour adoucir leur contact, utilisez du mastic ou des joints ininflammables
Le métal dur du goujon émiette la céramique et peut la fissurer. Pour adoucir leur contact, utilisez du mastic ou des joints ininflammables.
Caractéristiques de l'échangeur de chaleur pour tente
Il existe une grande variété de poêles pour tentes touristiques. Avec tous leurs avantages, la plupart des conceptions présentent un certain nombre d'inconvénients: tout d'abord, ils n'évacuent pas les produits de combustion vers l'environnement extérieur et, en outre, nombre de ces appareils de chauffage fournissent de la chaleur avec de l'humidité. L'échangeur de chaleur est dépourvu de telles lacunes - un appareil léger de petites dimensions qui peut chauffer en toute sécurité une tente touristique ou une autre pièce.
Contrairement à de nombreux autres poêles portables, l'échangeur de chaleur évacue les produits de combustion vers l'extérieur, il n'est donc pas nécessaire d'ouvrir la tente pour de l'air frais tout en perdant une chaleur précieuse. Pour assurer la sortie des produits de combustion dans la partie supérieure de la tente, il doit y avoir une trappe. Comme tout autre appareil, les échangeurs de chaleur présentent à la fois des avantages et des inconvénients.
- Les premiers à être mis en avant sont :
- chauffer la tente ne prend pas beaucoup de temps;
- l'appareil donne de la chaleur sèche (pas de dégagement d'humidité);
- l'énergie thermique libérée par le brûleur, en plus grande quantité, par rapport aux appareils de chauffage d'autres types, est dépensée spécifiquement pour chauffer la pièce, et non à d'autres fins - pour faire simple, l'appareil a un rendement élevé;
- peut fonctionner avec des brûleurs à gaz de tout type;
- dimensions compactes.
- Il faut dire à propos des inconvénients caractéristiques des appareils de chauffage de ce type:
- malgré sa taille compacte, l'appareil nécessite encore une certaine quantité d'espace ;
- l'alimentation électrique est requise ;
- une cheminée de haute qualité et son retrait de la tente est nécessaire.
En résumé, il convient de dire que ce type de chauffage est une option idéale pour les amateurs de plein air qui ont la possibilité d'emporter avec eux des appareils supplémentaires et des gadgets connexes. C'est-à-dire que l'échangeur de chaleur doit être choisi en premier lieu par les autotouristes (pêcheurs, chasseurs, etc.).
Instructions étape par étape sur la façon de le faire vous-même
Vous pouvez fabriquer vous-même un échangeur de chaleur de vos propres mains, les coûts de production seront minimes, tandis que l'unité elle-même ne sera pas inférieure à ses homologues d'usine en termes de performances.
Pour assembler l'échangeur de chaleur, vous aurez besoin de :
- tubes en aluminium et en acier;
- Machine de soudage;
- percer pour le métal.
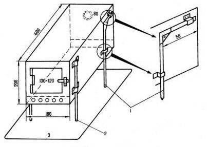
Sur le schéma, vous pouvez voir la conception la plus populaire pour un échangeur de chaleur, facile à fabriquer à la maison.
Opinion d'expert
Knipovitch Nikolaï Mikhaïlovitch
Zoologiste, hydrobiologiste
Je suis pêcheur professionnel.
Important! Toutes les dimensions indiquées sont recommandées et vous pouvez les modifier en fonction des caractéristiques attendues de l'appareil.Le processus d'assemblage selon le dessin comprend les étapes suivantes :
Le processus d'assemblage selon le dessin comprend les étapes suivantes :
Installation de tuyaux d'échange de chaleur entre deux feuilles d'aluminium ou d'acier inoxydable. Il est souhaitable de disposer les tubes en damier, il suffira de faire cinq tubes dans les coins supérieur et inférieur, ainsi que 4 tubes dans la rangée du milieu. Le soudage est plus facile à faire avec une machine à souder.
Le corps de l'échangeur de chaleur est assemblé à partir de quatre pièces métalliques. Gardez à l'esprit que dans la partie supérieure, il doit y avoir un trou spécial pour connecter un tuyau pour l'évacuation des produits de combustion, les pieds sont soudés dans la partie inférieure du corps pour plus de stabilité.
Pour un meilleur échange d'air chaud à l'intérieur de la tente, il est conseillé d'équiper l'échangeur de chaleur d'un ventilateur
Vous pouvez utiliser n'importe quel refroidisseur à partir d'un ordinateur, veuillez noter que pour alimenter le ventilateur, vous devrez également acheter une batterie de capacité appropriée.
Vérification de la santé de l'équipement. Si au premier démarrage vous sentez une odeur métallique désagréable, pas de panique, le métal devrait griller
Après 2-3 démarrages, l'odeur disparaîtra.
Un appareil fait maison peut être utilisé avec des brûleurs à gaz ou équipé comme un four avec une chambre supplémentaire pour le chargement de combustible sec.
Avantages des échangeurs de chaleur pour les tentes d'hiver
Voyons à quel point ces appareils sont bons :
- Chauffage accéléré de l'espace intérieur de la tente;
- Pas d'excès d'humidité ;
- Absorption plus efficace de la chaleur générée par le brûleur ;
- Compatible avec tout type de brûleurs à gaz ;
- Design compact;
- Cheminées intégrées pour évacuer les produits de combustion.
Il y a aussi des inconvénients :
- Occupe de l'espace libre ;
- Nécessite de l'énergie ;
- Nécessite une bonne cheminée et sa sortie à l'extérieur de l'espace tente.
Les échangeurs de chaleur sont idéaux pour les voyageurs et les amateurs de pêche sur glace qui ont la capacité de transporter avec eux un grand nombre d'appareils auxiliaires et d'accessoires, par exemple dans une voiture.
extinction d'étincelles
Toute tente a un trou pour une cheminée chaude (cheminée). De plus, la zone autour du four est toujours protégée par un tapis réfractaire en cas de fuite de charbons ardents. Certains fabricants de tentes recommandent de rouler la base de la tente et de la placer directement sur le sol.
Non seulement le dioxyde de carbone chaud monte à travers le tuyau de cheminée du four, mais aussi des étincelles. Si le tuyau est court, ils peuvent monter sur le toit de la tente et provoquer un incendie. Pour éviter que cela ne se produise, le tuyau de cheminée est long afin qu'il contienne au moins 2 à 2,5 m Pendant que l'étincelle vole le long de ce chemin, elle aura le temps de s'éteindre. Par conséquent, la cheminée agit comme un pare-étincelles.
De plus, les mesures de sécurité signifient que tous les objets susceptibles de prendre feu doivent être tenus à l'écart d'un poêle en état de marche. Un autre danger est le monoxyde de carbone. Il doit aller directement dans la cheminée. Et la tente elle-même doit être conçue de manière à ce que de l'air pur y pénètre régulièrement.
Faire un système de vos propres mains
Fabriquer un échangeur de chaleur pour la pêche de vos propres mains est beaucoup plus facile qu'il n'y paraît à première vue. Et bien que certains pêcheurs pensent qu'il est plus sage d'acheter une conception prête à l'emploi et peu coûteuse, les artisans n'abandonnent pas, continuant à produire une grande variété de conceptions avec des propriétés de travail uniques et une efficacité de travail.
Ce n'est pas surprenant, car cette approche se justifie par de nombreuses raisons :
- Le pêcheur peut réaliser des économies financières. Un appareil de chauffage fait maison est beaucoup moins cher que les modèles en magasin. Et si nous parlons de résidents de localités éloignées qui ne peuvent tout simplement pas se rendre dans un point de vente spécialisé où il existe un équipement professionnel pour la chasse et la pêche, alors, bien sûr, vous devez commencer à travailler par vous-même.
- En fabriquant un échangeur de chaleur de vos propres mains, vous pouvez lui donner un certain ensemble de fonctionnalités. Dans ce cas, vous pouvez simplement mettre à niveau le modèle acheté ou essayer de créer un design à partir de zéro.
- Si vous fabriquez un système à la maison à partir de moyens improvisés, cela élargira considérablement vos capacités et vous permettra d'acquérir de nouvelles compétences. Soit dit en passant, de nombreux artisans ne peuvent pratiquement pas imaginer leur vie sans des expériences constantes dans l'atelier.
Types d'unités de chauffage maison
Actuellement, les pêcheurs utilisent plusieurs options pour chauffer une tente :
- "Chauffage au poêle". Les unités à combustible solide ont toujours été populaires, surtout lorsqu'il s'agit de ceux qui aiment construire quelque chose de leurs propres mains.Cependant, les indicateurs de sécurité et de commodité opérationnelle ne correspondent pas toujours à ceux souhaités, de sorte que le pêcheur doit être constamment en service dans une telle conception. Oui, et il est impossible de ramasser du bois de chauffage dans l'obscurité, ce qui vous oblige à apporter une certaine quantité de combustible solide avec vous au réservoir. Dans le même temps, trop de dégagement de chaleur entraîne souvent le givrage de la tente et d'autres conséquences désagréables.
- Échangeur de chaleur à gaz. Il est considéré comme un moyen de chauffage plus raisonnable et plus pratique. En l'utilisant, vous perdez la nécessité d'équiper un système d'évacuation des fumées, qui est obligatoire dans le cas précédent. De plus, ces brûleurs sont sûrs et compacts.
Les débutants qui veulent savoir comment fabriquer un échangeur de chaleur à faire soi-même pour la pêche doivent préparer les matériaux et composants suivants :
- Un brûleur à gaz qui prend en charge la possibilité de régler manuellement l'alimentation en gaz.
- Petite bouteille de gaz.
- Tuyau d'oxygène à partir de 50 centimètres de long.
- Élément chauffant infrarouge en céramique qui correspond aux dimensions du brûleur prises précédemment.
Tout d'abord, vous devez retirer les buses du brûleur et ne laisser que le robinet et le tube. Ensuite, le tuyau doit être mis sur le tube et le raccord du brûleur, mais le combustible doit rester à l'état gazeux, de sorte que le cylindre reste debout.
Naturellement, de nombreuses autres conceptions et solutions sont proposées sur les forums de pêche, mais cette option est la plus populaire, en particulier parmi les amateurs de plein air pendant la saison froide.
Dimensions et caractéristiques du poêle pour la tente
Les fournaises sont disponibles dans une variété de tailles et de configurations. Afin de ne pas faire d'erreurs dans les calculs, vous devez connaître exactement 3 facteurs principaux:
- la taille de la tente à chauffer;
- la capacité de charge totale de l'équipement avec le four ;
- durée du parcours.
Important! Il est interdit de laisser un poêle en marche la nuit lorsque personne ne surveille le feu. Si vous voulez le laisser allumé, prévoyez des heures de service pour que quelqu'un garde un œil sur les flammes et l'air pur.
Les dimensions approximatives d'un réchaud de camping ou de pêche sur glace seraient les suivantes :
Les dimensions approximatives d'un réchaud de camping ou de pêche sur glace seraient les suivantes :
- diamètre du tuyau - environ 86 mm;
- taille du corps (four) - 25 × 25 × 50 cm;
- volume du four - 30 l;
- le nombre de tuyaux pour la cheminée - 3;
- longueur du tuyau - 50–70 cm;
- tuyau avec un coude - 1 pc .;
- le poids approximatif est de 5 kg.
Bien sûr, lorsque vous fabriquez un poêle de vos propres mains, vos dimensions peuvent être différentes. L'essentiel est de se soucier des performances de la structure après assemblage.
Poêle à ventre fait maison
Au début du 20e siècle, un poêle à ventre s'appelait un poêle à bois en métal, qui était installé à l'intérieur. Les produits de combustion étaient évacués par la cheminée à travers la fenêtre. Le réchaud de camping a le même principe de fonctionnement, sauf qu'il a une taille plus compacte. Les combustibles dans les deux cas sont des copeaux, de la sciure de bois, de petits morceaux de bois. La température moyenne de la surface latérale atteint 100-150 degrés, dont vous devez vous souvenir lorsque vous cuisinez.
Important! En cas de problèmes de soudage des tôles d'acier galvanisé, poncez les zones à souder. Le retrait de la couche galvanisée permettra de réaliser des joints, mais réduira quelque peu la durée de vie utile du produit, car il sera plus sensible à la corrosion.
Instructions pour fabriquer un four:
Instructions pour fabriquer un four:
- Prenons un modèle. Dessinez un dessin ou un diagramme indiquant les dimensions exactes du produit fini.Marquez la tôle et les tuyaux avec un marqueur à l'endroit où vous souhaitez faire des coupes dans le métal.
- Dans la partie supérieure, faites un trou de diamètre correspondant au tuyau qui deviendra la cheminée.
- Coupez le tuyau en plusieurs morceaux afin qu'ils puissent être pliés à l'intérieur du poêle lors du transport. À une extrémité, faites des coupes et pliez les pétales résultants vers l'intérieur. Cela vous permettra d'insérer une extrémité de la cheminée dans l'autre.

déchiqueteuse
Une déchiqueteuse à bois est un petit réchaud que vous pouvez emporter avec vous lors d'une randonnée d'été ou d'automne pour 2 personnes. C'est un petit cylindre. Dans sa partie inférieure se trouve une grille, sur le côté se trouve une ouverture pour l'alimentation en air et le maintien de la combustion. Une grille est installée sur le dessus, sur laquelle un récipient contenant de la nourriture est placé.
Le saviez-vous? On pense que le transfert de chaleur d'un four rond ou ovale est supérieur à celui d'un four carré. Mais les touristes ne pourront pas utiliser le modèle en forme de cylindre pour cuisiner.
Un trou est également fait sur le côté dans lequel le carburant sera jeté. A ce titre, des cônes, des copeaux, des petites branches sont utilisés. Le poêle peut être équipé de pieds qui ménagent un espace entre la grille inférieure et le sol. Les pieds garantissent également la stabilité et permettent aux cendres brûlées de se répandre librement.
Les copeaux de bois peuvent être rectangulaires, cylindriques, triangulaires et de toute autre conception. L'essentiel est de déterminer s'il est nécessaire lors d'un voyage particulier, car il est trop petit pour cuisiner pour plus de 3 personnes. Et bien sûr, il ne convient pas au chauffage hivernal de la tente.
Découvrez également les caractéristiques d'un réchaud à gaz pour une tente.
Mais la version la plus simple de cette conception est une boîte de conserve.Des trous sont pratiqués le long du périmètre dans la partie inférieure à travers lesquels l'air se déplacera. Une paire de trous est percée dans la partie inférieure pour verser la cendre. Le carburant est appliqué à l'intérieur de la structure et une grille est installée à sa surface, sur laquelle une bouilloire ou une bouilloire est placée.











































