- Commutateur d'huile VMP-10
- Type de commutateur VMP-10
- Portée du disjoncteur VMP-10
- La structure du symbole du disjoncteur VMP(E)-10-X/X U2
- Principaux types de disjoncteurs à huile
- Commutateurs de réservoir d'huile
- Disjoncteurs à faible niveau d'huile
- Caractéristiques de conception et principe de fonctionnement
- Efficacité
- Règles de fonctionnement MT
- 2.4. Classement des disjoncteurs
- Le principe de fonctionnement du disjoncteur à trois réservoirs
- Principaux types de disjoncteurs à huile
- Commutateurs de réservoir d'huile
- Disjoncteurs à faible niveau d'huile
- Classification des interrupteurs à huile
- Avantages et inconvénients des interrupteurs à huile
- Avantages du système
- Le dispositif et le principe de fonctionnement des interrupteurs.
- Disjoncteurs à huile
- L'appareil et la conception du disjoncteur à air
- Conclusions et vidéo utile sur le sujet
Commutateur d'huile VMP-10

Le disjoncteur à huile VMP-10 est un disjoncteur haute tension tripolaire liquide avec un petit volume de liquide d'extinction d'arc (huile comme diélectrique).
Les disjoncteurs à huile VMP-10 sont conçus pour commuter des circuits haute tension de courant alternatif triphasé dans le mode de fonctionnement nominal de l'installation, ainsi que pour la déconnexion automatique de ces circuits en cas de courts-circuits et de surcharges survenant en cas d'urgence modes.
Le disjoncteur VMP-10 est contrôlé par un entraînement électromagnétique CC intégré dans le châssis du disjoncteur.
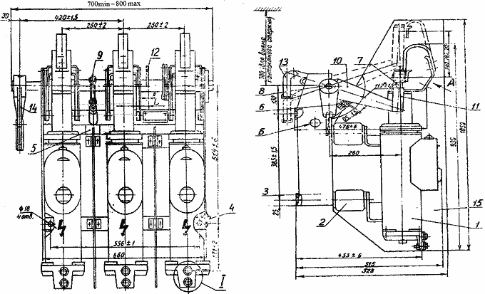
Type de commutateur VMP-10
- 1 - poteau ;
- 2 - isolateur de support ;
- 3 - Cadre;
- 4 - tige isolante;
- 5 - arbre;
- b - tampon d'huile. Les dimensions des disjoncteurs VMP-10, mm, sont les suivantes : Pour les tableaux fixes KSO…. 250x774
Pour tableaux complets KRU….. 230 x 666
Portée du disjoncteur VMP-10
Le disjoncteur VMP-10 (disjoncteur suspendu à l'huile, voir figure) avec une masse d'huile de 4,5 kilogrammes est conçu pour être installé dans un appareillage de commutation conventionnel, les disjoncteurs VMP-10K, VMP-10P et VMPP-10 sont destinés à un appareillage complet de petite taille avec chariots d'appareillage débrochables. Ces derniers diffèrent du disjoncteur VMP-10 par une largeur plus petite, obtenue en rapprochant les pôles en installant des cloisons isolantes entre eux. Les disjoncteurs VMP-10P et VMPP-10 ont des entraînements à ressort intégrés.
Dans les tableaux fermés, les disjoncteurs à faible niveau d'huile VMP-10, VMPP-10, VMPE-10 et autres (qui diffèrent les uns des autres par le type d'entraînement) sont utilisés pour les chambres préfabriquées KSO, ainsi que VMP-10K pour les tableaux.
Les disjoncteurs à faible niveau d'huile sont fabriqués par des entreprises nationales de la série VMP (interrupteur suspendu à l'huile) avec un ressort intégré ou un entraînement électromagnétique (variétés de VMPP et VMPE), des interrupteurs à huile du type à colonne VK-10 avec un entraînement à ressort, commutateurs de type pot d'huile VMG-10, etc.
Les disjoncteurs à huile de réservoir qui ont survécu en fonctionnement sont actuellement remplacés par des disjoncteurs à faible niveau d'huile, et maintenant à vide, SF6, etc.
Dans les réseaux, des disjoncteurs avec un petit volume d'huile VPM-10, VPMP-10, VMP-10, VMP-10K, VMP-10P, VMPP-10 sont utilisés.
La structure du symbole du disjoncteur VMP(E)-10-X/X U2
- VMP – interrupteur suspendu bas niveau d'huile.
- E – entraînement électromagnétique PE-11.
- 10 – tension nominale, kV.
- X – courant assigné de coupure (20 ; 31,5) kA.
- X - courant nominal de l'interrupteur (630 ; 1000 ; 1600), A.
- U3 – version climatique et catégorie de placement.
À lors du fonctionnement du disjoncteur, il a été constaté que les tiges de guidage, le long desquelles coulisse le bloc de guidage en nylon, peuvent tourner autour de son axe. Les tiges ont des butées métalliques pour limiter la course des rouleaux collecteurs.
En position normale, les butées traversent les fentes du bloc nylon. Lors de la rotation des tiges de guidage, les butées sont décalées sur le côté par rapport aux fentes, et au moment où l'interrupteur est allumé ou éteint, le bloc de nylon heurte les butées et se casse.
Pour éliminer ce défaut, avant de mettre le disjoncteur en marche, régler les vis de blocage qui fixent la position des tiges de guidage.
Principaux types de disjoncteurs à huile
La conception des disjoncteurs à huile est de deux types principaux :
- Réservoir. Ils ont un grand volume d'huile. Équipé d'un grand réservoir pour trois contacts de tension triphasée à la fois ;
- En pot (faible teneur en huile). Avec un volume d'huile plus petit, mais aussi avec un système d'extinction d'arc supplémentaire et trois réservoirs séparés. En eux, à chaque phase, il y a un cylindre métallique séparé rempli d'huile, dans lequel les contacts sont rompus et l'arc électrique est supprimé.
Commutateurs de réservoir d'huile
Le plus souvent, ils sont conçus pour des courants de déclenchement relativement faibles. Ils sont produits dans des structures à réservoir unique (trois pôles dans un réservoir) avec une tension de fonctionnement allant jusqu'à 20 kV.et pour les tensions supérieures à 35 kV - à trois réservoirs (chacune des phases est située dans un réservoir séparé) avec des entraînements de commutation personnels ou de groupe. Les interrupteurs de réservoir sont fournis avec des actionneurs électromagnétiques ou pneumatiques. Il est possible de travailler avec la refermeture automatique (AR).
Les disjoncteurs à réservoir d'huile, produits pour des tensions supérieures à 35 kV, ont des transformateurs de courant intégrés à l'intérieur pour les circuits de mesure et de protection. Ils sont montés et fixés sur la partie intérieure de la traversée et fermés par un couvercle. Ainsi, la tige conductrice sert d'enroulement primaire. Le réservoir s'allume tension de fonctionnement 110 kV et au-dessus sont parfois équipés de transformateurs de tension capacitifs.
Disjoncteurs à faible niveau d'huile
Par rapport aux réservoirs, l'huile sert ici exclusivement d'agent d'extinction d'arc, et l'isolation des pièces conductrices de courant et de l'extincteur d'arc vis-à-vis des défauts à la terre est réalisée à l'aide d'un matériau isolant solide (céramique, textolite et diverses résines époxy). Il s'agit d'un disjoncteur à huile de type VMP ou VMG.
Ils ont des dimensions et un poids radicalement plus petits, ainsi qu'un risque d'explosion et d'incendie nettement inférieur. La présence de transformateurs capacitifs de tension et de courant intégrés dans ces dispositifs haute tension complique considérablement la conception des interrupteurs et augmente leur encombrement.
Les disjoncteurs à huile dans leur conception peuvent être produits par le fabricant de deux types de mouvement du groupe de contact:
- goulottes d'arc par le bas (le contact mobile s'effectue de haut en bas);
- les goulottes d'arc par le haut (le contact mobile se produit inversement de bas en haut).Ce type est plus prometteur en termes d'amélioration de la capacité de déclenchement.
Le disjoncteur peut être équipé d'un mécanisme de protection et de contrôle intégré. Ce sont des relais tels que :
- courant maximal instantané
- temporisation
- relais de sous-tension (pour protéger l'équipement électrique contre le fonctionnement à une tension non nominale)
- électroaimants d'arrêt,
- contacts du bloc auxiliaire.
L'augmentation du courant de fonctionnement nominal est réalisée ici en raison du mécanisme de soufflage artificiel des pneus d'alimentation et du système de contact. Récemment, le refroidissement par eau a commencé à être utilisé pour ces éléments chauffés par le passage du courant.
Le disjoncteur à faible niveau d'huile pour installation extérieure se compose de trois parties principales :
- dispositif d'extinction d'arc, placé dans une coquille en porcelaine;
- colonnes de support en porcelaine;
- bases, c'est-à-dire cadres.
Le cylindre isolant recouvre le dispositif d'extinction d'arc et remplit une fonction de protection. Son principal objectif de protection est une coque en porcelaine, de sorte que lors de la haute pression qui se produit lorsque le graisseur est éteint, il n'éclate tout simplement pas.
Caractéristiques de conception et principe de fonctionnement
L'apparence du modèle classique d'un appareil de commutation électronique est presque identique à l'écran tactile et est un écran constitué d'un matériau électrochrome brillant (verre cristal) avec des marquages appliqués dessus. Une grande variété d'options de conception, de couleurs et de configurations d'instruments sont présentées.
Indépendamment des caractéristiques externes et du nombre de consommateurs connectés, le dispositif structurellement sensoriel se compose des parties principales suivantes :
- contrôleur ou unité de commande. Derrière l'écran frontal décoratif se trouve la surface active de l'élément sensible, qui réagit à divers stimuli. En fonction du type d'interrupteur tactile, les stimuli sont : toucher l'objet d'influence, dans certains modèles, approcher, applaudir, commande vocale.
- convertisseur semi-conducteur. Dans le bloc précédent, un signal est généré, qui dans cette section est converti en un signal électrique d'une puissance suffisante pour le fonctionnement.
- Partie de commutation. Au moyen de l'interrupteur, les principales actions du circuit électrique sont effectuées: ouverture, fermeture ou régulation en douceur du degré de charge appliqué à la lampe.
Basé sur la conception du produit électronique, son principe de fonctionnement est évident : en touchant légèrement le panneau avec les doigts, un signal est produit qui est converti et provoque l'activation du relais.
Des fonctions supplémentaires intégrées à un interrupteur universel de type tactile sont souvent utilisées pour équiper un système de maison intelligente : contrôle du fonctionnement des appareils de chauffage, ouverture/fermeture des volets des fenêtres, et autres
Efficacité
Aujourd'hui, divers types de disjoncteurs à air sont devenus plus avancés et fonctionnels, ceci a été réalisé en faisant les ajouts suivants :
- Les groupes électrogènes utilisent un circuit de refroidissement forcé.
- Des matériaux de haute qualité et une exécution soignée des éléments structurels ont assuré une grande fiabilité et une longue durée de vie avant la nécessité de réparations.
- Les surtensions de manœuvre ont acquis une limitation dont la présence joue un rôle particulier pour les appareils à haute tension.
- La disposition modulaire de la série permet de créer plusieurs séries à partir de modules identiques, caractérisés par une large plage de tension, pour tester et mettre en œuvre des dispositifs simples à fabriquer, à installer et à exploiter ultérieurement.
- Utilisation de schémas de contrôle avec une réponse rapide et un écart de temps minimal. Leur tâche principale est d'assurer le fonctionnement des appareils pour un excès de tension important et une déconnexion pendant un demi-cycle. De plus, grâce à eux, les appareils avec fonction d'activation et de désactivation synchrone.
- Les éléments d'extinction d'arc sont placés dans de l'air comprimé. Cela permet d'obtenir des caractéristiques de débit élevées pour la tension nominale, une isolation fiable des espaces entre les contacts, une réponse rapide et des propriétés de commutation. Le plus souvent, la pression atmosphérique est comprise entre 6 et 8 MPa.
Règles de fonctionnement MT
Le personnel de réparation, d'exploitation, les spécialistes associés à la maintenance et au fonctionnement des disjoncteurs à huile doivent connaître les instructions, l'appareil et le principe de fonctionnement de l'équipement. Pendant l'exploitation, les employés desservant le MW sont tenus de contrôler :
- Tension de fonctionnement, courant de charge. Les indicateurs ne doivent pas dépasser les valeurs du tableau.
- La hauteur de la colonne d'huile dans les pôles, pas de fuite.
- La présence de lubrification sur les pièces frottantes. Les contacts peuvent perdre leur mobilité et geler si le lubrifiant des éléments frottants devient épais et sale.
- Poussière des locaux dans lesquels se trouvent les appareillages.
- Conformité des caractéristiques mécaniques des disjoncteurs manœuvrés aux normes tabulaires.
Après chaque déconnexion du court-circuit, l'équipement doit être inspecté. Les informations sur ces arrêts sont enregistrées dans un journal spécial. Un journal des défauts doit être disponible pour enregistrer les informations sur les dysfonctionnements détectés pendant le fonctionnement de l'unité. Le disjoncteur, sur lequel le déclenchement s'est produit à la suite d'un court-circuit, est soumis à une inspection.
Vérifier les fuites d'huile. Si cela s'est produit, de plus, en grand nombre, cela indique un arrêt de court-circuit anormal. L'équipement est mis hors service et inspecté. Lorsque l'huile est sombre, un changement est nécessaire. La vitesse d'ouverture est affectée par la viscosité de l'huile, qui augmente à mesure que la température baisse. Parfois, il devient nécessaire de remplacer l'ancien lubrifiant lors des réparations par un nouveau : CIATIM-221, GOI-54 ou CIATIM-201.

Après avoir retiré le MW de l'exploitation, les isolateurs de support, les tiges, l'isolation des réservoirs pour les fissures sont soumis à une inspection approfondie. L'isolation fortement contaminée est essuyée. Le besoin de réparations extraordinaires apparaît après un certain nombre de courts-circuits.
L'inspection périodique (OP) est effectuée mensuellement
Dans ce cas, faites attention au degré d'échauffement de l'interrupteur. La TR (maintenance) est effectuée annuellement. Cela comprend des travaux tels que la vérification et l'élimination des défauts dans les fixations, la cinématique d'entraînement, le niveau d'huile, les joints
Les pièces isolantes sont également vérifiées pour leur intégrité.
Cela comprend des travaux tels que la vérification et l'élimination des défauts dans les fixations, la cinématique d'entraînement, le niveau d'huile, les joints. Les pièces isolantes sont également vérifiées pour leur intégrité.
Après 3-4 ans après la révision, effectuez une moyenne (SR).Il comprend l'ensemble des travaux TR, en plus d'effectuer des mesures de la résistance transitoire des pôles et de vérifier les paramètres mécaniques et de vitesse. Si une divergence entre les caractéristiques contrôlées et les données tabulaires est détectée, le disjoncteur est démonté, ajusté et une gamme complète de tests haute tension est effectuée.
Lors d'une réparation extraordinaire, ils essaient essentiellement de laisser le réglage précédent inchangé. Pour cette raison, l'interrupteur est démonté au minimum. La fréquence de révision est de 6 à 8 ans. Dans son champ d'application, une inspection générale est effectuée, les cylindres sont retirés du châssis, les pneus sont déconnectés, l'entraînement, les dispositifs d'arc, les contacts auxiliaires sont réparés.
Après tout, ils font des ajustements, peignent, connectent des pneus et testent. Tous les travaux sont documentés.
2.4. Classement des disjoncteurs
Classement principal
interrupteurs selon la méthode d'extinction de l'arc :
1.
Commutateurs d'huile. À
ces disjoncteurs sont formés
entre
contacts, brûlures dans le transformateur
pétrole. Sous l'influence de l'énergie de l'arc
l'huile se décompose et les gaz qui en résultent
et les vapeurs servent à l'éteindre.
Selon le type d'isolement
les pièces conductrices de courant distinguent le réservoir
interrupteurs et bas niveau d'huile. Première
les pièces sous tension sont isolées
entre eux et de la terre à l'aide d'huile,
en acier
réservoir relié à la terre. À bas niveau d'huile
isolation conductrice de courant des disjoncteurs
parties de la terre et entre elles sont produites
en utilisant
diélectriques solides et huiles.
À
nos pays disjoncteurs pétroliers
étaient le principal type d'interrupteurs
pour tension de 6 à 220 kV. Maintenant
commutateurs d'huile de temps
ne sont pas délivrés.
2. électromagnétique
commutateurs. Par
ces principes
commutateurs
similaire aux contacteurs permanents
courant avec labyrinthe
fendu
caméra. L'arc s'éteint après
en augmentant la résistance
arcs
en raison de son allongement intense
et refroidissement.
Publié le
tensions assignées ne dépassant pas 10 kV.
3. Air
commutateurs. À
utilisé comme milieu de trempe
comprimé
air dans un réservoir sous pression
1-5 MPa. À
éteindre
l'air comprimé du réservoir est fourni à
dispositif d'arc.
Arc,
formé dans la chambre de chute d'arc
dispositifs (DU), soufflés
intense
flux d'air s'échappant dans
atmosphère. Isolation
porteur de courant
pièces les unes aux autres est réalisée avec
solide
diélectriques
et aérien.
Publié
pour des tensions nominales de 110 à 1150
kV.
4. SF6
commutateurs. À
ces interrupteurs
arcs
effectué
en le refroidissant en le déplaçant avec
haute vitesse
SF6
(hexafluorure de soufre SF6),
qui sert aussi d'isolant
Mercredi.
Publié le
tension de 35 à 500 kV.
5. vide
commutateurs. À
ces interrupteurs contacts
disperser
sous vide (la pression est de 10-4
Pennsylvanie). Résultant de
divergence
contacts, l'arc s'éteint rapidement en raison de
diffusion intensive
des charges
dans le vide.
Publié le
tension 10 et 35 kV.
6.
commutateurs
charges. ce
interrupteurs haute tension simples
ouvrir et fermer des circuits,
sous charge. Pour désactiver
courants de court-circuit en série
avec disjoncteur
le fusible s'enclenche.
Publié le
tension 6 et 10 kV.
Le principe de fonctionnement du disjoncteur à trois réservoirs
Le commutateur à trois réservoirs a un principe de fonctionnement légèrement différent, qui est associé à son utilisation dans un réseau haute tension. Le disjoncteur à huile, qui est utilisé dans un réseau avec une tension supérieure à 35 kV, dispose d'un mécanisme spécial dans la chambre d'extinction d'arc qui crée une explosion. Le système d'extinction d'arc utilisé peut comporter plusieurs modes de fonctionnement. Ils permettent d'augmenter la vitesse d'extinction de l'arc lors de la séparation du contact.
Afin de sécuriser ce processus, les éléments émetteurs d'électricité sont placés dans un réservoir d'huile spécifique, un réservoir séparé étant utilisé pour chaque phase. Divers entraînements de disjoncteurs à huile sont également utilisés, permettant au fluide de travail d'être fourni dans la direction sélectionnée. Le système dispose d'un élément spécial pour contrôler la taille de l'arc, qui est représenté par un shunt. Après la disparition de l'arc formé, l'alimentation en courant s'arrête complètement.
Principaux types de disjoncteurs à huile
La conception des disjoncteurs à huile est de deux types principaux :
- Réservoir. Ils ont un grand volume d'huile. Équipé d'un grand réservoir pour trois contacts de tension triphasée à la fois ;
- En pot (faible teneur en huile). Avec un volume d'huile plus petit, mais aussi avec un système d'extinction d'arc supplémentaire et trois réservoirs séparés. En eux, à chaque phase, il y a un cylindre métallique séparé rempli d'huile, dans lequel les contacts sont rompus et l'arc électrique est supprimé.
Commutateurs de réservoir d'huile
Le plus souvent, ils sont conçus pour des courants de déclenchement relativement faibles. Ils sont produits dans des structures à réservoir unique (trois pôles dans un réservoir) avec une tension de fonctionnement allant jusqu'à 20 kV.et pour les tensions supérieures à 35 kV - à trois réservoirs (chacune des phases est située dans un réservoir séparé) avec des entraînements de commutation personnels ou de groupe. Les interrupteurs de réservoir sont fournis avec des actionneurs électromagnétiques ou pneumatiques. Il est possible de travailler avec la refermeture automatique (AR).
Les disjoncteurs à réservoir d'huile, produits pour des tensions supérieures à 35 kV, ont des transformateurs de courant intégrés à l'intérieur pour les circuits de mesure et de protection. Ils sont montés et fixés sur la partie intérieure de la traversée et fermés par un couvercle. Ainsi, la tige conductrice sert d'enroulement primaire. Les disjoncteurs réservoir pour une tension de fonctionnement de 110 kV et plus sont parfois équipés de transformateurs de tension capacitifs.
Disjoncteurs à faible niveau d'huile
Par rapport aux réservoirs, l'huile sert ici exclusivement d'agent d'extinction d'arc, et l'isolation des pièces conductrices de courant et de l'extincteur d'arc vis-à-vis des défauts à la terre est réalisée à l'aide d'un matériau isolant solide (céramique, textolite et diverses résines époxy). Il s'agit d'un disjoncteur à huile de type VMP ou VMG.
Ils ont des dimensions et un poids radicalement plus petits, ainsi qu'un risque d'explosion et d'incendie nettement inférieur. La présence de transformateurs capacitifs de tension et de courant intégrés dans ces dispositifs haute tension complique considérablement la conception des interrupteurs et augmente leur encombrement.
Les disjoncteurs à huile dans leur conception peuvent être produits par le fabricant de deux types de mouvement du groupe de contact:
- goulottes d'arc par le bas (le contact mobile s'effectue de haut en bas);
- les goulottes d'arc par le haut (le contact mobile se produit inversement de bas en haut).Ce type est plus prometteur en termes d'amélioration de la capacité de déclenchement.
Le disjoncteur peut être équipé d'un mécanisme de protection et de contrôle intégré. Ce sont des relais tels que :
- courant maximal instantané
- temporisation
- relais de sous-tension (pour protéger l'équipement électrique contre le fonctionnement à une tension non nominale)
- électroaimants d'arrêt,
- contacts du bloc auxiliaire.
L'augmentation du courant de fonctionnement nominal est réalisée ici en raison du mécanisme de soufflage artificiel des pneus d'alimentation et du système de contact. Récemment, le refroidissement par eau a commencé à être utilisé pour ces éléments chauffés par le passage du courant.
Le disjoncteur à faible niveau d'huile pour installation extérieure se compose de trois parties principales :
- dispositif d'extinction d'arc, placé dans une coquille en porcelaine;
- colonnes de support en porcelaine;
- bases, c'est-à-dire cadres.
Le cylindre isolant recouvre le dispositif d'extinction d'arc et remplit une fonction de protection. Son principal objectif de protection est une coque en porcelaine, de sorte que lors de la haute pression qui se produit lorsque le graisseur est éteint, il n'éclate tout simplement pas.
Classification des interrupteurs à huile
L'utilisation des interrupteurs à huile a commencé à la fin du siècle avant-dernier. Presque jusqu'au milieu du XXe siècle, il n'y avait tout simplement pas d'autres dispositifs de déconnexion dans les réseaux à haute tension. Il existe deux grands groupes de ces appareils :
- Réservoir, pour lequel la présence d'un grand volume d'huile est caractéristique. Pour ces équipements, c'est à la fois le milieu dans lequel l'arc s'éteint et l'isolant.
- Faible niveau d'huile ou faible volume. Le nom lui-même parle de la quantité de charge qu'ils contiennent.Ces interrupteurs contiennent des éléments diélectriques et l'huile n'est nécessaire que pour l'extinction de l'arc.
Les premiers sont principalement utilisés dans les installations de distribution de 35 à 220 kV. La seconde - jusqu'à 10 kV. Les appareils à faible niveau d'huile de la série VMT sont également utilisés dans les tableaux extérieurs conçus pour 110 et 220 kV.
Le principe d'extinction d'arc dans les deux types est identique. L'arc qui apparaît à l'ouverture des contacts haute tension du disjoncteur provoque une évaporation rapide de l'huile. Ceci conduit à la création d'une enveloppe gazeuse autour de l'arc. Cette formation est constituée de vapeur d'huile (environ 20 %) et d'hydrogène (H2). L'espace d'arc est déionisé en raison du refroidissement rapide de l'arbre d'arc en mélangeant des gaz à haute et basse température dans la gaine.
Au moment de l'arc dans la zone de contact, la température est très élevée - environ 6000⁰. Selon l'installation, on distingue les interrupteurs qui sont utilisés pour une utilisation intérieure, extérieure, ainsi que pour une utilisation dans les tableaux KRP - complets.

Avantages et inconvénients des interrupteurs à huile
Ces appareils ont une conception relativement simple. Ils ont un bon pouvoir de coupure, ne dépendent pas des conditions météorologiques. En cas de dysfonctionnement, des travaux de réparation peuvent être effectués. Les réservoirs MW conviennent pour une installation à l'extérieur. Il existe des conditions pour le montage de transformateurs de courant intégrés.
Un rôle important dans le fonctionnement du MW est joué par le taux de divergence de contact. Une situation peut survenir lorsque les contacts divergent à grande vitesse et que l'arc atteint instantanément une longueur critique pour lui. Dans ce cas, la valeur de la tension de rétablissement peut ne pas être suffisante pour franchir l'intervalle d'intercontact.
Les commutateurs de réservoir ont plus d'inconvénients. Le premier est la présence d'un volume important d'huile, d'où les dimensions considérables de ces groupes et appareillages. Le second est le risque d'incendie et d'explosion, dans les situations d'urgence, les conséquences peuvent être les plus imprévisibles.
Le niveau d'huile à la fois dans le réservoir et dans les entrées, ainsi que son état, doivent être contrôlés périodiquement. S'il y a une alimentation électrique en MW dans les réseaux desservis, il est nécessaire d'avoir une économie pétrolière particulière.
Avantages du système
Ce type de système d'extinction d'arc présente un certain nombre de caractéristiques, grâce auxquelles il est utilisé dans de nombreux circuits d'alimentation. Les avantages du système comprennent les éléments suivants :
Efficacité d'interruption de circuit élevée, ce qui permet l'utilisation de tels équipements dans des réseaux à haute tension.
La simplicité de la conception le rend fiable et maintenable.
La réparation des interrupteurs à huile doit être effectuée exclusivement par des professionnels, car ces équipements sont chargés d'effectuer une commande importante à partir d'un système de contrôle automatique ou d'un opérateur. De plus, cette qualité détermine le coût relativement faible de ce type d'équipement.
Le dispositif et le principe de fonctionnement des interrupteurs.
4.1. Principe d'opération.
4.1.1. Les disjoncteurs VPM-10 sont des disjoncteurs haute tension liquides avec un petit volume de liquide d'extinction d'arc (huile de transformateur).
4.1.2. Le principe de fonctionnement du disjoncteur est basé sur l'extinction de l'arc électrique qui se produit lors de l'ouverture des contacts par l'écoulement du mélange gazole résultant de la décomposition intensive de l'huile de transformateur sous l'action de la haute température de l'arc.Ce flux reçoit une certaine direction dans un dispositif spécial d'extinction d'arc situé dans la zone de combustion de l'arc.
4.1.3. Les disjoncteurs sont activés grâce à l'énergie du variateur (PE - 11 ou PP - 67) et déconnectés grâce à l'énergie des ressorts d'ouverture du disjoncteur.
4.2. Changer d'appareil.
Une vue générale du disjoncteur VPM-10 est illustrée à la fig. 1. Trois pôles 1 de l'interrupteur sont suspendus sur des isolateurs de support 2 à un châssis soudé 3. Les isolateurs de support ont une fixation mécanique élastique interne. Le mouvement de l'arbre de l'interrupteur aux contacts mobiles 7 pôles est transmis par les leviers isolants 10 et les boucles d'oreilles 11.

1. Vue générale et dimensions hors tout et d'installation du disjoncteur VPM-10.1 - pôle, 2 - isolateur de support, 3 - cadre, 4 - boulon de terre, 5 - tampon d'huile, 6 - boulon de poussée (position de verrouillage), 7 - tige de contact , 8 - arbre, 9 - levier à galets, 10 - levier isolant, 11 - boucle d'oreille, 12 - levier (pour la connexion centrale de l'entraînement), 13 - fourche (pour la connexion centrale de l'entraînement), 14 - levier avec fourche (pour connexion latérale du lecteur), 15 – partition (uniquement pour la version U2.
Sur le côté du châssis, il y a un boulon 4 pour connecter le bus de terre.
Du côté du châssis opposé aux pôles, il y a quatre trous de diamètre 18 mm pour le montage du disjoncteur dans l'appareillage.
Dans les disjoncteurs de type VPM-10 (avec une connexion moyenne de l'entraînement), un levier 12 avec une fourchette 13 soudée à l'arbre de l'interrupteur est utilisé pour connecter les pièces de connexion cinématiques.Pour la connexion latérale de l'entraînement, un levier avec une fourche 14 est en outre installée sur l'arbre.
L'isolation entre les pôles de la version climatique U2 est renforcée par la mise en place de cloisons isolantes 15.
Disjoncteurs à huile
Appareil dont le but principal est de mettre sous et hors tension le réseau électrique en cas d'urgence en mode automatique ou, si nécessaire, en mode manuel. La principale différence avec le type d'équipement électrique précédent est que le processus d'extinction de l'arc électrique se produit dans l'huile.
L'isolation de l'appareil est constituée de matériaux isolants solides, principalement de la céramique, l'huile elle-même agissant comme un milieu de dégagement de gaz.
Il est important de vérifier le niveau d'huile, car à de petits volumes, la substance perd toutes ses caractéristiques et capacités dans le domaine de l'extinction d'arc
L'appareil et la conception du disjoncteur à air
Considérez comment le disjoncteur à air est agencé en utilisant l'exemple d'un interrupteur de puissance VVB, son schéma structurel simplifié est présenté ci-dessous.
Conception typique des disjoncteurs à air de la série VVB
Désignations :
- A - Récepteur, un réservoir dans lequel de l'air est pompé jusqu'à ce qu'un niveau de pression correspondant à celui nominal se forme.
- B - Cuve métallique de la chambre de soufflage.
- C - Bride d'extrémité.
- D - Condensateur diviseur de tension (non utilisé dans les conceptions modernes de commutateurs).
- E - Tige de montage du groupe de contacts mobiles.
- F - Isolateur en porcelaine.
- G - Contact d'arc supplémentaire pour shuntage.
- H - Résistance shunt.
- I - Soupape de jet d'air.
- J - Conduit d'impulsion.
- K - Alimentation principale du mélange d'air.
- L - Groupe de soupapes.
Comme vous pouvez le voir, dans cette série, le groupe de contact (E, G), le mécanisme marche / arrêt et la vanne de soufflage (I) sont enfermés dans un conteneur métallique (B). Le réservoir lui-même est rempli d'un mélange d'air comprimé.Les pôles de l'interrupteur sont séparés par un isolant intermédiaire. Étant donné qu'une haute tension est présente sur le navire, la protection de la colonne de support revêt une importance particulière. Il est fabriqué à l'aide de "chemises" en porcelaine isolante.
Le mélange d'air est fourni par deux conduits d'air K et J. Le premier principal sert à pomper l'air dans le réservoir, le second fonctionne en mode pulsé (fournit le mélange d'air lorsque les contacts de l'interrupteur sont éteints et se réinitialise lorsqu'il est fermé).
Conclusions et vidéo utile sur le sujet
Appareil, types, but et fonctionnement de MW :
Examen détaillé du VMP-10 :
Les disjoncteurs à huile répondent également à toutes les exigences de base pour les disjoncteurs fonctionnant dans des conditions de haute tension. La plupart d'entre eux sont sûrs et fiables, offrent une déconnexion rapide et sont faciles à installer. Malgré cela, les fabricants s'efforcent d'assurer une conformité encore plus grande avec les exigences en matière de MW.
Vous avez des connaissances sur les disjoncteurs à huile et souhaitez compléter le matériel présenté avec des informations utiles ? Peut-être avez-vous remarqué une anomalie ou une erreur ? Ou avez-vous des questions sur le sujet? Écrivez-nous, s'il vous plaît, à ce sujet sous l'article - nous vous en serons reconnaissants.
Messages similaires






































