- Installation d'une station de pompage - travaux intérieurs
- Pose de canalisation
- Forage d'un puits
- Assurer l'étanchéité du boîtier
- Puits à caisson
- Application de tuyaux en PE pour l'extérieur
- Forage d'un puits - avant ou après la construction d'une maison
- Système de canalisation
- Arrangement de puits d'hiver
- salle au rez-de-chaussée
- Placement d'un puits dans une maison
- Construction de fosse
- Aménagement avec un caisson
- Caisson en plastique
- Caisson métallique
- Aménagement d'un puits dans un puits constitué d'anneaux en béton
- Harnais avec adaptateur
- Principaux types de puits
- Puits ordinaire
- Puits abyssin
- profondeur moyenne
- Artésien
- Côté juridique du problème
- Comment choisir et où installer les filtres à eau
- Le dispositif et le principe de fonctionnement des stations de pompage
- Pourquoi meubler ?
- Pompes de puits
Installation d'une station de pompage - travaux intérieurs
Les travaux internes avec l'équipement de plomberie domestique peuvent être divisés en deux parties : l'installation d'une conduite sous pression vers un filtre primaire et la tuyauterie autour de la maison vers les points d'eau prévus. Ici, le câblage vers le filtre sera pris en compte.
Cette partie de la ligne de pression est réalisée avec un tuyau en polyéthylène. Tout d'abord, une vanne d'arrêt est installée, qui peut être utilisée pour couper l'alimentation en eau de toute la maison si nécessaire.Il doit répondre à deux exigences : être fiable et pouvoir démonter rapidement sans démonter toute la ligne. Ces exigences sont mieux remplies par un robinet à tournant sphérique en laiton avec un "américain".

Après la pompe, un té avec un robinet pour remplir le système avec de l'eau avec une vanne et un clapet anti-retour sur la conduite d'eau vers le consommateur doit être placé
Vous ne devriez pas acheter une grue silumin bon marché - sa durée de vie dépasse rarement 5 ans, après quoi elle s'effondre, ce qui est lourd de risques d'inondation.
L'étape suivante consiste à installer le boîtier du filtre primaire. Il est monté au mur dans un endroit pratique pour l'entretien. La plupart de ces filtres sont autonettoyants. La fréquence d'entretien dépend de la qualité de l'eau de la région. L'entretien est réduit au lavage de la cartouche et à la libération du ballon des sédiments. Un exemple d'un tel filtre est illustré sur la photo ci-dessous.

Installation du filtre primaire
Le filtre est fourni avec une clé pour le ballon, ce qui simplifie son installation. L'eau est fournie à l'entrée par un tuyau en PE et une transition vers un tuyau en PPR est installée à la sortie. À partir de cet endroit, la distribution de l'eau sous pression à travers la maison vers les consommateurs commence. Le tuyau doit être bien fixé sur les murs et les sols avec des poignées en caoutchouc. Pour vous connecter au filtre, vous pouvez utiliser des raccords en plastique - coudes et raccords, dont la conception peut différer, mais la principale chose à considérer lorsque vous travaillez avec eux est que le tuyau doit entrer fermement dans le raccord et atteindre la butée. Sinon, sous pression, il peut progressivement se presser, ce qui menace d'inonder. La première photo montre un coude en plastique démonté pour un tuyau en PE, et la deuxième photo montre une vue générale de la ligne finie de la station au filtre.
Pose de canalisation

Au fond du puits, il faut verser du gravier fin (pierre concassée) ou du sable grossier. Cela protégera le pipeline de l'envasement. Avant le remplissage, le fond du puits est obligatoirement nettoyé avec une écope. Il est nécessaire de pré-préparer le premier tuyau afin de l'abaisser dans le puits immédiatement après la fin du forage. Ainsi, vous ne laisserez pas les murs s'effondrer.
Le long du périmètre du tuyau, à une distance d'environ 29 cm de son fond, des trous doivent être percés. Grâce à eux, le tuyau "collectera" un plus grand volume d'eau.
Étant donné qu'il est préférable de poser des tuyaux de 220 à 260 cm de long pour la construction d'un puits, le plus souvent, un coude ne suffit pas. Les tuyaux plus longs ne sont pas si faciles à entretenir et à installer. Les tuyaux sont fixés les uns aux autres en «vissant» le long du filetage. Le premier tuyau doit être abaissé pour qu'il repose sur le fond de la fosse. Après avoir installé les tuyaux, vous pouvez commencer le dispositif du caisson et l'installation de la pompe.
Forage d'un puits
La première étape consiste à créer un puits. Idéal pour le forage méthode de la corde de chocR : C'est simple mais efficace.
Tout d'abord, préparez le mécanisme de travail principal - un trépied de support avec un verre conducteur: soudez une structure de trépied à partir de tuyaux métalliques et fixez le verre dessus à l'aide d'un treuil avec un câble spécial. La hauteur du support est déterminée par la longueur du dispositif d'entraînement utilisé : le trépied doit être de 1,5 à 2 m plus haut que le verre.
Technologie de forage de puits à corde de choc
Lorsque le mécanisme est assemblé, commencez à percer :
- avec pression, enfoncez le verre dans la zone de travail désignée;
- prendre le sol avec un verre;
- soulevez le verre et dégagez-le du sol;
- répéter les étapes jusqu'à ce que la profondeur requise soit obtenue.
Après le forage, placez le tubage dans le puits.Il peut être en acier ou en plastique, mais toujours avec une connexion filetée.
Il est également important de bien fixer le tuyau - il doit s'adapter le plus étroitement possible au sol.
Ensuite, l'eau sale et les couches supérieures d'argile et de sable doivent être pompées hors du puits fini. Pour ce faire, utilisez une pompe conventionnelle.
Assurer l'étanchéité du boîtier
Le tubage doit être protégé de la pénétration de poussières et d'eau de fonte, sources de micro-organismes. Pour l'étanchéité, un dispositif spécial est utilisé - une tête en fonte ou en plastique, capable de supporter une charge de 200 kg. L'appareil se compose de :
- bride;
- couvertures;
- carabine;
- menottes;
- attaches.
La tête est choisie en fonction du diamètre du tube de tubage et, après avoir été posée dessus, est fixée avec une bride. Le couvercle d'entrée a des ouvertures pour l'alimentation câble électrique et conduite d'eau. Tous les joints avec des tuyaux et des câbles sont solidement scellés avec des joints en caoutchouc. Un joint est installé sous le couvercle avant la fixation avec des boulons.
Puits à caisson
Si vous construisez des puits selon le niveau technologique, un puits avec un caisson sera en tête de classement. Le caisson est un conteneur spécial enterré dans le sol dans la zone du puits, de sorte que l'embouchure du puits se trouve à l'intérieur. Après l'installation des équipements nécessaires, le caisson est recouvert d'une couche de terre et une trappe technique reste en surface. Souvent, au lieu d'un conteneur, un caisson est construit en anneaux de béton ou en briques, sous la forme d'une petite pièce souterraine.
Le caisson remplit plusieurs tâches importantes.
- Premièrement, cela ne permet pas au puits de geler en hiver. Si nécessaire, le caisson est isolé ;
- Deuxièmement, le caisson vous permet de placer l'équipement nécessaire au levage et à la distribution d'eau, y compris une pompe, un accumulateur hydraulique, une automatisation, individuellement ou en tant que complexe sous la forme d'une station de pompage.
Dans le même temps, tous les équipements seront protégés des précipitations, des eaux souterraines et d'autres problèmes météorologiques.
Application de tuyaux en PE pour l'extérieur
Les tuyaux en polyéthylène remplacent partout l'acier. Ils sont utilisés pour le câblage extérieur et sont utilisés pour transporter divers liquides et gaz. Leur avantage est une résistance élevée, un faible coût, une absence totale de corrosion, une résistance aux facteurs environnementaux agressifs, une facilité d'installation et une très longue durée de vie (période de garantie - 50 ans).

Les tuyaux en PE destinés à l'eau ont des bandes de marquage bleues et l'inscription "Drinking" sur toute leur longueur. Il existe deux types de tuyaux - "C" et "T". "C" - tuyaux moyens, conçus pour fonctionner sous pression jusqu'à 6 atm. "T" - lourd, avec une pression de travail maximale de 10 atm.
Tous les types de tuyaux en PE peuvent être posés directement dans le sol. L'une des qualités positives est la possibilité de travailler avec eux en hiver à des températures allant jusqu'à -20 degrés. Lorsque l'eau gèle dans un tuyau, elle n'éclate pas, elle peut être facilement réchauffée avec de l'eau bouillante. Le remplacement d'un tel tuyau en cas d'accident est effectué sans équipement supplémentaire. Le prix bas est un autre avantage des tuyaux en PE par rapport à ceux en acier.
Forage d'un puits - avant ou après la construction d'une maison
L'emplacement du puits sur le territoire du terrain est mieux déterminé dans les limites de la future maison.Pour ce faire, vous devez décider du projet et lier les limites de la fondation au terrain. Le puits doit être au sous-sol ou au sous-sol. C'est l'endroit le plus pratique, dans lequel il est plus facile de protéger les canalisations et les équipements de pompage du gel et de les installer de manière compacte en un seul endroit.

Mais le plus souvent, l'idée de forer un puits et d'équiper sa propre plomberie vient après que la maison soit sous un toit. Dans ce cas, le puits doit être situé le plus près possible de la fondation afin de réduire la longueur des conduites d'aspiration, ce qui affecte les performances de la station de pompage, le coût de l'isolation des conduites et la disposition du puits lui-même.
Système de canalisation
Lors de l'aménagement de votre propre système d'approvisionnement en eau, un système d'égouts conforme à toutes les normes sanitaires est une condition préalable.
Toutes les eaux usées doivent être collectées dans des fosses septiques étanches ou rejetées dans le sol après un traitement approprié. Le système d'assainissement le plus courant est considéré comme un écoulement par gravité des eaux usées à travers un système de canalisations avec leur direction dans des fosses septiques filtrantes (puits). Dans de rares cas, un mouvement forcé du ruissellement à l'aide de pompes est utilisé.

En règle générale, la conduite d'égout est montée à partir de tuyaux en plastique ou en métal d'un diamètre de 120 à 160 mm. Pour assurer un écoulement gravitaire, la pente du parcours doit être d'au moins 3°. Avec un long parcours, des regards sont installés tous les 50 m.
L'approvisionnement en eau dans une maison privée à partir d'un puits résout le problème de la consommation d'eau même en l'absence totale d'un approvisionnement en eau centralisé.Cependant, il convient de garder à l'esprit qu'un tel système peut nécessiter l'obtention des autorisations nécessaires et nécessite le respect de toutes les réglementations applicables. Lors de l'organisation de votre propre approvisionnement en eau, il est nécessaire de garantir la qualité d'eau souhaitée et de ne pas nuire à la nature.
Arrangement de puits d'hiver
Le point le plus chronophage dans l'aménagement d'un puits pour l'eau est la protection de l'équipement contre le gel. La Russie est un pays du nord. Nos hivers sont longs et froids. Si l'ouvrage hydraulique n'est pas protégé, il ne fonctionnera qu'en été. Pour l'hiver, il doit être préservé par des tuyaux de vidange.
salle au rez-de-chaussée
Si la taille du site est grande, il est alors possible d'équiper un bâtiment séparé au-dessus du puits. Il peut s'agir d'un bâtiment modulaire, d'un conteneur isolé ou d'une maison magnifiquement conçue qui deviendra un élément de l'aménagement paysager.

L'inconvénient de cette méthode est le chauffage de la pièce. Un bâtiment non chauffé sera inutile à des températures inférieures à zéro - l'eau dans les tuyaux gèlera.
Placement d'un puits dans une maison
L'aménagement d'un puits à l'intérieur de la maison éliminera tous les problèmes de chauffage. Vous pouvez placer les éléments de tuyauterie près de la source, ce qui est économique : moins de tuyaux et de câbles sont nécessaires. Les inconvénients de cette méthode dans la prévention de l'équipement. La pompe devra être réparée - vous devrez tirer tout le paquet du puits dans la maison.

Un puits foré près de la fondation peut l'endommager. Cette option de cerclage doit être planifiée avant la construction d'une maison, lorsque tous les calculs de résistance de la structure peuvent être effectués. Nous ne recommandons pas de forer un puits profond dans une maison finie.
Construction de fosse
La version souterraine du cerclage ne viole pas le paysage avec des bâtiments supplémentaires.Une profondeur suffisante est une garantie de maintien d'une température confortable pour le fonctionnement de l'équipement.
Il n'est pas nécessaire de chauffer l'espace souterrain.
La fosse ressemble à une cave souterraine de jardin, au fond de laquelle sort la bouche du puits. Lors de la construction d'une fosse, renforcez les parois de l'excrétion pour la rendre étanche à l'air.

Les fosses sont en béton coulé à travers le coffrage. L'option maçonnerie est moins étanche, utilisée pour les sols sableux.
Aménagement avec un caisson
Pour les maisons alimentées en eau par un puits, le caisson fonctionne bien en hiver. L'avantage de la structure est l'étanchéité. Il est établi si les eaux souterraines passent à une profondeur allant jusqu'à 3 mètres et lorsque les sols argileux sont situés à la même profondeur. Cela retient l'humidité près du caisson, protège le puits de la contamination et protège l'équipement.
Caisson pour puits - une structure étanche pour protéger les équipements des basses températures.
Les conteneurs pour caissons sont en plastique ou en métal.

Caisson en plastique
Les caissons en plastique ont commencé à être utilisés dans les années 2000. Les caissons sont fabriqués à partir de plastiques non toxiques et de fibre de verre.
Plus des caissons plastiques en étanchéité et légèreté. Le caisson en PVC peut être installé par 2-3 ouvriers sans équipement de levage.
Moins - les parois du caisson peuvent traverser le sol et se déformer.
Couler du béton dans l'espace libre entre les parois du caisson et la chaudière. Cela isolera le caisson et le protégera de la déformation.
Caisson métallique
Un caisson en fer ne se déformera pas avec le sol. Les coutures bien soudées et le métal recouvert d'un revêtement anti-corrosion sont un gage d'étanchéité. Si le caisson métallique n'est pas isolé, du givre se formera sur la surface intérieure froide.
Moins caisson en fer - poids. Pour la mise en place dans la fosse, une grue est nécessaire.
Aménagement d'un puits dans un puits constitué d'anneaux en béton
L'aménagement hivernal du puits avec des anneaux en béton se fait dans les zones où l'eau de pluie ne s'accumule pas.
L'inconvénient d'aménager un puits avec un caisson constitué d'anneaux en béton est que les joints ne sont pas étanches, à travers lesquels le liquide va remplir le puits et endommager l'équipement.

Harnais avec adaptateur
L'adaptateur est placé à l'intérieur de la colonne de tubage. Il s'agit d'un remplacement pour une pièce chaude.
- un adaptateur qui sécurise la pompe en dessous du point de congélation, et le rôle du caisson est assuré par le tube de tubage lui-même.

L'avantage de l'invention est la protection du puits contre les eaux souterraines et le prix. Cependant, il y a des inconvénients :
- L'adaptateur est monté dans des bâtiments à une colonne.
- L'étanchéité est assurée uniquement par une colonne de tubage métallique. Les tuyaux en plastique ne maintiennent pas les joints étanches.
- L'adaptateur est démonté et déconnecté une fois par an pour empêcher la "croissance" des nœuds.
Vidéo d'installation de l'adaptateur :
L'adaptateur de forage pour un puits ne peut pas être installé dans les zones où les hivers sont longs et rigoureux.
Principaux types de puits
À ce jour, il existe plusieurs structures massives et éprouvées qui assureront l'écoulement de l'eau des travaux dans le sol. La sélection du type de puits est une question responsable, qui devrait être basée sur les résultats des études hydrogéologiques. L'utilisation du type de puits est dictée, ainsi que les conditions du site, par les besoins en eau des propriétaires.Après tout, les schémas d'approvisionnement en eau d'une maison de campagne d'été avec jardin et potager et d'une maison à deux étages pour vivre toute l'année de deux familles seront très différents.
Puits ordinaire
Cet attribut de la vie à la campagne, familier à tout le monde au moins dans les films et les dessins animés, est le moyen le plus simple d'obtenir de l'eau. Sa profondeur dépasse rarement 4-5 mètres, deux ou trois cubes d'eau s'accumulent toujours au fond. Lors du raccordement d'une pompe submersible et d'un équipement de conduite d'eau à la maison, il est tout à fait possible d'utiliser un puits pour l'approvisionnement en eau. Certes, l'utilisation intensive d'une telle eau ne fonctionnera pas et sa qualité laisse beaucoup à désirer.

Puits abyssin
Ce nom cache un système de tuyaux à paroi épaisse avec un filtre à mailles ou perforé à l'extrémité. Les tuyaux sont martelés dans le sol par un dispositif spécial, familièrement appelé une "femme". L'extrémité d'admission avec le filtre atteint l'aquifère. Au sommet, une pompe manuelle ou électrique est disposée. Les performances de ce puits à aiguille sont légèrement supérieures à celles d'un puits standard, et son installation est moins chère, mais comme il n'y a pas de stockage dans le système, il faudra oublier le débit intensif.

Il est généralement admis que l'eau du puits abyssin est technique et ne convient qu'à l'irrigation. Cependant, avec une situation hydrogéologique favorable, il pourrait bien être propre. Bien sûr, vous ne devez pas le boire sans filtration ni ébullition, mais vous devez le laver et le laver, car il est assez doux.
profondeur moyenne
Son deuxième nom est un puits dans le sable. Pour cela, le forage est déjà utilisé jusqu'à couche de sable de l'aquifère. En règle générale, la profondeur de cette formation est de 15 à 30 mètres.Pour renforcer la structure, des tuyaux de tubage sont utilisés - en acier, et maintenant des tuyaux en polymère moins chers et non corrosifs. Les puits dans le sable fournissent une eau assez propre, mais il est également préférable de la faire passer à travers un filtre et un désinfectant. Un puits de profondeur moyenne a sa propre durée de vie. Sa défaillance n'est même pas liée à la résistance de la structure, mais au fait que le filtre de la prise d'eau est envasé. Avec le temps, il devient impossible de le nettoyer, et il faut forer un nouveau puits. La durée de vie normale moyenne est d'environ dix ans. Avec une utilisation active, il est réduit.

Artésien
Le plus profond des puits domestiques et sert beaucoup plus longtemps que tous les autres - environ 80 ans, voire plus. Mais il a un inconvénient tangible - une grande complexité et une grande quantité de travail rendent le prix très élevé. Tout dépend de la profondeur à laquelle le forage est effectué. Un puits artésien atteint une profondeur de plus de 100 m et traverse plusieurs couches molles et dures - limon, argile, sable aquifère, jusqu'à ce qu'il atteigne du calcaire ou même des roches plus dures avec des aquifères.
Un puits profond dans une pierre n'a pas besoin de tubage d'extrémité ni de filtres - après tout, l'eau provient directement des roches, où le sable ne se trouve plus. De plus, à une telle profondeur, l'eau est sous pression et pénètre dans le système par gravité - une pompe est déjà nécessaire pour alimenter la pièce en eau. D'autre part, un tel prélèvement d'eau nécessite déjà un enregistrement par l'État. Eh bien, la complexité des travaux effectués détermine leur coût élevé.

Côté juridique du problème
La question de l'éligibilité à la construction de puits dans sa propre zone pour l'approvisionnement en eau est régie par la loi de la Fédération de Russie "Sur le sous-sol" et un certain nombre de documents réglementaires.Conformément à l'art. 19 de cette loi, les propriétaires fonciers ont le droit de construire des puits et des forages pour utiliser l'eau de l'aquifère supérieur, ce qui ne nécessite aucun permis, sauf pour le respect des normes sanitaires. Si le puits est foré dans des formations inférieures (puits artésiens), une licence sous la forme prescrite doit être obtenue et la consommation d'eau est taxée.
Pour l'obtention d'une licence pour la construction d'un puits profond, l'ensemble de documents suivant est soumis :
- passeport technique pour le puits;
- conclusion de la station sanitaire et épidémiologique et basée sur les résultats d'une étude hydrogéologique ;
- documents cadastraux;
- résultats des analyses d'eau;
- limites établies de consommation d'eau;
- déclaration d'impôt.

La taxe d'utilisation du puits est fixée en fonction de la réglementation locale et dépend du volume de consommation. Pour clarifier le montant, l'approvisionnement en eau doit être équipé de dispositifs de mesure de la consommation.
Lors de la planification de la construction d'un puits, la législation locale doit être clarifiée. Le fait est que dans un certain nombre de régions du pays où il y a des problèmes d'équilibre hydrique et où des zones sanitaires spéciales ont été établies, la loi autorise également l'octroi de licences pour les sources d'eau peu profondes. Dans de tels cas, des mesures restrictives sont possibles en termes de limites de consommation, de profondeur de forage, de puissance de pompage. Afin d'exclure les problèmes juridiques après le début de l'exploitation de votre approvisionnement en eau, il est recommandé de clarifier toutes les nuances avec les autorités de surveillance locales compétentes.
Comment choisir et où installer les filtres à eau
L'eau à différents endroits diffère par sa composition chimique et bactériologique. Beaucoup de sels y sont dissous ou, au contraire, il y en a une absence presque totale. Les deux peuvent affecter négativement le bien-être de la personne qui l'utilise et les performances des appareils ménagers qui utilisent de l'eau dans leur travail. Par conséquent, l'ensemble de filtres primaires à différents endroits sera différent.

Le schéma général de filtration reconnaît la division en eau utilisée à des fins domestiques et pour la cuisine et la boisson. Pour les usages domestiques, il suffit d'installer des filtres grossiers et, dans certains cas, des filtres qui absorbent les sels de fer et de calcium. Ils sont installés immédiatement après la sortie de l'eau de la station de pompage. L'eau potable doit subir une purification supplémentaire de la microflore pathogène, des sels de métaux lourds et une minéralisation excessive (ou, au contraire, doit être reconstituée avec des sels et des ions déficients dans la région).
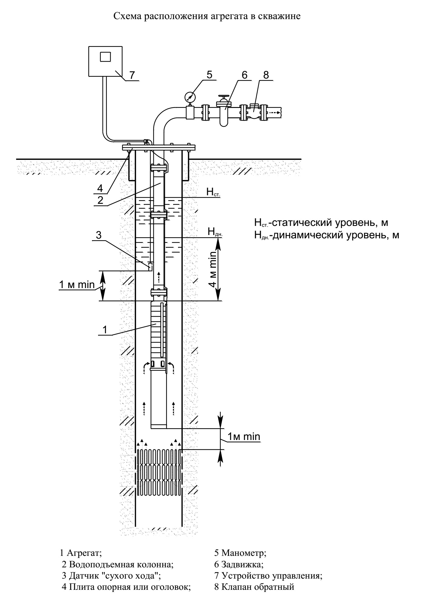
Le dispositif et le principe de fonctionnement des stations de pompage
Les méthodes pour remonter l'eau des intestins à la surface dépendent de la profondeur du puits. S'il dépasse 20 mètres, cela nécessitera une pompe profonde et un réservoir intermédiaire équipé de capteurs pour les niveaux d'eau supérieur et inférieur, qui seront automatiquement remplis par la pompe lors de son analyse. L'eau du réservoir s'écoule à travers le clapet anti-retour jusqu'à l'entrée d'un appareil qui maintient une pression donnée dans le réseau d'alimentation en eau de la maison - un hydrophore.

Si la profondeur du puits est inférieure à 20 mètres, un appareil compact et fiable, une station de pompage automatique, peut être installé pour extraire le vaga qui donne la vie. Il combine deux unités en une - une pompe profonde et un hydrophore.Dans le même temps, le réservoir intermédiaire et le système d'automatisation pour contrôler son remplissage disparaissent, car l'eau élevée pénètre immédiatement dans le système d'alimentation en eau.

1 - hydrophore; 2 - tuyau flexible ; 3 - pompe à entraînement électrique ; 4 - pressostat ; 5 - entrée pour l'alimentation en eau
Toutes les stations de pompage se composent des unités fonctionnelles suivantes :
- prise d'eau avec grille et clapet anti-retour, située directement dans le puits;
- conduite d'aspiration, à travers laquelle l'eau monte du puits et est introduite dans le corps de la pompe;
- une pompe centrifuge, qui crée d'une part un vide, grâce auquel l'eau monte, et d'autre part, une pression, grâce à laquelle l'eau pénètre dans la maison et y est distribuée aux consommateurs;
- un pressostat qui allume le moteur électrique lorsque la pression descend en dessous de la valeur de consigne et l'éteint lorsque la pression supérieure est atteinte ;
- réservoir - un récepteur (ou accumulateur hydraulique), composé de deux moitiés, séparées par une membrane élastique, qui compense l'effet du choc hydraulique qui se produit lorsque la station est allumée;
- un moteur électrique couplé mécaniquement à la pompe et électriquement au pressostat ;
- manomètre à aiguille, qui sert à contrôler visuellement la pression dans la ligne et à l'ajuster si nécessaire.
De plus, selon la disposition de la canalisation d'aspiration, les stations de pompage sont divisées en monotube et bitube (éjecteur). Les stations monotubes ont une conception de prise d'eau simple et l'eau pénètre dans le boîtier de la pompe par une seule conduite. Les stations à deux tubes ont un dispositif plus complexe, qui comprend un éjecteur en fonte complètement immergé dans l'eau. L'avantage des stations monotube est la facilité d'installation.Les stations de pompage à deux tuyaux utilisent pour soulever l'eau non seulement le vide créé par la roue de la pompe, mais également une augmentation supplémentaire de celui-ci en raison de l'inertie de l'eau circulant en cercle pendant le fonctionnement de la station. Ils sont capables de soulever de l'eau d'une plus grande profondeur avec moins de puissance.
Pourquoi meubler ?
Après forage, le puits doit être équipé pour éviter la pollution, les phénomènes atmosphériques et les facteurs défavorables. Ils affectent négativement le fonctionnement ultérieur. Entre le forage d'un puits et l'alimentation en eau de la maison, l'équipement est sélectionné, la source est aménagée et l'équipement sélectionné est installé. Ce type d'arrangement résout un certain nombre de problèmes :
- protection de l'équipement et de la source elle-même contre le gel pendant la saison froide ;
- assurer la propreté à l'intérieur de la source, qui est garantie par sa fermeture hermétique ainsi que l'équipement utilisé ;
- formation des conditions d'entretien et de connexion des équipements.
Pompes de puits

Le choix de la pompe pour le puits est important. La pompe achetée détermine la durée de fonctionnement du système d'alimentation en eau et son efficacité. Lors du choix, vous devez vous concentrer sur un certain nombre de paramètres importants :
- Performance. L'indicateur de performance décrit la quantité d'eau produite par unité de temps. Le paramètre est mesuré en litres d'eau par minute.
- Du pouvoir. La puissance de l'équipement fait référence à la puissance de fonctionnement. L'intensité et la performance des ressources dépendent directement de la puissance. La nécessité de choisir une solution de haute qualité pour les besoins et le budget ne doit pas se concentrer sur les modèles les plus puissants. Les critères de sélection doivent refléter les besoins en eau de la ferme.
- Profondeur et diamètre du puits.Les paramètres de profondeur et de diamètre sont d'une importance fondamentale lors du choix d'une pompe. L'utilisation de l'équipement et le fait qu'il puisse s'intégrer dans un puits particulier en dépendent directement. Les paramètres sont spécifiés par un spécialiste. Il est consulté avant de choisir un modèle d'appareil spécifique. Un achat basé sur l'avis de professionnels est réussi.
- Tête. Le paramètre est fondamental pour les objets ayant besoin d'élever l'eau à une grande hauteur, pour organiser l'arrosage des plantes sur le site. Plus la pression est élevée, meilleur est l'approvisionnement en eau aux étages supérieurs des bâtiments et lors de l'irrigation. La pression est directement liée à la performance. Vous devrez payer plus pour plus de puissance.
- Prix. Les machines puissantes sont plus chères. La dépendance est simple, de sorte que les acheteurs ont la possibilité d'obtenir le produit souhaité après avoir déterminé ses principales caractéristiques. Les appareils coûteux sont ceux produits par des marques étrangères bien connues d'équipements professionnels. L'équipement a une garantie de longue durée et une fabrication de haute qualité. Afin de ne pas surpayer, il va falloir trouver le rapport optimal prix/fonctionnalité.






































