- Principales différences avec les autres modèles
- Pompe "Aquarius" pour offrir
- Avantages des stations de pompage Aquarius
- Inconvénients de la gamme
- Qu'est-ce que
- Comment fonctionne la machine
- Accessoires
- Installation et raccordement des pompes Aquarius
- Pompe vibrante "Aquarius": caractéristiques, avantages et inconvénients
- Spécifications des pompes vibrantes Aquarius
- Pompes de forage Aquarius
- Pompes de surface Aquarius
- Pompes de drainage Aquarius
- Dispositif
- Pompes profondes "Vodoley" - caractéristiques, prix et qualité
- Réparation et nettoyage
- Caractéristiques de conception des pompes électriques Aquarius
- Sélection et installation de la pompe
- Marquage et modèles populaires
- Auto-assemblage
- Conclusions et vidéo utile sur le sujet
Principales différences avec les autres modèles
En choisissant les produits de ce fabricant, vous pouvez être sûr qu'ils sont fabriqués uniquement avec des matériaux respectueux de l'environnement, tels que :
- Acier;
- Laiton;
- Plastique alimentaire.
Cela garantit la pureté de l'eau pompée et exclut la possibilité que des impuretés y pénètrent.
Une autre différence par rapport aux appareils similaires est le rendement élevé des pompes Aquarius. Ils consomment une petite quantité d'électricité pendant le fonctionnement et résistent aux surtensions.
La division du corps en deux compartiments empêche l'huile moteur utilisée pour faire fonctionner le moteur de pénétrer dans l'eau.
Pompe "Aquarius" pour offrir
La station de pompage Aquarius a acquis une popularité particulière parmi les résidents d'été il y a seulement quelques décennies, lorsqu'une nouvelle société ukrainienne, Promelectro, est entrée sur le marché des fosses septiques, des systèmes de drainage et des stations de pompage.
En raison de la qualité de construction décente et du coût relativement faible, Promelectro a réussi à attirer l'attention positive de millions de résidents d'été non seulement en Ukraine et en Russie, mais également dans les pays voisins de la CEI.
Les pompes profondes Aquarius sont capables de prélever de l'eau à une distance de 20 à 200 m de la surface de la terre. Dans le même temps, la société propose des options budgétaires pour 1 parcelle, ainsi que des options plus puissantes - jusqu'à 3-4 parcelles, en fonction de leur superficie totale totale.

Gamme de modèles de pompes submersibles Aquarius
Avantages des stations de pompage Aquarius
Pourquoi les utilisateurs préfèrent cette marque particulière :
- La profondeur de la montée de l'eau - contrairement à la plupart des modèles de la classe budgétaire (par exemple, le même Belamos, le niveau maximum de montée de l'eau ne dépasse pas 30 m), tandis que la pompe à eau Aquarius est capable d'obtenir de l'eau du fond du puits , dont la profondeur est d'environ 180 m ;
- La pompe de puits Aquarius appartient à des modèles entièrement submersibles avec une isolation électrique fiable, pour lesquels l'eau est un fluide de refroidissement;
- Malgré son bon marché comparatif, il n'est en aucun cas inférieur aux pompes étrangères plus chères;
- Selon les caractéristiques techniques de la pompe Aquarius, la fourchette de prix est comprise entre 5 et 25 000 roubles avec de petites erreurs dans les deux sens;
- La gamme de pompes centrifuges Aquarius se distingue par les appareils les plus puissants de sa catégorie de prix. Même la pompe la plus petite et la moins puissante pour un puits et un puits, Aquarius, est capable de fournir une tête maximale d'une colonne d'eau de 70 à 80 m, capable de fournir de l'eau à une petite famille de 2 à 3 personnes;
- Lorsqu'elles sont achetées auprès d'un fournisseur officiel, les pompes submersibles sont livrées complètes ;
- Avec une puissance impressionnante et des performances élevées, la pompe profonde Aquarius ne consomme pas beaucoup d'énergie électrique, ce qui lui permet également de rester en tête des ventes parmi les analogues domestiques.
- Lorsqu'il est acheté auprès d'un fournisseur agréé, le service de garantie est inclus. Cependant, les problèmes d'auto-réparation de l'appareil ne devraient pas non plus survenir.
Inconvénients de la gamme
Contrairement aux analogues européens, la pompe électrique ne peut pas se vanter d'une automatisation complète et d'un fonctionnement silencieux absolu, et elle n'est pas équipée de toutes sortes d'options de protection, telles que la protection contre la surchauffe de l'appareil. Par conséquent, vous devrez surveiller systématiquement le fonctionnement de l'appareil et s'il a surchauffé.
Qu'est-ce que

À quoi ressemble la conception d'une pompe électrique dans une section
La structure des modèles de puits submersibles des stations de pompage de différents fabricants est approximativement la même et comprend:
- secteur à plusieurs étages pour augmenter la pression du fluide ;
- moteur électrique;
- filtre;
- boîte à condenseur.
L'unité de pompage, ou plutôt la turbine, est responsable des performances de la station : plus elle est grande, plus l'eau coule à la fois.
Comment fonctionne la machine
Caractéristiques de l'appareil :
- Pour transporter l'eau vers le haut du puits, un niveau de pression suffisant dans le tunnel est nécessaire.Dans l'appareil submersible, une pression est créée en raison du fonctionnement des roues à aubes, qui sont reliées au moteur par l'intermédiaire de l'arbre de la tige ;
- Le filtre fourni dans la station d'eau ne permet pas aux petits débris et au sable de passer avec le liquide. Son installation est nécessaire dans deux cas : d'une part, le champ filtrant protège la pompe elle-même d'une usure rapide, et d'autre part, il fournit une eau sans impuretés ;
- Les pompes submersibles ne créent pas de vibrations, contrairement aux stations de vibration, par conséquent, elles ne prélèvent pas le sable du fond avec l'eau. Comme le montre la pratique, même avec un entretien rapide de l'appareil, la durée de vie moyenne d'une pompe centrifuge dépasse la barre des 10 ans, tandis que les modèles de vibration survivent à peine à la garantie.
Accessoires
Pour la première fois en équipant un puits pour le transport de l'eau pour les besoins domestiques, il est nécessaire d'acheter les équipements suivants :
- Accumulateur hydraulique. Selon le nombre de consommateurs réguliers, un modèle de 100-120 litres suffira pour une famille de plusieurs personnes ;
- Câble sous-marin ;
- Partie portante supérieure du puits ;
- manomètre ;
- Tuyau pour usage extérieur (relie la pompe et le réservoir);
- Pressostat.

Manomètre pour station de pompage
Souvent, les utilisateurs achètent en plus un autre câble avec des pinces, notant une certaine fragilité de celui déjà fourni avec la pompe.
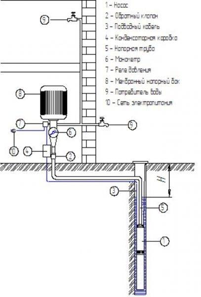
Installation et raccordement des pompes Aquarius
Comme toutes les électropompes submersibles de fond pour l'alimentation en eau individuelle, BTsPE est conçue pour fonctionner dans le cadre d'une installation d'alimentation en eau complète avec les principaux composants des stations de pompage standard : un accumulateur hydraulique, un marche à sec et un pressostat, un manomètre, un filtre.
Avant de mettre l'appareil en service, effectuez les étapes suivantes :
- connecter la pompe à l'aide d'une prise au réseau électrique, en s'assurant que le câble d'alimentation est intact ;
- connecter le tuyau de sortie de la pompe électrique à la conduite sous pression à l'aide de raccords de transition, le tuyau doit avoir un diamètre de 1 pouce;
- attacher le câble aux oreilles du couvercle supérieur de l'unité, à l'aide de ruban isolant ou de pinces en plastique, connecter le tuyau d'eau, le câble et le câble électrique avec un pas de 1 à 2 mètres, en évitant les tensions sur ce dernier ;
- la pompe électrique est descendue dans le puits, en fixant le câble et le tuyau sur la tête, tandis que la profondeur de son immersion sous l'eau ne doit pas dépasser 10 mètres à une distance du fond de 40 cm.
Pendant le fonctionnement, il est nécessaire de s'assurer que la pompe électrique est complètement abaissée dans l'eau et que le câble d'alimentation est déroulé.
Pompe vibrante "Aquarius": caractéristiques, avantages et inconvénients

La pompe vibrante Aquarius est l'assistant le plus fiable de votre maison de campagne. Cette marque s'est solidement établie dans les positions de leader du marché mondial. Premièrement, cela est dû à son prix abordable et, deuxièmement, à la qualité des produits.
Spécifications des pompes vibrantes Aquarius
La marque "Aquarius" propose une large gamme d'équipements pour l'approvisionnement en eau:
- ce sont des pompes pour travailler avec de l'eau sale, dans laquelle il y a une forte teneur en sable;
- pompes électriques, avec système centrifuge.
Pompes de forage Aquarius
Les pompes de fond comprennent les modèles suivants :
- pompes Aquarius 1 BTsPE ;
- Pompes Aquarius 3 ;
- Escarpins Aquarius 16.
Pompe Aquarius BTsPE 0,32 - productivité de l'équipement 0,32 m3 par seconde, pendant 1 heure - c'est 3,6 m3 d'eau. Pression constante à une hauteur de 40 mètres.
Idéal pour une maison privée, ainsi qu'un chalet d'été. Convient également pour l'approvisionnement en eau industrielle et pour l'extinction des incendies. Silencieux lorsqu'il est allumé.
Pompe Aquarius BTsPE 032-32U - ne pèse que 10,5 kilogrammes, dispose d'un moteur électrique monophasé. En plus de fournir de l'eau potable, il peut également faire face à l'arrosage des terres. La hauteur de la pression de l'eau atteint 32 mètres et la productivité pendant 1 heure est de 1,2 m3.
Pompe Aquarius BTsPE 0,5 - utilisée dans des puits d'un diamètre de 120 mm. Équipé d'un moteur puissant qui fournit une pression d'eau à une certaine hauteur.
Le modèle le plus populaire est la pompe Aquarius BTsPE U 05-32. Il est utilisé pour un puits de diamètre inférieur à 110 mm. Pression d'eau constante - jusqu'à 48 mètres. La productivité est de 3,6 litres par heure. Le prix de ce modèle est abordable et est de 7000 roubles.
Conçu pour le travail uniquement avec de l'eau propre. Poids 4 kilogrammes.
Il a un corps en plastique et un piston en caoutchouc. Traité avec un composé qui rend ces équipements étanches.
Convient aux puits peu profonds ou aux réservoirs. Il y a une télécommande pour contrôler la pompe.
Pompes de surface Aquarius
Pratique s'il y a un plan d'eau à proximité. Il n'est pas permis d'abaisser cette pompe dans l'eau, car. tous les systèmes internes ne sont pas protégés et si de l'humidité pénètre, ils tomberont immédiatement en panne.
Deux modèles principaux, qui à leur tour ont des sous-espèces :
- pompe Aquarius BTsPE 1.2 - la productivité atteint 1,2 m3 en 1 sec. La pression de la colonne d'eau atteint 80 m.La masse de la pompe dépend également du modèle choisi : de 7 à 24 kg.
- Pompe Aquarius BTsPE 1.6 - indicateur de performance de la pompe 1,6 m3 en 1 sec. Pression d'eau stable à une hauteur de 40 m.Le poids de l'appareil dépend également de la variété.
Pompes de drainage Aquarius
Drainage - une telle pompe est utilisée pour pomper l'eau sale d'un puits fraîchement creusé ou pour drainer les sous-sols.
Des systèmes de filtration sont nécessairement intégrés aux pompes de vidange pour empêcher les particules solides de pénétrer dans l'équipement. La position dans laquelle ces pompes sont utilisées est verticale.
La pompe vibrante à deux soupapes Aquarius BV-0.14-63-U5 présente les caractéristiques suivantes :
- produit en Ukraine;
- répond à toutes les normes de l'État ;
- répond à toutes les exigences de sécurité ;
- submersible avec un système de prise d'eau à deux vannes;
- la hauteur de la colonne d'eau atteint 63 mètres;
- conçu pour fonctionner dans des puits et des puits à une profondeur maximale de cinq mètres;
- installé verticalement ;
- le diamètre du puits doit être de 90 mm.
Selon les critiques, la pompe vibrante à deux soupapes Aquarius BV-0.14-63-U5 présente les avantages suivants :
- facile à utiliser;
- l'équipement lui-même est léger (seulement 3,8 kg.) et compact, de sorte qu'une seule personne peut facilement le manipuler ;
- pas nécessaire, remplissez d'abord d'eau ;
- fabriqué avec des matériaux de haute qualité, avec traitement anti-corrosion ;
- sans prétention au travail.
Ce modèle est idéal pour l'approvisionnement en eau potable et pour l'arrosage du potager. La conception de la pompe Aquarius Poseidon est unique et faite de matériaux de haute qualité.
La pompe vibrante Aquarius se compose d'un moteur électrique et d'un équipement de pompage.
Chaque pompe est accompagnée d'un manuel d'instructions avec des règles de fonctionnement, qui reflète ce qui suit :
- La température de l'eau dans laquelle se trouve la pompe ne doit pas dépasser 350C ;
- Le panneau de commande de la pompe doit être protégé des précipitations ;
- Il doit y avoir une distance d'au moins 40 cm entre le fond du puits et la pompe ;
- La pompe allumée doit être complètement dans l'eau;
- Avant de brancher la pompe au réseau électrique, il faut d'abord la plonger dans l'eau pendant 10 minutes ;
- La pompe est destinée à pomper de l'eau propre uniquement.
Avantages de l'utilisation de la pompe vibrante Aquarius :
Sur le site officiel de Vinnitsa, vous trouverez une gamme complète de pompes vibrantes Aquarius.
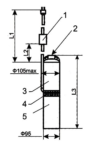
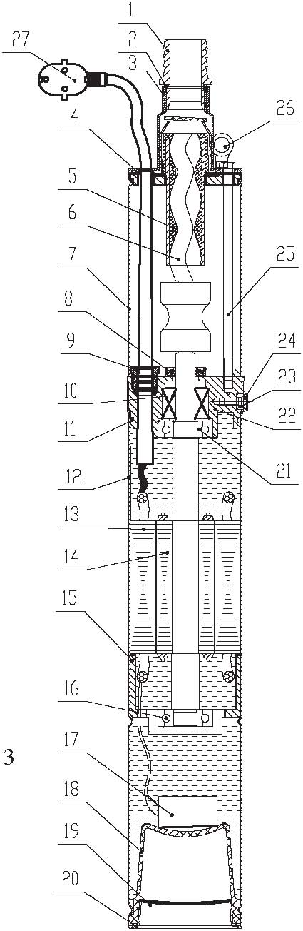
Dispositif
L'appareil submersible ressemble à une capsule oblongue de petit diamètre - seulement 10-16 cm.D'autres modèles de la gamme Aquarius 0.32 peuvent avoir un diamètre plus petit.
Une pompe submersible fonctionnera en tournant ou en forçant l'eau à l'intérieur du boîtier. Après que l'eau est alimentée par le tuyau et pénètre dans le système. Ils fabriquent un produit à partir d'acier inoxydable, de thermoplastique et d'autres alliages.
Les modèles submersibles sont divisés en un certain nombre de sous-espèces. Selon le principe de fonctionnement, ils sont divisés en modèles centrifuges et vortex, produits à vis et à vibration. Les 3 premiers types sont très similaires les uns aux autres. Ils ne diffèrent que par la manière dont ils élèvent le liquide :
- Les dispositifs centrifuges Aquarius appliquent les forces centrifuges de rotation d'un certain nombre de petits rotors à la fois. Les rotors pompent l'eau, puis la font couler dans les tuyaux sous la forme d'une spirale et l'injectent activement dans le tuyau. C'est la variété la plus demandée de ce type de produit.
- Le dispositif submersible vortex forme un vortex normal dans la chambre, ce qui aide à élever le liquide à un certain niveau. En termes de pression, ils sont souvent égaux ou légèrement inférieurs aux appareils centrifuges, mais en termes de pression, ils les devancent largement.
- Les dispositifs à vis utilisent des vis puissantes mais d'apparence primitive qui pompent le fluide et l'alimentent vers le haut.

Le dispositif de vibration est déjà un modèle d'un type complètement différent. Même le produit vibrant est différent des autres modèles. Son corps est plus gros et non allongé. Cela fonctionne grâce à la rotation du moteur d'un outil spécial à l'intérieur de l'appareil - cela provoque des vibrations multifréquences. L'effet de vibration dans la chambre sera transféré à l'eau et stimulera son écoulement. De cette façon, il est possible d'élever l'eau à tous les niveaux requis sans utiliser de tarières, de turbines, de vis ou quoi que ce soit de ce genre.
Le produit de vibration est inférieur aux trois premières variétés en termes d'efficacité d'application, mais il est beaucoup moins cher, plus simple à utiliser et ne se cassera pas au contact d'un liquide sale.
Selon le type d'immersion, les appareils sont divisés en:
- la norme;
- Profond.


Les modèles conventionnels plongent à un niveau allant jusqu'à 50 m. Eh bien, les versions profondes de l'Aquarius peuvent fonctionner à des marques de 60 à 80 m de profondeur ou légèrement plus bas.
Les modèles de surface n'ont pas beaucoup de sous-types et ne sont utilisés que pour desservir de petits puits. Le problème est qu'avec une tête de 25 à 30 m, ils peuvent pomper du liquide jusqu'à une profondeur de 10 m, mais tous les puits ne peuvent pas avoir un niveau aussi élevé. Les avis des consommateurs indiquent que la pompe de type surface est aussi fiable et pratique que possible, mais ses caractéristiques techniques et son bruit de fonctionnement important sont des qualités négatives.


Pompes profondes "Vodoley" - caractéristiques, prix et qualité
La gamme comprend des appareils de différentes capacités. Les prix varient selon les caractéristiques, et cette correspondance est tout à fait justifiée. La qualité est toujours excellente et le coût est minime.

Pour que l'achat soit rapide, vous devez acheter une telle pompe pour un puits qui vous permettra de pomper l'eau et de la transférer par un pipeline jusqu'à la maison sans équipement supplémentaire. Par conséquent, la profondeur des eaux souterraines est le principal critère de sélection d'un modèle.
| Verseau - Consommation BTsPE : 1,2 m³/h | tête en mètres | Consommation électrique - W | Prix estimé en roubles pour 2019 |
|---|---|---|---|
| 0,32 25U | 25 | 440 | 7750 |
| 0,32 32U | 32 | 500 | 8050 |
| 0,32 40U | 40 | 680 | 8900 |
| 0,32 50U | 50 | 900 | 9950 |
| 0,32 63U | 63 | 1000 | 11 200 |
| 0,32-80U | 80 | 1290 | 11 600 |
| 0,32-100U | 100 | 1600 | 14 450 |
| 0,32-120U | 120 | 1950 | 19 250 |
| 0,32 140U | 140 | 2500 | 21 450 |
| Aquarius - Consommation BTsPE : 1,8 m³/h | tête en mètres | Consommation électrique - W | Prix estimé en roubles pour 2019 |
|---|---|---|---|
| 0,5 16U | 16 | 400 | 7100 |
| 0,5 25U | 25 | 550 | 8150 |
| 0,5 32U | 32 | 650 | 8950 |
| 0,5 50U | 50 | 970 | 10 650 |
| 0,5 63U | 63 | 1270 | 11 950 |
| 0,5 80U | 80 | 1630 | 14 700 |
| 0,5 100U | 100 | 2050 | 16 750 |
| Aquarius - Consommation BTsPE : 4,3 m³/h | tête en mètres | Consommation électrique - W | Prix estimé en roubles pour 2019 |
|---|---|---|---|
| 1.2-12U | 12 | 550 | 8400 |
| 1.2-16U | 16 | 730 | 9750 |
| 1.2-25U | 25 | 900 | 10450 |
| 1.2-32U | 32 | 1170 | 10 700 |
| 1.2-40U | 40 | 1340 | 11 800 |
| 1.2-50U | 50 | 1600 | 12 350 |
| 1.2-63U | 63 | 2080 | 15 050 |
| 1.2-80U | 80 | 2820 | 17 200 |
30 mètres. Les pompes pour puits "Aquarius", installées dans le puits du bassin abyssin, fournissent à la surface un liquide adapté à l'irrigation ou à une utilisation à des fins techniques. Pour pouvoir l'utiliser à la maison, vous devez installer un système de filtration à plusieurs étages. Le prix des équipements de pompage de faible puissance est minime et abordable pour tout le monde.
50 mètres. L'eau des puits au sable peut être utilisée pour résoudre les problèmes domestiques. Elle passe par une filtration naturelle sur sable, mais pour la boire il faut la faire passer à travers un filtre. La puissance de ces équipements est plus élevée et proportionnelle au coût.
80 mètres. Cette catégorie de pompes convient également aux puits de sable. Ce n'est qu'à partir de cette profondeur que l'eau est fournie après filtration naturelle en profondeur. Par conséquent, il convient aux procédures hygiéniques.
100 mètres.C'est la limite minimale d'occurrence de l'eau artésienne. Il est propre et adapté à la cuisson. Par conséquent, un nettoyage en plusieurs étapes n'est pas nécessaire.
150 mètres. A cette profondeur, le calcaire apparaît. Et l'aquifère contient une eau cristalline, enrichie de composés minéraux et de macronutriments bénéfiques pour la santé humaine.
Réparation et nettoyage
Dans la plupart des cas, l'arbre de la lame s'arrête de tourner lorsque du limon, du sable, de la saleté ou de l'argile obstrue la chambre de travail et la bloque. L'avantage de la pompe à eau "Aquarius" est que le blocage peut être éliminé indépendamment, sans contacter un centre de service. Pour ce faire, vous devrez effectuer les étapes suivantes :
- Retirez le treillis métallique de protection. Dans les anciens modèles, il est fixé avec des vis. Dans les nouveaux - avec des pinces qui doivent être desserrées avec un tournevis.
- Débranchez le moteur électrique. Structurellement, la chambre de travail et l'équipement électrique sont situés dans diverses parties, qui sont fixées avec des boulons.
- Diriger un jet d'eau sur le blocage de boue, nettoyer les lames. Dans ce cas, à l'aide d'une clé à molette, il est nécessaire de faire tourner périodiquement l'arbre.
- Assemblez la pompe. Le montage s'effectue dans l'ordre inverse de celui décrit ci-dessus. Le raccordement au secteur est la dernière étape.
Avant de commencer les travaux, la pompe à eau électrique est déconnectée de l'alimentation électrique. En cas d'endommagement ou de destruction des roues, la partie pompe de l'unité est démontée. Il est préférable de confier cette procédure à des spécialistes du centre de service, car le processus est laborieux et nécessite une connaissance approfondie des caractéristiques de conception.
Si ce n'est pas possible, procédez comme suit :
- Avec force, pressez le corps le long de l'axe longitudinal. L'accent pour la presse est un élément en laiton installé à l'extrémité de la structure.
- Retirez la bague de retenue.Il se dilatera dès que le corps sera comprimé. Pour cela, vous aurez besoin de pinces.
- Enlevez les roues. Cela doit être fait de manière à ne pas endommager les roulements et les lames. Le travail demande de la précision.
- Éliminez la cause du blocage et assemblez la pompe. Le montage s'effectue dans l'ordre inverse. Si nécessaire, les pièces usées sont remplacées par des neuves.
Pour démonter la partie mécanique, vous aurez besoin d'une presse, ce que tout le monde n'a pas. Il peut être plus simple et plus sûr de se tourner vers des spécialistes et de leur confier des réparations dont le succès est garanti.
Caractéristiques de conception des pompes électriques Aquarius
La pompe submersible Aquarius pour la prise d'eau présente les caractéristiques de conception suivantes :
- L'unité se compose de modules: une unité avec un moteur électrique dans la partie inférieure et un bloc de roues dans la moitié supérieure, une crépine est installée au milieu du boîtier.
- Le corps de la pompe électrique est en acier inoxydable, un couvercle en laiton est installé en haut avec un filetage de 1 pouce à l'intérieur et deux pattes latérales pour la fixation d'un câble de suspension.
- L'unité dispose d'un module de condensateur externe avec un câble d'alimentation et une fiche avec un contact de mise à la terre (classe de protection électrique I), un relais thermique allemand Thermik est intégré dans l'enroulement de la pompe électrique pour protéger contre la surchauffe.
- Il n'y a pas de clapet anti-retour intégré dans le corps de pompe; lors du raccordement de la canalisation, il est installé dans l'adaptateur à la sortie de l'unité.

Riz. 4 Paramètres de pression BPCE 0.32, BPCE 0.5
Sélection et installation de la pompe
L'usine de Kharkov "Promelektro" sous la marque "Aquarius" produit des unités :
- au sol ;
- pompes de drainage profond (pour eaux sales);
- pompes de forage pour l'eau potable.
Vous pouvez les distinguer dans le catalogue grâce à un marquage.

Les pompes submersibles peuvent fournir de l'eau à la fois à une maison et à tout un quartier.
Marquage et modèles populaires
Nous sommes intéressés par les pompes Aquarius BTsPE (électropompes submersibles centrifuges domestiques). Il est facile de comprendre le marquage, par exemple, prenons la pompe Aquarius BTsPE 0.5-100U 60/150 :
- 0,5 - signifie productivité, le nombre de litres par seconde (l / s);
- 100 est la hauteur de la colonne d'eau en fonctionnement normal, mesurée en mètres ;
- 60 est également une caractéristique de performance, mais déjà en fonctionnement en mode surcharge, elle est mesurée en litres par minute (l / m);
- 150 est la hauteur de la colonne d'eau en mode surcharge.

Lors du choix d'une pompe de forage Aquarius, vous pouvez utiliser le calendrier.
Les pompes Aquarius BTsPE se divisent en 4 domaines en termes de performances :
- BTsPE-0,32 l/s,
- BTsPE-0,5 l/s,
- BTsPE-1,2 l/s,
- BTsPE-1,6 l/s.
De plus, chaque direction a sa propre gamme. En moyenne, le prix des unités ménagères varie de 7 400 roubles à 27 000 roubles. (les prix sont en vigueur pour le printemps 2017)
Souvent dans une maison de campagne ou un puits est foré dans le pays sable, dans de tels puits, le débit (productivité) est limité, il est donc préférable de prendre Aquarius BTsPE-0.32 ici. Dans ce créneau, 9 modèles aux caractéristiques techniques différentes sont présentés.
Caractéristiques techniques de la gamme de modèles BTsPE-0.32.
Les unités de la série Aquarius BTsPE-0.5 peuvent également être utilisées pour les puits de sable, mais la productivité de ces puits doit dépasser 3 m³ par heure. Il y a 8 modèles dans la gamme.
Caractéristiques techniques de la gamme de modèles BTsPE-0.5.
Les unités de la série Aquarius BTsPE-1.2 ne conviennent pas aux puits à faible productivité.Ces unités sont installées sur des puits artésiens - elles sont placées sur plusieurs maisons à la fois. La ligne comprend 8 modèles.
Caractéristiques techniques de la gamme de modèles BTsPE-1,2.
Les pompes Aquarius BTsPE-1.6 sont plus proches de la version industrielle. Si nous parlons de maisons privées ou de chalets, ces pompes de forage sont installées sur 1 puits artésien puissant et fournissent de l'eau à tout un partenariat de jardin ou à une petite zone.

Caractéristiques techniques de la gamme de modèles BTsPE-1.6.
Auto-assemblage
Faire appel à un spécialiste pour installer une telle pompe dans une maison de campagne, d'une part, coûtera un joli centime, et d'autre part, cela n'a aucun sens, vous pouvez tout faire vous-même.
La notice est assez accessible.
Illustrations
Recommandations
Outils:
Une paire de clés à gaz réglables ;
Jeu de clés à fourche ;
Scie à métaux pour le métal;
Couteau.
Matériaux:
ruban fumé;
Clapet anti-retour en laiton ;
Adaptateur en laiton pour clapet anti-retour ;
tuyau en PEHD ;
Colliers de serrage en plastique;
Adaptateur de tête ou de fond de trou ;
Câble métallique avec revêtement anti-corrosion et 4 clips.
Ensemble de pompe pour puits Aquarius:
Boîte;
Corde en nylon ;
Groupe de condensateurs ;
Câble électrique;
Pompe pour puits Aquarius.
Nous montons l'adaptateur sur la pompe.
adaptateur en laiton ;
clapet anti-retour ;
Adaptateur pour tube HDPE.
Nous connectons le tuyau.
Nous avons un tuyau en PEHD d'une section de 32 mm. Il est relié à l'adaptateur à l'aide de joints d'étanchéité, ils sont livrés avec l'adaptateur.
Nous attachons le câble.
Mieux réparer la pompe
Sur la photo, le câble électrique est fixé avec du ruban électrique, mais en général, il est préférable de le faire avec des pinces en plastique.
Nous fixons le câble en acierAttention : le câble en acier est enfilé dans les deux oreilles de la pompe ;.
Maintenant, nous prenons les pinces pour le câble en acier, enfilons le câble à travers elles et serrons les pinces avec des clés. Vous devez réparer à deux endroits;
On fait exactement la même boucle du côté opposé du câble, elle viendra s'accrocher au mousqueton monté sur la tête ;
Montage tête :
Ensuite, nous démontons la tête, y mettons un tuyau et le serrons;
Après cela, à travers un mousqueton, nous accrochons un câble de sécurité à la tête;
La tête est fixée avec des joints et des vis de serrage.
Parties manquantes.
La pompe est livrée dans un emballage économique, je recommande donc d'acheter :
Capteur de marche à sec, comme sur la photo (au cas où l'eau du puits s'épuise);
Stabilisateur de tension avec protection contre les surtensions.
Conclusions et vidéo utile sur le sujet
Comment faire des calculs pour un choix judicieux Pompe Verseau :
Caractéristiques techniques et capacités du modèle Aquarius BTsPE 1.6 40u :
Comment réparer l'appareil Aquarius (1/3) :
Comment démonter et nettoyer la pompe Aquarius de vos propres mains :
La séquence d'installation et de connexion de l'unité:
Comme vous pouvez le voir, la pompe Aquarius est facile à installer et à entretenir, un dispositif efficace pour fournir de l'eau dans un système d'alimentation en eau autonome.
Des auto-examens réguliers et des réparations mineures contribueront à prolonger sa durée de vie, mais si vous avez des difficultés à installer ou à choisir un nouveau modèle, faites appel aux services de professionnels.































