- Enrichisseur de démarrage sur un scooter 4t - description et objectif
- En quoi cela consiste
- À propos des variétés de produits
- Principe d'opération
- Remplacement de l'électrovanne VAZ 2107
- Remplacement de la valve de remplissage dans la machine à laver
- But et application des électrovannes
- Dispositif à soupape
- Le principe de fonctionnement des systèmes électromagnétiques
- Principe d'opération
- Mécanisme amélioré basé sur des aimants
- But et principe de fonctionnement de l'appareil
- Le champ magnétique créé par la bobine
- Règles d'installation et de fonctionnement
- Électrovannes Danfoss
- Description et principe de fonctionnement du solénoïde
- Comment installer une électrovanne à faire soi-même pour l'eau (12 Volt, 220V)
- Procédure d'installation de l'électrovanne (220V, 12V) : conseils pratiques
- Caractéristiques des électrovannes Asco
- Classification des électrovannes en fonction des caractéristiques de l'appareil
- Caractéristiques de conception, classification des vannes
Enrichisseur de démarrage sur un scooter 4t - description et objectif
Tous les passionnés de moto ne savent pas pourquoi une électrovanne sur un scooter est nécessaire. Ce dispositif est également appelé enrichisseur de départ. Il est responsable du volume du mélange air-carburant, qui est rempli à travers la chambre du cylindre de jet lors du démarrage d'un scooter refroidi.Une caractéristique des motos de petite cylindrée est le besoin du moteur d'un mélange enrichi lors d'un démarrage à froid d'un moteur de scooter. Le carburant entrant par le carburateur est mélangé à l'air dans une certaine concentration grâce à l'électrovanne reliée au carburateur.
Si l'enrichisseur de démarrage fonctionne et qu'il n'y a pas de panne de l'unité de puissance, le démarrage du moteur n'est pas un problème même pendant la saison froide
Il ne fait aucun doute que l'électrovanne est importante pour assurer un démarrage sans problème des moteurs des cyclomoteurs et des scooters modernes. Cependant, s'il y a des difficultés à démarrer le moteur, des interruptions de fonctionnement et une gourmandise excessive du moteur, on peut supposer qu'il y a des problèmes avec l'enrichisseur de démarrage
C'est pourquoi il est important de connaître son appareil et de pouvoir vérifier ses performances.
En quoi cela consiste
Chaque vanne, quelles que soient les caractéristiques structurelles, est placée dans un boîtier spécial. Il est fait de métal durable : laiton ou fonte. Pour alléger le poids de la structure, des polymères synthétiques sont parfois utilisés dans la production moderne, dont la résistance n'est pas inférieure. Parmi les matériaux les plus courants figurent le nylon, le polypropylène ou l'ecolon. Ils sont également utilisés pour fabriquer des couvercles.
Fig 2. Dispositif de valve
La conception de l'électrovanne comprend les éléments suivants :
- Bobines
- Prise de courant
- Piston
- Ressorts
- Stock
- membranes
- attaches.
La membrane est l'élément moteur principal, qui est construit sous la forme d'un piston spécial. Une caractéristique de conception est une bobine qui contrôle l'appareil en mode automatique.
Fig 3. En quoi consiste la vanne
En plus du corps principal, la bobine est équipée d'une structure de protection séparée.En utilisant du cuivre avec un revêtement en émail, un enroulement est réalisé. La couche supérieure agit comme une couche protectrice, ce qui évite une défaillance précoce de la bobine. Grâce à la coque en métal durable, le mécanisme est capable de résister à une pression élevée. Les modèles de fabricants réputés sont populaires dans les systèmes de tuyauterie et autres conceptions où des pressions élevées sont requises.
À propos des variétés de produits
La classification des produits s'effectue selon plusieurs paramètres.
En fonction de la position de l'élément de verrouillage en l'absence de tension sur la bobine, on distingue :
- Normalement ouvert, ou NON. Le passage pour le liquide ou le gaz est ouvert et lorsqu'une tension est appliquée, il se ferme.
- Normalement fermé, ou NC. Le passage pour le fluide est bloqué et lorsqu'une tension est appliquée, il s'ouvre.
Certains modèles sont universels et normalement la position de l'élément de verrouillage est ajustée lors de l'installation et de la connexion au réseau de contrôle. De tels dispositifs commutés sont dits bistables.

Selon l'environnement de travail, les vannes sont produites pour:
- Air.
- Eau.
- Paire.
- médias actifs.
- Carburants et lubrifiants.
Les appareils destinés à fonctionner dans des environnements radioactifs se distinguent par une sélection spéciale de matériaux à résistance accrue aux rayonnements. L'électrovanne de dépression doit assurer une étanchéité particulièrement élevée
En fonction des caractéristiques de l'environnement extérieur, les performances de l'appareil peuvent être :
- Normal
- Pour les zones humides.
- Résistant à la chaleur (pour les hautes températures).
- Résistant au gel (pour des températures extrêmement basses).
- Antidéflagrant. Ces appareils ne doivent pas produire d'étincelles lorsqu'ils sont allumés ou éteints. Pour ce faire, ils utilisent des solutions de conception et des matériaux spéciaux.
Selon le type de tension d'alimentation, les bobines sont divisées en
- CA, haute tension. Ils développent de grands efforts, sont utilisés sur des conduites principales de haute pression et de gros diamètres.
- CC, basse tension. Ils sont utilisés sur des tuyaux de petite section et à basse pression.
Lire ensuite : Comment distinguer un moteur 124 d'un 126 extérieurement
Il existe une classe distincte d'électrovannes d'arrêt haute pression. Ils sont appelés seuils. Ils sont conçus pour fermer instantanément les pipelines ou sceller les conteneurs en cas d'urgence ou d'urgence.
Et, enfin, selon le type de fonctionnement, les vannes sont divisées en
- Une manière. Une telle vanne ne comporte qu'une tubulure d'admission. Habituellement, ils sont normalement fermés et ouvrent la voie au flux d'eau ou d'air vers l'environnement extérieur. Ils servent de protection.
- Bidirectionnel. Le type le plus courant, ils ont des tuyaux d'entrée et de sortie et sont montés dans une rupture de canalisation. Ils sont utilisés pour contrôler le débit dans l'un des circuits du système de canalisation.
- Trois façons. Ils peuvent avoir une entrée et deux sorties ou deux entrées et une sortie.

Les vannes à trois voies du premier type sont utilisées pour rediriger les flux d'un circuit à un autre (par exemple, dans un système de chauffage). Cela vous permet de maintenir constante la température de l'environnement de travail sans modifier les paramètres de la source de chaleur. Les dispositifs du deuxième type sont utilisés pour mélanger deux flux à des températures différentes. Un exemple typique est un mitigeur à boule dans la cuisine ou dans la salle de bain.
Principe d'opération
Un dispositif de verrouillage d'arrêt est souvent appelé anti-inondation, ce qui signifie que son objectif principal est d'empêcher le fluide de s'écouler hors du pipeline.

La vanne est conçue de telle manière que sur une commande manuelle du personnel, un signal d'un capteur ou un autre élément, le mouvement du fluide dans une direction non prévue par la conception, le dispositif de verrouillage est rapidement activé et l'appareil coupe le passage du fluide de travail. Une caractéristique de l'appareil est sa réponse rapide, généralement fournie par l'actionnement d'un ressort ou d'un autre mécanisme pour fermer la vanne.
Par exemple, dans une valve jetable, le fluide entrant dans le dispositif impacte le joint en silicone. Sous l'influence de l'humidité, il grossit, soulève l'obturateur du mécanisme de verrouillage. Il bloque le canal et arrête le mouvement du support.
Remplacement de l'électrovanne VAZ 2107
Pour remplacer la valve, vous n'avez besoin que d'une clé 13 et d'une nouvelle valve. Le remplacement de l'électrovanne VAZ 2107 est le suivant:
- coupez le contact ;
- débranchez la borne du câble d'alimentation de la vanne ;
- utilisez la clé pour dévisser la valve;
- vissez la nouvelle soupape dans le carburateur avec vos doigts;
- serrez la valve avec une clé;
- mettre la borne du fil d'alimentation à la sortie de la vanne ;
- démarrer le moteur et vérifier le fonctionnement de la soupape.
Ceci termine le remplacement de l'électrovanne VAZ 2107. Si le moteur continue de tourner de manière irrégulière, vérifiez les gicleurs du carburateur et le système d'allumage.
Remplacement de la valve de remplissage dans la machine à laver
Nous vous conseillons de confier le remplacement de la vanne à un réparateur de lave-linge.
Les fabricants placent généralement la vanne sur la paroi arrière en haut de la machine à laver. Pour faciliter l'obtention de la valve, le couvercle est retiré.Cette partie du corps est fixée avec 2 vis autotaraudeuses. Ils doivent être déverrouillés. Le couvercle est poussé de la face avant vers la paroi arrière. Après cela, il s'enlève facilement.
Dans les machines à laver où le chargement est vertical, la soupape est située au bas de l'arrière du corps. Pour y accéder, vous devez retirer une partie du boîtier sur le côté de la machine à laver.
Avant de commencer à retirer la vanne, assurez-vous de couper l'alimentation en eau. Les cosses ou les tuyaux doivent en être déconnectés. Dans le cas où la fixation est fournie avec des pinces jetables, elles doivent être préparées à l'avance. De plus, des produits réutilisables peuvent également être utilisés.
Les boulons fixant la pièce doivent être dévissés. Il existe des modèles dans lesquels il est solidement fixé avec des loquets. Dans cette situation, vous devrez retirer la partie du loquet qui sécurise la pièce. La valve tourne et sort. Il est remplacé. Ensuite, dans l'ordre inverse, la nouvelle valve est fixée.
But et application des électrovannes
L'électrovanne joue le rôle d'un dispositif de régulation et d'arrêt dans le contrôle à distance du transport des flux de liquide, d'air, de gaz et d'autres fluides. Dans le même temps, le processus d'utilisation peut être à la fois manuel et entièrement automatisé.
La plus populaire est l'électrovanne Esbe, qui a une électrovanne comme dispositif principal. L'électrovanne est constituée d'aimants électriques, communément appelés solénoïdes.Dans sa conception, l'électrovanne ressemble à une vanne d'arrêt ordinaire, mais dans ce cas, la position du corps de travail est contrôlée sans effort physique. La bobine prend la tension électrique, entraînant ainsi l'électrovanne et l'ensemble du système.
L'électrovanne fonctionne à la fois dans des processus technologiques complexes en production, ou dans les services publics, et dans la vie quotidienne. En utilisant un tel dispositif, nous pouvons réguler indépendamment le volume d'alimentation en air ou en liquide à un moment donné. La soupape à vide peut également fonctionner dans les systèmes à air raréfié.
Selon les conditions d'utilisation de l'électrovanne, le corps peut être réalisé de manière conventionnelle et antidéflagrante. Un tel appareil est principalement utilisé aux points de production de pétrole et de gaz, ainsi que dans les stations-service et les dépôts de carburant.
Les vannes d'eau sont utilisées pour automatiser les systèmes de purification d'eau. De plus, la vanne d'eau électromagnétique a trouvé son application dans le maintien du niveau d'eau dans les réservoirs d'eau.
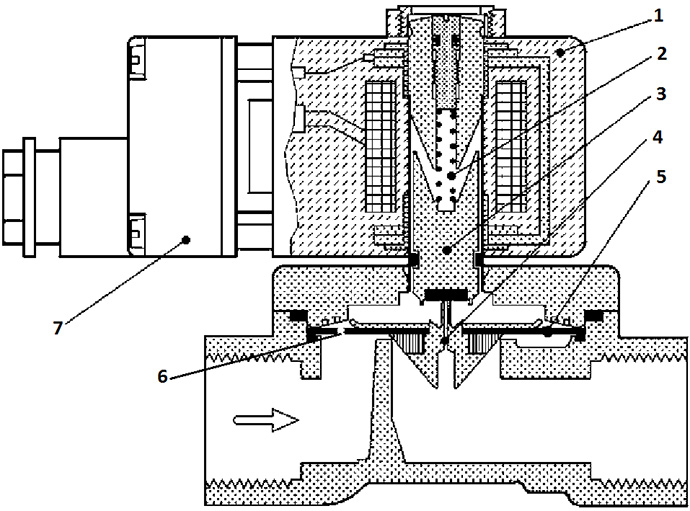
Dispositif à soupape
Les principaux éléments structurels de l'électrovanne sont :
- Cadre;
- couvercle;
- membrane (ou piston);
- le printemps;
- piston;
- Stock;
- une bobine électrique, également appelée solénoïde.
Schéma du dispositif de vanne
Le corps et le couvercle peuvent être en matériaux métalliques (laiton, fonte, inox) ou polymères (polyéthylène, polychlorure de vinyle, polypropylène, nylon, etc.). Des matériaux magnétiques spéciaux sont utilisés pour créer des pistons et des tiges. Les bobines doivent être cachées sous un boîtier étanche à la poussière et scellé afin d'exclure toute influence extérieure sur le bon travail du solénoïde.L'enroulement des bobines est réalisé avec du fil émaillé, qui est en cuivre électrique.
L'appareil est connecté à la canalisation par une méthode filetée ou à bride. Une fiche est utilisée pour connecter la vanne au secteur. Pour la fabrication de joints et de joints, du caoutchouc résistant à la chaleur, du caoutchouc et du silicone sont utilisés.
Des variateurs avec une tension de fonctionnement d'environ 220 V sont fournis avec le produit. Des sociétés distinctes exécutent des commandes pour la fourniture de variateurs avec une tension de 12V et 24V. Le variateur est équipé d'un circuit de commande forcée SFU intégré.
Le principe de fonctionnement des systèmes électromagnétiques
L'inductance électromagnétique fonctionne sous toutes les tensions AC et DC connues (220V AC, 24 AC, 24 DC, 5 DC, etc.). Les solénoïdes sont placés dans des boîtiers spéciaux protégés de l'eau. En raison de la faible consommation d'énergie, en particulier pour les petits systèmes électromagnétiques, il est possible de contrôler à l'aide de circuits à semi-conducteurs.
Plus l'entrefer entre le bouchon et le noyau électromagnétique est petit, plus l'intensité du champ magnétique augmente, quels que soient le type et l'amplitude de la tension appliquée. Les systèmes électromagnétiques à courant alternatif ont une taille de tige et une intensité de champ magnétique beaucoup plus grandes que les systèmes à courant continu.
Lorsque la tension est appliquée et que l'entrefer est à son maximum, les systèmes à courant alternatif, consommant une grande quantité d'énergie, soulèvent la tige et l'entrefer se referme. Cela augmente le débit de sortie et crée une chute de pression. Si un courant continu est fourni, l'augmentation du débit se produit assez lentement, jusqu'à ce que la valeur de la tension devienne fixe.Pour cette raison, les vannes ne peuvent contrôler que les systèmes à basse pression, à l'exception de ceux avec de petits orifices.
Autrement dit, en position statique, à condition que la bobine soit hors tension et que l'appareil soit en position fermée/ouverte (selon le type), le piston est en liaison étanche avec le siège de soupape. Lors de la mise sous tension, la bobine transmet une impulsion à l'actionneur et la tige s'ouvre. Ceci est possible car la bobine génère un champ magnétique qui, à son tour, affecte le piston et y est aspiré.
Principe d'opération
La soupape d'admission a deux états fonctionnels - fermé (cela arrive plus souvent) et ouvert. La vanne a une bobine qui est alimentée pour former un champ électromagnétique, à la suite de quoi la vanne s'ouvre, laissant entrer l'eau dans la machine. Ce principe d'inclusion donne un autre nom à la pièce - une électrovanne.
Dès que l'eau remplit le réservoir jusqu'au niveau souhaité, le module de commande envoie une commande pour couper l'alimentation électrique de la vanne. Le résultat sera la fermeture de la vanne et l'arrêt de l'alimentation en eau.

Pour plus d'informations sur l'apparence d'une seule vanne de remplissage électromagnétique (entrée) pour les machines à laver, voir la revue vidéo suivante.
Les soupapes d'admission des machines de différents modèles et fabricants diffèrent par le nombre de bobines. Certains modèles de vannes n'ont qu'une seule bobine, d'autres ont deux bobines. Les vannes à trois bobines sont également courantes. Le nombre de bobines correspond au nombre de sections dans la vanne à travers lesquelles l'eau est fournie au distributeur.
On trouve des modèles à simple serpentin dans les anciennes machines à laver dans lesquelles le travail est contrôlé par un dispositif de commande (un jet d'eau est envoyé mécaniquement au distributeur). Dans les machines modernes, des vannes à deux et trois bobines sont installées.

Mécanisme amélioré basé sur des aimants
Analysons maintenant le travail à base d'aimants proposé par nos artisans. Au lieu du vilebrequin habituel, il y en a un spécial qui a des excentriques magnétiques constitués d'aimants (ou ayant des aimants dans sa structure). Ils attirent la structure de la valve et sont en contact constant avec elle. C'est-à-dire que la vanne est toujours, pour ainsi dire, magnétisée sur cette partie de l'arbre. Au bon moment il se ferme, à un autre moment il s'ouvre.

Qu'est-ce que cela nous donne ? C'est simple - les arbres à cames ne subissent pas de pression de ressort, ils ne dépensent pas d'énergie pour surmonter la compression, et donc beaucoup d'énergie est vraiment économisée ! C'est vraiment une percée.

Comme l'assurent les constructeurs eux-mêmes, l'économie de carburant atteint 3-4 litres aux 100 kilomètres, et donc, si votre PRIORA (sur la mécanique) consomme 8-9 litres en mode urbain, alors après la retouche ce ne sera que 5-6 litres! Juste super ! La puissance est également ajoutée, selon les inventeurs, environ 20 à 30 ch.
Maintenant les gars, vidéo de ces artisans folkloriques, je n'ai pas trouvé plus de contacts. Vous pouvez regarder leur chaîne sur YOUTUBE.
But et principe de fonctionnement de l'appareil
Le principe principal et l'avantage de l'utilisation de cet appareil est l'automatisme. La conception de la vanne a été conçue de manière à couper le débit d'eau ou d'autre liquide/gaz lorsque certains paramètres du système - température, pression, vitesse et débit - changent sans intervention humaine.Cela se produit en raison du champ électromagnétique dans la zone d'action du noyau (piston) de la vanne. Lorsque la tension apparaît, elle chute ou augmente, selon les conditions stipulées.
L'énergie de travail qui entraîne le piston provient du mouvement des électrons le long de l'enroulement en cuivre de la bobine. Le magnétisme qui apparaît lorsqu'une impulsion est appliquée à partir d'un appareil externe est converti en un mouvement de translation qui abaisse le piston. Ce dernier bloque l'écoulement de l'eau, évitant ainsi de grosses pertes technologiques. Dès que la situation revient à la normale, la tension disparaît et le piston remonte, permettant à l'eau de se déplacer plus loin dans les tuyaux.
Le champ magnétique créé par la bobine
Lorsqu'un courant électrique traverse les enroulements des bobines, il se comporte comme un électroaimant et le piston qui se trouve à l'intérieur de la bobine est attiré vers le centre de la bobine par le flux magnétique à l'intérieur du corps de la bobine, qui à son tour comprime un petit ressort attaché à une extrémité du piston. La force et la vitesse des pistons sont déterminées par la force du flux magnétique généré à l'intérieur de la bobine.
Lorsque le courant d'alimentation est coupé (hors tension), le champ électromagnétique précédemment créé par la bobine est détruit et l'énergie stockée dans le ressort comprimé fait revenir le piston à sa position de repos d'origine. Ce mouvement de va-et-vient du piston est connu sous le nom de "course" des solénoïdes, en d'autres termes, la distance maximale que le piston peut parcourir dans le sens "entrée" ou "sortie", par exemple 0-30 mm.
Ce type de solénoïde est communément appelé solénoïde linéaire en raison du mouvement directionnel linéaire et de l'action du piston.Les solénoïdes linéaires sont disponibles en deux configurations de base, appelées "type de traction" car elles tirent la charge connectée vers elle-même lorsqu'elles sont sous tension, et "type de poussée" qui agissent dans la direction opposée, la repoussant d'elle-même lorsqu'elles sont sous tension. Les types de traction et de poussée sont généralement de la même conception, avec une différence dans l'emplacement du ressort de rappel et la conception du piston.
Le champ magnétique généré à l'intérieur.
Règles d'installation et de fonctionnement
Grâce aux instructions du fabricant sur le corps de l'appareil, l'installation de l'électrovanne est aussi simple que possible. Il sera facile pour une personne ayant des compétences dans l'utilisation d'équipements d'ingénierie d'installer une vanne sur une section de pipeline. Principales recommandations pour l'installation de l'appareil :
la vanne doit être positionnée strictement selon les flèches sur le corps de l'appareil, indiquant le sens d'écoulement de l'eau ;
il est recommandé d'installer un filtre à impuretés sur la section d'alimentation du tuyau devant la vanne elle-même pour piéger les particules (elles ne doivent pas pénétrer dans le dispositif de vanne, car
d'eux, l'appareil échoue rapidement);
la connexion de l'appareil à la source d'alimentation n'a lieu qu'après l'avoir installé dans la canalisation et vérifié l'étanchéité de la connexion;
il est important de s'assurer qu'il n'y a pas de poids sur les tuyaux de l'appareil ;
lorsqu'il est installé à l'extérieur, il est nécessaire d'isoler l'appareil ou de sélectionner un modèle du niveau IP approprié.Sinon, l'installation de la vanne ne diffère pas en principe des autres types de vannes
Par exemple, lors de l'utilisation d'un appareil avec une connexion filetée, il est nécessaire de réaliser un filetage sur le tuyau à l'aide d'un outil spécial.Immédiatement avant l'installation, le tuyau doit être préparé - nettoyé de la saleté et des bavures, dégraissé avec des solvants
Sinon, l'installation de la vanne ne diffère pas en principe des autres types de vannes. Par exemple, lors de l'utilisation d'un appareil avec une connexion filetée, il est nécessaire de réaliser un filetage sur le tuyau à l'aide d'un outil spécial. Immédiatement avant l'installation, le tuyau doit être préparé - nettoyé de la saleté et des bavures, dégraissé avec des solvants.
Lors de l'utilisation de systèmes d'approvisionnement en eau et de chauffage, personne n'est à l'abri de la survenance d'urgences. L'électrovanne (électrovanne) pour l'eau permet de minimiser les risques et les pertes en cas de percée. Ce dispositif permet de bloquer rapidement ou, au contraire, d'ouvrir l'écoulement de l'eau en quelques secondes, étant à distance. Analysons en détail la disposition de la vanne électromagnétique, ses types, ses principes de fonctionnement et son installation.
Électrovannes Danfoss
Les vannes Danfoss sont montées sur une large gamme d'équipements, des pompes installées dans les stations-service aux machines que l'on trouve dans les nettoyeurs à sec. La petite taille de ces appareils n'affecte en rien leur fiabilité. Danfoss fabrique une large gamme de vannes. Grâce à cela, dans les magasins, vous pouvez trouver de telles modifications que d'autres fabricants effectuent exclusivement sur commande spéciale.
Les électrovannes Danfoss sont de petite taille, mais cela n'affecte en rien leur niveau de fiabilité.
Avantages des électrovannes Danfoss :
- une vaste gamme d'appareils à usage général ;
- même des modifications standard peuvent résoudre de nombreux problèmes rencontrés par l'industrie ;
- La gamme de produits vous permet de sélectionner des appareils pouvant entrer en contact avec des fluides très agressifs, tels que des vannes dont le corps est en acier inoxydable et doté de la classe de protection IP67.
Si nécessaire, Danfoss peut modifier les produits selon les spécifications du client. Grâce à cela, des solutions optimales peuvent être trouvées pour toute tâche industrielle. De plus, des représentants de la société acheteuse peuvent participer au processus de développement.
Les obturateurs sont fournis avec un ensemble complet de documentation technique, ainsi que des guides simplifiés pour permettre aux clients de sélectionner une vanne aux caractéristiques appropriées. Le processus de production implique des spécialistes experts dans le domaine de la régulation du gaz, de la vapeur et des liquides. Par conséquent, les produits se distinguent par une fonctionnalité, une fiabilité et une sécurité élevées.
Danfoss fabrique des électrovannes à action directe et servocommandées.
En vente, vous pouvez trouver des dispositifs de verrouillage électromagnétiques à action directe et équipés d'un servomoteur. Les électrovannes à deux voies Danfoss EV220B sont particulièrement demandées, conçues pour contrôler les gaz neutres, l'eau, l'air et les huiles. Certaines modifications de cette ligne peuvent contrôler la vapeur et les fluides légèrement agressifs.
Description et principe de fonctionnement du solénoïde
Le solénoïde linéaire fonctionne sur le même principe de base que le relais électromécanique décrit dans la leçon précédente, et tout comme les relais, ils peuvent également être commutés et contrôlés à l'aide de transistors ou de MOSFET. Un solénoïde linéaire est un dispositif électromagnétique qui convertit l'énergie électrique en force ou mouvement mécanique de poussée ou de traction. Un solénoïde linéaire consiste essentiellement en une bobine électrique enroulée autour d'un tube cylindrique à entraînement ferromagnétique ou "piston" qui est libre de se déplacer ou de glisser "IN" et "OUT" dans le boîtier de la bobine. Les types de solénoïdes sont illustrés dans la figure ci-dessous.
Les solénoïdes peuvent être utilisés pour ouvrir électriquement des portes et des verrous, ouvrir ou fermer des vannes, déplacer et contrôler des membres et des mécanismes robotiques, et même activer des interrupteurs électriques simplement en activant sa bobine. Les solénoïdes sont disponibles dans une variété de formats, les types les plus courants étant le solénoïde linéaire, également connu sous le nom d'actionneur électromécanique linéaire (LEMA) et le solénoïde rotatif.
Solénoïde et portée
Les deux types de solénoïdes, linéaires et rotatifs, sont disponibles en verrouillage (tension constante) ou en verrouillage (impulsion ON-OFF), les types de verrouillage étant utilisés dans les applications sous tension ou en cas de panne de courant. Les solénoïdes linéaires peuvent également être conçus pour un contrôle de mouvement proportionnel, où la position du piston est proportionnelle à la puissance absorbée.Lorsqu'un courant électrique traverse un conducteur, il génère un champ magnétique, et la direction de ce champ magnétique par rapport à ses pôles nord et sud est déterminée par la direction du flux de courant dans le fil.
Cette bobine de fil devient un "électroaimant" avec ses propres pôles nord et sud, tout comme un aimant permanent. La force de ce champ magnétique peut être augmentée ou diminuée soit en contrôlant la quantité de courant circulant dans la bobine, soit en modifiant le nombre de tours ou de boucles de la bobine. Un exemple d'"électroaimant" est présenté ci-dessous.
Comment installer une électrovanne à faire soi-même pour l'eau (12 Volt, 220V)
Vous pouvez vous charger vous-même de l'installation d'une électrovanne (12 Volt, 220V) sur l'eau. Pour éviter les erreurs dans ce processus, il est conseillé de respecter certaines règles:
- il est interdit d'installer un dispositif de verrouillage équipé d'une bobine capable de remplir la fonction de levier ;
- tous les travaux d'installation ou de démontage de la vanne ne peuvent être effectués qu'après la mise hors tension complète de l'installation ;
- il faut veiller à ce que le poids de la tuyauterie n'exerce pas de pression sur le corps de la vanne.
Les dispositifs de verrouillage peuvent être utilisés dans les zones ouvertes, par exemple dans les installations de traitement locales, que l'on trouve souvent dans les zones suburbaines. Dans ce cas, l'appareil électromagnétique a besoin d'une protection supplémentaire. À ces fins, une bande FUM standard convient. Il doit également être utilisé si le travail est effectué à basse température.
Article associé:
Lors de la connexion de l'appareil à l'alimentation électrique, veillez à utiliser un câble flexible. La section recommandée des conducteurs est de 1 mm.
Lors du processus d'installation de l'appareil de vos propres mains, il est nécessaire de contrôler la direction de la flèche sur le corps de l'électrovanne
Procédure d'installation de l'électrovanne (220V, 12V) : conseils pratiques
Avant de procéder à l'installation directe, vous devez déterminer quel type de connexion sera utilisé pour cela.
Avec une connexion filetée, les connexions de sortie et d'entrée ont un filetage interne ou externe. En utilisant des raccords de taille et de configuration appropriées, la vanne peut être intégrée dans le système de tuyauterie. Cette option est considérée comme la plus pratique si la vanne est installée à la main.
Les raccords à brides utilisent des tuyaux de dérivation dotés de brides aux extrémités. Les mêmes éléments doivent être présents sur les tuyaux. Le serrage des pièces s'effectue à l'aide de boulons. La connexion à bride vous permet de créer un débit élevé dans le système, ainsi qu'une pression considérable. Le plus souvent, il se produit sur les autoroutes à moyenne et haute pression.
Des instructions détaillant le processus d'installation sont incluses avec chaque emballage de vanne. Si tout est fait correctement, l'appareil fonctionnera correctement, offrant une protection contre les fuites. Lors de l'installation de l'appareil, il est nécessaire de laisser un peu d'espace supplémentaire dans la zone d'installation. Ceci est nécessaire pour que, si nécessaire, vous puissiez retirer et remplacer le solénoïde. De plus, la présence d'espace libre vous permettra de contrôler le fonctionnement de la vanne, à l'aide d'un mécanisme permettant une levée manuelle de la tige.
Chaque électrovanne est livrée avec des instructions détaillées pour l'installation de l'appareil
Il est conseillé d'installer un filtre à l'entrée de la vanne.Il piégera les particules solides de plus de 800 microns. Seule une vanne normalement fermée doit être installée devant le détendeur. Pour exclure la possibilité d'un coup de bélier lors de l'ouverture du dispositif de verrouillage, il est nécessaire de laisser le moins d'espace possible entre celui-ci et le détendeur.
Il n'est pas recommandé d'utiliser des adaptateurs avant et après la valve. Ces éléments peuvent rétrécir le diamètre de la canalisation, augmentant le risque de coup de bélier. Les adaptateurs sont mieux placés devant le détendeur. L'installation d'un tube en T verticalement dans l'électrovanne pour agir comme un amortisseur peut réduire la quantité de coup de bélier qui se produit lors de la fermeture. De plus, la présence d'un tel tube augmentera la durée de vie de l'appareil. L'amortisseur est indispensable si la canalisation a une grande longueur et un petit diamètre.
Caractéristiques des électrovannes Asco
La société américaine Asco est l'un des principaux fabricants de vannes hydropneumatiques, électromagnétiques et d'arrêt, ainsi que de vérins pneumatiques, d'automatisation pneumatique et d'autres dispositifs d'automatisation.
Avantages produit :
- les équipements d'instrumentation et de contrôle sont fabriqués sur des lignes de production modernes avec un large éventail de fonctionnalités ;
- si nécessaire, les vannes peuvent être facilement réparées et le processus lui-même ne prend pas beaucoup de temps;
- haut niveau de fiabilité;
- capacité à résister au contact avec des environnements agressifs et des charges extrêmes.
Le fabricant produit plus de 5000 types standard de vannes d'arrêt. De plus, Asco produit des modifications et des versions spéciales de ces appareils, dont le nombre dépasse 20 000.Tous sont conçus pour répondre aux différents besoins des clients. Dans le même temps, le fabricant respecte les exigences de qualité les plus strictes, surveillant toutes les étapes de la production, y compris le processus de développement, les ventes et le service.
La qualité des électrovannes Asco est confirmée par les certificats ISO 9002 et 9001. Remarque ! Avant d'entrer dans les rayons des magasins, les produits sont soigneusement vérifiés pour les défauts de fabrication, et également testés. La plus haute qualité des vannes est confirmée par les certificats ISO 9002 et 9001.
Classification des électrovannes en fonction des caractéristiques de l'appareil
Les électrovannes se distinguent par une grande variété de caractéristiques de conception, et il existe donc un vaste champ de classification.
Ils diffèrent par l'environnement d'exploitation utilisé sur les systèmes où les périphériques sont installés :
- l'eau;
- air;
- gaz;
- couple;
- carburant, comme l'essence.
Dans des conditions difficiles, où il y a une possibilité d'urgence, des modèles de vannes antidéflagrantes sont utilisés
La composition de l'environnement de travail et les caractéristiques de la salle déterminent les caractéristiques de la performance :
- ordinaire;
- antidéflagrant. Il est courant d'installer des dispositifs de ce type sur des objets classés comme explosifs et dangereux pour le feu.
Selon les caractéristiques de contrôle, il existe une division des électrovannes en appareils :
- action directe. Il s'agit de la conception la plus simple, caractérisée par la fiabilité et la rapidité. Il n'a pas de canal pilote. Avec une remontée instantanée de la membrane, l'appareil s'ouvre. En l'absence de champ magnétique, le piston à ressort est abaissé, appuyant sur la membrane.La vanne à action directe ne nécessite pas de perte de charge minimale, elle crée l'action nécessaire sur la tige du tiroir grâce à la force de traction de la bobine située en haut de l'appareil ;
- ayant un renforcement de la membrane (piston). Contrairement aux dispositifs à action directe, ils utilisent le fluide transporté lui-même pour fonctionner comme un fournisseur d'énergie supplémentaire. Ces vannes ont deux tiroirs. Le but de la bobine principale est de couvrir directement le trou auquel le siège du corps est attribué. Le tiroir de commande ferme le ou les trous de décharge, à travers lesquels la pression est libérée de la cavité au-dessus de la membrane (piston). Cela fait monter le tiroir principal et ouvrir le passage principal.
Selon l'emplacement du mécanisme de verrouillage au moment où la bobine est dans un état désexcité, il est d'usage de séparer les dispositifs dits pilotes comme appartenant à un certain type :
- normalement fermé (NC). Pour les vannes NF, lorsque le solénoïde est hors tension, le passage pour le fluide de travail est fermé. C'est-à-dire que la position statique implique l'absence de tension sur le solénoïde, l'état fermé de l'appareil. Du fait de la différence de diamètre entre les canaux pilote et by-pass, la pression au-dessus de la membrane diminue au profit du premier. La différence de pression assure que la membrane (piston) monte et que la vanne s'ouvre, restant dans cette position tant que la tension est appliquée à la bobine;
- normalement ouvert (NO). Au contraire, dans les vannes normalement ouvertes, lorsque la bobine est dans un état hors tension, le fluide de travail peut se déplacer le long du passage dans une direction donnée.En maintenant la vanne NO fermée, une alimentation en tension constante de la bobine doit être assurée.
La vanne normalement fermée arrête le débit du fluide de travail à l'état hors tension
Il existe également des modèles de dispositif dans lesquels, lorsqu'une impulsion de commande est appliquée à la bobine, un passage de la position ouverte à la position fermée et dans le sens opposé est prévu. Une telle électrovanne est dite bistable. Un tel dispositif solénoïde nécessite une pression différentielle et une source de courant constant pour fonctionner. En fonction du nombre de raccords de tuyauterie, il est d'usage de nommer les électrovannes :
- bidirectionnel. De tels dispositifs ont une connexion de tuyau d'entrée et de sortie. Les dispositifs bidirectionnels sont à la fois NC et NO ;
- trois façons. Équipé de trois raccords et de deux sections de passage. Ils peuvent être produits en NC, NO ou universels. Les vannes à trois voies permettent d'alimenter alternativement en pression/vide des vannes de régulation, des vérins simple effet, des actionneurs automatiques ;
- quatre chemins. Quatre ou cinq raccords de tuyauterie (un pour la pression, un ou deux pour le vide, deux pour le vérin) assurent le fonctionnement des vérins double effet, entraînements automatiques.
Caractéristiques de conception, classification des vannes
Par type, les vannes sont divisées en ouvertes et fermées. Dans les modèles ouverts, lorsque la bobine est désexcitée, le passage est ouvert ; pour les vannes fermées, dans ce cas, le passage est automatiquement fermé.Les fabricants modernes proposent aux clients des conceptions pratiques d'électrovannes qui, si nécessaire, peuvent être ajustées à un mode de fonctionnement spécifique (selon les besoins) - ouvert, fermé.
En fonction de l'impulsion appliquée à la bobine, les électrovannes peuvent être pulsées et de conception stable. Ces modèles, si nécessaire, peuvent passer de la position ouverte à la position fermée et vice versa. Selon les systèmes dans lesquels les vannes sont installées, elles sont capables de fonctionner avec de la vapeur, de l'air, de l'essence et d'autres carburants.
Selon la pièce où les vannes sont utilisées, elles peuvent être fabriquées en version conventionnelle ou explosive. Ce dernier type de structures est utilisé dans diverses industries, à savoir: dans les dépôts de carburant, les stations-service, les systèmes de production de pétrole et de gaz, ainsi que dans d'autres objets explosifs et dangereux pour l'incendie de l'économie nationale.














































