- Eléments chauffants pour radiateurs chauffants : chauffage confortable
- Qu'est-ce qu'un appareil de chauffage pour le chauffage
- Champ d'application des éléments chauffants
- Avantages des éléments chauffants
- Le bon choix de modèle d'élément chauffant
- Chaudières à combustible solide avec élément chauffant
- Types d'éléments chauffants dans les systèmes de chauffage
- Comment choisir un appareil de chauffage pour l'installation dans une chaudière maison
- Que sont les éléments chauffants et leurs caractéristiques
- Avantages
- Défauts
- Les fonctions principales et le dispositif de l'élément chauffant
- Types d'éléments chauffants avec thermostat
- Chauffage électrique tubulaire
- Particularités
- Avantages et inconvénients
- Radiateurs électriques Tenovye à ailettes
- Particularités
- Avantages et inconvénients
- Bloc d'éléments chauffants
- Avantages et inconvénients
- Le choix de l'élément chauffant
- Forme et taille
- Du pouvoir
- Protection contre la corrosion et le tartre
- La présence d'un thermostat
- Chauffe-blocs
- Comment ne pas se tromper de choix
- Calcul de la puissance du radiateur électrique
- Caractéristiques de conception de l'appareil
- Disponibilité du contrôle automatique
- Comment choisir un élément chauffant pour un équipement de chauffage?
- Calcul de la puissance de l'appareil
- Prise en compte des caractéristiques de conception
- Longueur du tube chauffant
- Disponibilité de fonctionnalités supplémentaires
- Comparaison d'une chaudière à induction et à éléments chauffants
Eléments chauffants pour radiateurs chauffants : chauffage confortable
Qu'est-ce qu'un appareil de chauffage pour le chauffage
Les éléments chauffants électriques pour le chauffage sont des éléments chauffants qui chauffent le liquide de refroidissement circulant à l'intérieur du radiateur. Ils sont installés sur des radiateurs électriques en différents matériaux et alliages - fonte, aluminium, etc.

Champ d'application des éléments chauffants
Utilisation Elément chauffant pour radiateur de chauffage (montré sur la photo) est possible lors de l'agencement simultané de radiateurs autonomes avec un système de chauffage centralisé afin de fournir un chauffage supplémentaire du liquide de refroidissement.

Le plus souvent, la décision d'installer un élément chauffant dans une batterie est prise par les propriétaires si le chauffage d'un appartement ou d'une maison est instable ou souvent éteint. Ce radiateur est une bonne alternative pour éviter que le bâtiment ne refroidisse et que les batteries ne dégivrent.
Avantages des éléments chauffants
Les éléments chauffants (éléments chauffants) ont de nombreuses caractéristiques positives:
- économie et efficacité - lors de la conversion de l'électricité en chaleur, il n'y a pratiquement aucune perte d'énergie;
- installation simple - vous pouvez même installer vous-même un élément chauffant pour une batterie de chauffage et pour cela, vous n'avez pas besoin de délivrer une autorisation spéciale dans divers cas. Chaque appareil est accompagné d'une notice constructeur détaillée expliquant la procédure de connexion et les règles de fonctionnement ;
- durabilité - elle est obtenue grâce au chromage et au nickelage;
- compacité;
- sécurité;
- un radiateur électrique avec thermostat pour le chauffage capillaire vous permet de contrôler la température avec une grande précision;
- économiser la consommation d'électricité permet à l'appareil de fonctionner avec des impulsions ;
- coût abordable;
- disponibilité de fonctions supplémentaires.

En plus des qualités positives, un appareil tel qu'un élément chauffant pour radiateurs présente plusieurs inconvénients :
- coût élevé du chauffage électrique des locaux d'habitation en raison des prix de l'électricité ;
- pas dans toutes les implantations sur le territoire du pays, l'alimentation électrique de la sous-station permet l'utilisation de ces appareils.
Le bon choix de modèle d'élément chauffant
Pour acheter un élément chauffant, l'acheteur doit connaître un certain nombre de caractéristiques techniques:
- la puissance requise de l'appareil ;
- longueur, diamètre et forme du tube;
- longueur du capuchon isolant ;
- longueur totale;
- type de connexion;
- méthode de fixation.

Pour calculer la puissance d'un élément chauffant destiné à chauffer de l'eau d'un certain volume, utilisez la formule :
Chaudières à combustible solide avec élément chauffant
Actuellement, les chaudières à combustible solide sont rarement utilisées. Au lieu d'eux, le marché intérieur propose une large sélection d'unités de chauffage combinées et universelles qui fonctionnent non seulement au combustible solide, mais également à d'autres types de vecteurs énergétiques. Dans un large assortiment, les consommateurs se voient proposer des chaudières électriques à combustible solide pour le chauffage.

La chaudière à combustible solide présente les avantages suivants :

Certains modèles ont des éléments supplémentaires :
- TEN pour une chaudière de chauffage d'une puissance de 2 kW, équipée d'un thermostat et d'un limiteur de température ;
- régulateur de tirage, qui vous permet de réguler automatiquement le débit d'air dans la chambre de combustion de l'appareil.
En cas de panne, les éléments chauffants des chaudières de chauffage peuvent être remplacés par de nouveaux produits.
Types d'éléments chauffants dans les systèmes de chauffage
En règle générale, un élément chauffant pour chauffer une maison est utilisé dans les systèmes où l'eau ou l'antigel devient le vecteur de température.Mais il existe aussi des systèmes d'aération avec ces éléments. Il en existe plusieurs types :
Tubulaire. Le plus courant. Le principe de fonctionnement est d'échanger les températures de manière convective - le remplacement des masses chaudes par des masses froides. Il est utilisé dans les chaudières électriques, chauffe-eau, radiateurs à mazout et autres unités.
Aucun appareil de chauffage domestique ne peut se passer de cet élément - bouilloires, toutes sortes de bains-marie ou machines à laver. Pour plus de clarté, vous pouvez voir de quoi il s'agit.
Côte ou aiguille dix. L'élément a des bords supplémentaires sur toute la longueur perpendiculaire à l'axe. De tels éléments sont utilisés dans les rideaux thermiques.
En tant que chauffage central d'un immeuble résidentiel, il est trop énergivore. De plus, de tels éléments sont fragiles par rapport aux options tubulaires. En cas de bris, ils peuvent seulement être remplacés.
Vue en bloc et en anneau. Leur caractéristique est la régulation de la puissance de l'élément entier. Conçus pour de grandes charges industrielles et ne conviennent pas à une installation privée.
Vous pouvez assembler vous-même les éléments chauffants tubulaires. Le coût d'un tel produit sera faible par rapport à des éléments intégrés dans un système de type usine.
Comment choisir un appareil de chauffage pour l'installation dans une chaudière maison
Pour un travail indépendant, mieux vaut ne pas réinventer la roue, mais acheter tout de suite un produit fini - le prix ne les mord pas
Alors, que rechercher lors de l'achat:
- Du pouvoir. Immédiatement, vous devez appliquer la formule - pour 10 m², vous avez besoin de 1 kW d'énergie. Par conséquent, après avoir effectué des calculs simples, vous devez acheter un élément d'un tel marquage - 10, 20% du chiffre total. Vous ne devez pas acheter un élément plus que la puissance calculée. Premièrement, il n'est pas rentable sur le plan économique et, deuxièmement, il est peu probable qu'une telle puissance soit nécessaire.
- La conception n'est pas essentielle. L'essentiel est que l'élément pénètre librement dans le réservoir de chauffage, sans contact avec les parois.
La longueur est importante - les éléments chauffants courts ne supporteront pas bien de grandes quantités d'eau. Il vaut mieux que le paramètre élément n'atteigne pas la longueur du radiateur de 10 cm maximum.
En vente, il existe des éléments chauffants pour chauffer avec un thermostat ou une unité de contrôle. Si les propriétaires sont satisfaits du prix, alors, naturellement, de tels éléments sont préférables - ils optimiseront les coûts de chauffage. Vous pouvez définir les paramètres spécifiés et la température ne devra pas être augmentée brusquement au plus fort du temps froid - la pièce sera suffisamment réchauffée à des valeurs basses.
Le fabricant n'est pas si important, à moins que le produit ne nous vienne de Chine. En règle générale, les éléments individuels sont produits par la Turquie, la Pologne et l'Ukraine. Les pays européens ne produisent pas d'appareils de chauffage indépendamment des chaudières, donc si les vendeurs essaient de vendre un appareil de chauffage allemand ou italien à un acheteur, ce n'est qu'un canular.
Cependant, nos fabricants proposent de bonnes options dont la durée de vie se calcule en dizaines d'années. Lors de la production d'une installation artisanale, vous devez contacter le fabricant national
En général, aller au magasin sans préparation n'est pas le but. Vous devez prendre comme assistant une personne qui comprend l'essence du problème. Ainsi que pour les travaux de conception d'une chaudière artisanale dans son ensemble.
Que sont les éléments chauffants et leurs caractéristiques
Un élément chauffant est un radiateur électrique tubulaire qui peut être installé dans n'importe quel récipient rempli de liquide. Beaucoup de gens connaissent probablement bien l'élément chauffant d'un refroidisseur d'huile, qui chauffe efficacement cet appareil de chauffage. En fait, un tel appareil est un chauffe-eau électrique.
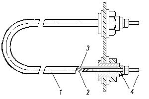
Les radiateurs électriques pour radiateurs sont des appareils spéciaux qui peuvent être installés dans n'importe quelle batterie de chauffage comme source de chaleur principale ou supplémentaire.En règle générale, ils sont montés avec des thermostats qui vous permettent d'automatiser le processus de chauffage.

Schéma d'utilisation d'un radiateur électrique comme radiateur supplémentaire
Conseils! Les éléments chauffants peuvent servir de source de chauffage d'urgence en cas d'arrêt du chauffage central. Dans de telles situations, vous pouvez fermer les robinets et connecter le radiateur à l'électricité.
Le processus d'installation de ces appareils est très simple - il vous suffit de dévisser le bouchon et de visser le radiateur à sa place. Le radiateur peut alors être rempli à la fois d'eau et d'huile à faible viscosité. Ce dernier est mieux utilisé dans les cas où le chauffage est allumé de temps en temps, par exemple dans un garage, afin que le liquide de refroidissement ne gèle pas.

L'élément chauffant est vissé dans le radiateur au lieu d'un bouchon
Avantages
Parmi les avantages de l'appareil considéré figurent:
- Faible coût. cependant, le prix du thermostat, qui est fourni séparément, est généralement ajouté au prix de l'élément chauffant lui-même.
- Facilité d'installation - chaque maître de maison peut installer le radiateur de ses propres mains, en n'y consacrant que quelques minutes de temps libre.
- Avec un thermostat de haute qualité, vous pouvez entièrement automatiser le processus de chauffage.
- Les radiateurs électriques sont assez fiables, durables et absolument sûrs. Mais pour cela, les instructions de connexion et les règles de sécurité doivent être respectées.

Sur la photo - un élément chauffant isolé dans un coffre-fort
Défauts
Outre les avantages, les appareils de chauffage pour radiateurs présentent certains inconvénients:
- Coûts énergétiques élevés, surtout si les radiateurs sont utilisés comme chauffage principal.
- Faible efficacité de transfert de chaleur. Le fait est que la batterie chauffe de manière inégale, car elle est conçue pour une circulation constante du liquide de refroidissement à grande vitesse.
- Un élément chauffant pour un radiateur avec un thermostat et d'autres appareils électroniques est plus cher qu'un réchauffeur d'huile.
Ainsi, avant d'installer cet appareil, vous devez estimer tous ses avantages et ses inconvénients. Le fait est que dans de nombreux cas, il est plus opportun d'utiliser d'autres sources de chauffage électrique.
Noter! L'efficacité du chauffage dépend en grande partie du type de batteries de chauffage elles-mêmes. Par exemple, les radiateurs en fonte avec éléments chauffants sont moins efficaces que, par exemple, les radiateurs bimétalliques ou en aluminium.
Les fonctions principales et le dispositif de l'élément chauffant
Les principales fonctions de l'élément chauffant intégré à la batterie sont : le chauffage du liquide de refroidissement et, dans le cas où l'élément chauffant est équipé d'un thermostat, le contrôle de la température.
Le radiateur lui-même pour radiateurs est si simple que même un écolier peut comprendre sa conception. Un fil conducteur isolé est inséré dans le tube métallique. Il s'agit le plus souvent d'une spirale nichrome. Pendant le processus de galvanisation, le tube métallique est recouvert de chrome ou de nickel, ce qui confère au métal une protection spéciale contre les effets agressifs de l'eau et garantit qu'une personne n'entre pas en contact avec l'électricité. De plus, le corps de l'élément chauffant est équipé de capteurs de contrôle qui ne permettent pas à l'appareil de surchauffer.
Quant à la fonction de chauffage du liquide de refroidissement, ici, sauf une, il n'y a pas d'autres options: l'appareil est connecté au réseau et l'eau (ou un autre liquide de refroidissement) est chauffée. Le principe est le même pour tous les appareils de chauffage électrique.
Les fonctions du thermostat sont assurées par un élément chauffant équipé d'un thermostat. Cela vous permet de régler l'élément chauffant des radiateurs à une certaine température. De plus, il existe des modes de régulation qui sont simplement nécessaires sous certaines conditions :
- "Antigel" - maintient une température constante du liquide de refroidissement de + 10 ° C, ce qui empêche le système de chauffage de geler.
- "Turbo" - est nécessaire pour le chauffage instantané du liquide de refroidissement dans un système de chauffage autonome à puissance maximale. Après avoir atteint la température requise, le mode est automatiquement désactivé et l'appareil fonctionne conformément aux paramètres définis par le thermostat.
En ce qui concerne le liquide de refroidissement lui-même, il existe un avis selon lequel l'huile de transformateur est la plus appropriée pour les batteries équipées d'éléments chauffants. Il chauffe en peu de temps et dégage de la chaleur pendant longtemps.
Types d'éléments chauffants avec thermostat
Il faut comprendre que lorsque le courant est appliqué à la spirale à l'intérieur du tube, celle-ci commence immédiatement à chauffer et ne peut pas s'éteindre toute seule. Le thermostat surveille les paramètres du fluide, coupant l'alimentation lorsque la température requise est atteinte.
Cela réduit les coûts d'électricité et prolonge la durée de vie de l'élément chauffant. Dans le même temps, il n'y a aucun lien entre le type d'élément chauffant et le fabricant du thermostat, ces deux composants sont complétés ensemble en fonction de la faisabilité économique.
Trois types d'appareils de chauffage sont utilisés pour le chauffage.
Chauffage électrique tubulaire
Le type le plus courant, que l'on trouve presque partout où vous avez besoin de chauffer un liquide ou l'espace environnant.
Particularités
Le tube extérieur peut être recouvert d'une composition spéciale pour résister à la corrosion, avoir une forme bizarre. Il est possible de choisir un élément chauffant pour toute demande.
Caractéristiques:
- diamètre du tube de 6 à 20 millimètres;
- la longueur est de 0,2 mètre à 6 mètres;
- métal de fabrication :
- acier;
- acier inoxydable;
- titane;
- presque toutes les configurations, puissances et performances sont sélectionnées individuellement par l'acheteur.
Avantages et inconvénients
Les avantages incluent :
- haute efficacité (environ 98%);
- utiliser sans projets ni permis supplémentaires ;
- prix abordable.
Il y avait aussi quelques points négatifs :
- coût élevé du chauffage lors de l'utilisation d'un élément chauffant comme appareil de chauffage principal;
- durée de vie relativement courte
- la formation d'un champ électromagnétique qui affecte négativement la santé humaine.

Radiateurs électriques Tenovye à ailettes
Un autre type qui est utilisé pour chauffer l'air ou le gaz.
Particularités
Des nervures métalliques sont fixées à un tube lisse, situé perpendiculairement à la surface de l'élément chauffant. Le moyen le plus simple de créer un tel élément de conception consiste à utiliser un ruban métallique, qui est fixé à la base avec des écrous spéciaux.
Un tube chauffant de cette forme permet d'évacuer plus de chaleur de la surface, souvent utilisé avec un ventilateur qui souffle de l'air à travers les radiateurs.
Avantages et inconvénients
Les avantages et les inconvénients de l'appareil sont les mêmes que dans la version précédente, sauf que le prix est légèrement plus élevé.Mais l'efficacité des ailettes à chauffer l'air paie les coûts.

Bloc d'éléments chauffants
Il est considéré comme une option industrielle, mais est souvent utilisé à la maison. Une telle solution sera particulièrement efficace lors de l'utilisation de plusieurs éléments chauffants de faible puissance.
Avantages et inconvénients
Avantages:
La principale qualité positive de la conception est que lorsque l'un des éléments brûle, le chauffage du liquide de refroidissement se poursuit avec une efficacité légèrement inférieure.
Par conséquent, un remplacement d'urgence n'est pas nécessaire, ce qui est particulièrement important au plus fort de la saison de chauffage avec du gel à l'extérieur de la fenêtre.
La deuxième caractéristique est une augmentation de la puissance sans augmenter la longueur, ce qui est vital pour certaines configurations de radiateurs.. Les problèmes avec les éléments chauffants sont standard pour ce type
À eux s'ajoute une faible efficacité lors du chauffage de l'air, il est conçu pour les liquides et les solides en vrac.
Les problèmes avec les radiateurs sont standard pour ce type. À eux s'ajoute une faible efficacité lors du chauffage de l'air, il est conçu pour les liquides et les solides en vrac.

Le choix de l'élément chauffant
Lors du choix d'un élément chauffant, il est nécessaire de prêter attention à certains détails. Seulement dans ce cas, vous pouvez compter sur un achat réussi, un chauffage de haute qualité, une durée de vie et une compatibilité du modèle sélectionné avec un réservoir pour chauffer l'eau. chaudière ou radiateur
chaudière ou radiateur.
Forme et taille
Des dizaines de modèles d'éléments chauffants sont présentés au choix des acheteurs. Ils ont une forme différente - droite, ronde, en forme de "huit" ou "oreilles", double, triple et bien d'autres. Lors de l'achat, vous devez vous concentrer sur l'utilisation d'un appareil de chauffage. Les modèles étroits et droits sont utilisés pour l'encastrement dans des sections de radiateurs, car il n'y a pas assez d'espace à l'intérieur
Lors de l'assemblage d'un chauffe-eau à accumulation, vous devez faire attention au volume et à la forme du réservoir et, sur cette base, choisir un élément chauffant approprié. En principe, presque tous les modèles conviendront ici. Si vous devez remplacer un élément chauffant dans un chauffe-eau existant, vous devez acheter un modèle identique - seulement dans ce cas, vous pouvez compter sur lui pour s'adapter au réservoir lui-même
Si vous devez remplacer l'élément chauffant d'un chauffe-eau existant, vous devez acheter un modèle identique. Dans ce cas seulement, vous pouvez compter sur le fait qu'il s'intégrera dans le réservoir lui-même.
Du pouvoir
Si ce n'est pas tout, alors beaucoup dépend de la puissance. Par exemple, il pourrait s'agir du taux de chauffage. Si vous assemblez un chauffe-eau de petit volume, la puissance recommandée est de 1,5 kW. Le même élément chauffant peut également chauffer des volumes disproportionnés, mais il le fera pendant très longtemps - avec une puissance de 2 kW, cela peut prendre 3,5 à 4 heures pour chauffer 100 à 150 litres d'eau (pas pour bouillir, mais en moyenne de 40 degrés).
Si vous équipez un chauffe-eau ou un réservoir d'eau d'un élément chauffant puissant de 5 à 7 kW, l'eau chauffera très rapidement. Mais un autre problème se posera - le réseau électrique de la maison ne résistera pas. Lorsque la puissance de l'équipement connecté est supérieure à 2 kW doit être mis à partir de l'électricité blinder une ligne séparée.
Protection contre la corrosion et le tartre
Choisir des éléments chauffants pour chauffer l'eau avec thermostat, nous vous recommandons de prêter attention aux modèles modernes équipés d'une protection anticalcaire. Récemment, des modèles avec revêtement en émail ont commencé à apparaître sur le marché. C'est elle qui protège les radiateurs des dépôts de sel.
La garantie pour ces éléments chauffants est de 15 ans.S'il n'y a pas de modèles similaires dans le magasin, nous vous recommandons d'acheter des radiateurs électriques en acier inoxydable - ils sont plus durables et fiables.
C'est elle qui protège les radiateurs des dépôts de sel. La garantie pour ces éléments chauffants est de 15 ans. S'il n'y a pas de modèles similaires dans le magasin, nous vous recommandons d'acheter des radiateurs électriques en acier inoxydable - ils sont plus durables et fiables.
La présence d'un thermostat
Si vous montez ou réparez une chaudière ou si vous souhaitez équiper une batterie de chauffage d'un élément chauffant, choisissez un modèle avec un thermostat intégré. Il économisera de l'électricité, ne s'allumant que lorsque la température de l'eau descend en dessous d'une marque prédéterminée. S'il n'y a pas de régulateur, vous devrez surveiller vous-même la température, en allumant ou en éteignant le chauffage - c'est peu pratique, peu économique et dangereux.
Chauffe-blocs
Les options de bloc sont plusieurs appareils de chauffage de type tubulaire qui sont combinés en un seul bloc et, en règle générale, ont un élément de fixation
Lors du choix de l'un ou l'autre chauffe-bloc, il convient de prêter attention aux indicateurs de puissance et à la capacité de l'équipement de la chaudière et de la pompe à fournir une évacuation efficace de la chaleur

Il est recommandé de privilégier ces types si :
- vous devez utiliser un appareil à haute puissance et vitesse de chauffage de l'environnement;
- il n'y a aucun moyen de transférer rapidement l'énergie thermique de la bobine de travail au milieu en raison de la petite surface de l'enveloppe extérieure de l'élément chauffant.
L'avantage de la solution bloc est la possibilité de réduire la charge sur chaque tube, ce qui à la fois augmente l'uniformité du chauffage du milieu et use peu les éléments chauffants situés à l'intérieur de ces tubes.
Voir les produits
Côté puissance, les modèles peuvent fournir de 5 à 10 kilowatts. Ainsi, lors de l'installation d'équipements avec éléments chauffants en bloc, vous devrez prendre soin de poser un câble électrique supplémentaire.
Comment ne pas se tromper de choix
Les radiateurs pour éléments chauffants sont assez simples à choisir, car ils n'impliquent pas une variété particulière de performances et de caractéristiques techniques. Avant d'acheter, veuillez considérer les points suivants.
Calcul de la puissance du radiateur électrique
Afin de déterminer correctement la puissance requise de l'appareil, il est souhaitable de connaître les normes de génie thermique en vigueur dans la région. En dernier recours, vous pouvez utiliser l'indicateur moyen, qui peut être utilisé en Russie centrale et faire quelques ajustements si nécessaire.
Sur cette base, pour 10 m². mètres de surface chauffée, à condition que le radiateur soit utilisé comme chauffage principal, 1 kW de sa puissance est nécessaire.

Si des éléments chauffants pour radiateurs sont choisis comme chauffage principal de la maison, il est fortement conseillé d'acheter des modèles avec un thermostat. Ainsi, il sera possible de réguler la puissance de l'appareil et ainsi de réduire les dépenses énergétiques.
Si l'appareil est utilisé comme chauffage d'appoint, la puissance requise sera 3 à 4 fois inférieure. De plus, lors du choix d'un appareil, il convient de prendre en compte les spécificités de l'élément chauffant du radiateur.
En raison de ses caractéristiques de conception, il ne pourra fonctionner correctement qu'avec un transfert de chaleur de 75% du radiateur. Avec plus de puissance, l'appareil surchauffera et s'éteindra constamment.
Sur cette base, la puissance de l'appareil est calculée. Les valeurs exactes de transfert de chaleur d'un radiateur particulier peuvent être trouvées dans sa documentation technique.Cependant, en moyenne, une section d'une batterie en aluminium a une dissipation thermique de 180 watts, une batterie en fonte - 140 watts.
Par exemple, calculons quel élément chauffant convient à un radiateur à 10 sections. Nous multiplions les données par 10 et nous obtenons que pour une batterie en aluminium, il vaut la peine de prendre un élément chauffant d'une puissance allant jusqu'à 1,35 kW, pour une batterie en fonte - jusqu'à 1 kW.
Caractéristiques de conception de l'appareil
Pour chaque radiateur, il est nécessaire de sélectionner l'élément chauffant qui lui convient en taille et en sens de filetage. L'équipement a une longueur de tige différente, ce qui peut affecter l'efficacité de son fonctionnement.
Avec une longueur insuffisante de l'élément chauffant, l'équipement n'est pas en mesure de fournir un taux de circulation suffisamment élevé du liquide de refroidissement, de sorte que le chauffage du radiateur sera irrégulier et insuffisant.

La longueur de l'appareil est peut-être l'une de ses caractéristiques les plus importantes, qui affecte directement l'efficacité du travail. Avant d'acheter, vous devez mesurer le radiateur et calculer la longueur requise de l'élément chauffant intégré
L'option optimale est lorsque la tige de l'élément chauffant n'atteint pas la paroi intérieure du bord opposé du radiateur de 60 à 100 mm
Il est également important de bien choisir la forme du boîtier et le diamètre de l'appareil.
Différents modèles peuvent avoir un matériau de prise différent. Pour faire le bon choix, vous devez étudier les recommandations du fabricant, où il décrit les types d'appareils de chauffage adaptés à une utilisation avec un élément chauffant particulier.
Disponibilité du contrôle automatique
Les appareils avec ou sans contrôle automatique intégré sont mis en vente. La première variante est la plus pratique et ne nécessite pas le coût d'achat d'équipement supplémentaire. Dans ce cas, un thermostat avec un capteur qui mesure la température du liquide de refroidissement est intégré dans la partie inférieure du boîtier de l'élément chauffant.
S'il n'y a pas d'automatisation intégrée, l'appareil n'a pas de thermostat. Dans ce cas, il est conseillé de se connecter à l'aide d'un détecteur qui mesure la température de l'air dans la pièce.
Il faut admettre que cet équipement n'est pas si populaire et demandé que de grandes entreprises européennes se livrent à sa production.
Dans les magasins, vous pouvez trouver des éléments chauffants pour radiateurs fabriqués par des marques turques, polonaises et ukrainiennes. En termes de qualité et de fonctionnalité, ils sont à peu près les mêmes.
Il est difficile de dire quels produits de l'entreprise devraient être préférés. Mais il faut se méfier des éléments chauffants chinois, car il est souvent possible d'obtenir un produit de mauvaise qualité.
Comment choisir un élément chauffant pour un équipement de chauffage?
Lors du choix d'un élément chauffant à remplacer dans un chauffe-eau ou dans un radiateur, il faut faire attention à sa puissance, sa conception, sa longueur de tube et la disponibilité de fonctionnalités supplémentaires. Par conséquent, avant d'acheter, vous devez vous renseigner le plus possible sur toutes ses caractéristiques.
Calcul de la puissance de l'appareil
La puissance élevée de l'élément chauffant n'est pas toujours une qualité positive.
Lors du choix, il est important de considérer plusieurs facteurs qui sont associés au niveau de consommation d'énergie :
- limiter la puissance de transfert de chaleur du réchauffeur dans son ensemble ;
- possibilités de câblage électrique ;
- volume de la chambre.
Vous ne pouvez pas acheter un appareil dont la puissance est supérieure à 75% du niveau de transfert de chaleur maximal d'un équipement de chauffage.
Par exemple, il y a un radiateur avec 10 sections, dont chacune dégage 150 W de chaleur dans l'air, soit un total de 1,5 kW. Lorsqu'un radiateur électrique d'une puissance de 2 kW y est installé, la surface de la batterie ne pourra pas abandonner rapidement toute l'énergie générée.En conséquence, l'élément chauffant s'éteindra constamment en raison d'une surchauffe.

La raison de la panne rapide de l'élément chauffant peut être le mauvais choix de puissance de l'appareil. À la suite d'une surchauffe systémique de la bobine, celle-ci finit par s'éteindre
Dans les appartements avec un câblage usé, la charge constante sur la prise ne doit pas dépasser 1,5 à 2 kW, sinon elle peut prendre feu et entraîner de tristes conséquences. Par conséquent, avant d'acheter un élément chauffant, vous devez vérifier l'état du câblage et, si nécessaire, démonter l'ancien et poser un nouveau réseau électrique.
Lorsque le problème avec l'électricien et les capacités de l'équipement est résolu, vous pouvez commencer à calculer la puissance requise pour maintenir une température confortable dans la pièce.
Dans les maisons et appartements bien isolés, un niveau de 40 W/m3 suffira. Et s'il y a des lacunes dans les fenêtres, la puissance de chauffage doit être augmentée à 60-80 W/m3. Vous ne pouvez acheter un modèle spécifique qu'après avoir pris en compte tous les facteurs énergétiques ci-dessus.
Prise en compte des caractéristiques de conception
La plupart des éléments chauffants ont une gaine en acier allié, ce qui leur confère solidité et résistance à la corrosion. Les appareils en cuivre sont principalement utilisés dans les chauffe-eau, bien qu'il n'y ait aucune restriction quant à leur utilisation dans les radiateurs faits maison.

Dans les radiateurs en fonte et en acier, l'utilisation d'éléments chauffants en métaux non ferreux n'est pas souhaitable. Cela peut entraîner une usure accélérée des matériaux et des connexions.
De plus, lors du choix, il est nécessaire de prendre en compte le sens du filetage du bouchon, qui peut être à droite ou à gauche. Différents modèles de radiateurs électriques diffèrent également par le diamètre des brides. Ils peuvent varier en taille de 0,5 à 1,25 pouces.
Habituellement, une courte instruction est jointe à l'élément chauffant d'un bon fabricant, qui décrit ses paramètres de conception.Les étudier vous aidera à acheter un appareil qui s'adaptera certainement à l'équipement de chauffage existant.
Longueur du tube chauffant
La longueur du tube est l'une des principales caractéristiques qui déterminent l'efficacité de l'appareil.
Sa plus grande longueur à puissance égale entraîne une augmentation de la surface du radiateur électrique et une accélération des échanges thermiques avec le fluide de travail. Cela a un effet positif sur la durabilité de l'élément chauffant et le taux de circulation du liquide de refroidissement.

Les éléments chauffants à tube long sont idéaux pour une installation dans des registres de fortune, pratiques pour chauffer de grandes pièces et des dépendances
Il est souhaitable que le tube s'étende sur toute la longueur de la zone de travail de l'appareil de chauffage, sans atteindre le mur opposé de 6 à 10 cm.Cette recommandation vous permettra de chauffer rapidement et uniformément le liquide de refroidissement.
Disponibilité de fonctionnalités supplémentaires
Il n'est pas toujours nécessaire de surpayer les fonctionnalités supplémentaires des éléments chauffants. Si le radiateur est utilisé comme auxiliaire et ne possède pas sa propre automatisation intégrée, il est logique d'acheter un modèle avec un thermostat.
Mais si le radiateur ou le convecteur électrique possède ses propres capteurs de température et mécanismes de contrôle de la température, des fonctions supplémentaires resteront non réclamées.

L'électronique intégrée à la prise de l'élément chauffant doit disposer de mécanismes de sécurité afin qu'en cas de panne du tableau de commande, un incendie ne se produise pas
Par conséquent, il est recommandé d'acheter des radiateurs électriques coûteux avec automatisation intégrée uniquement s'il existe un besoin évident pour un tel équipement. Si vous avez besoin d'une sélection individuelle du fond de température, il est préférable d'acheter un thermostat dans la prise, qui peut être utilisé périodiquement.
Quant aux fabricants d'éléments chauffants, leur choix n'est pas fondamental. Les principaux fournisseurs sont des entreprises russes, ukrainiennes, turques et italiennes. La qualité de leurs produits est à peu près la même, cela n'a donc aucun sens de payer trop cher pour la marque.
Comparaison d'une chaudière à induction et à éléments chauffants
1 : Chaudière à induction - les fabricants revendiquent plus de 30 ans sans grand entretien (100 000 heures).
La question se pose, d'où viennent les données s'il s'agit d'une nouveauté qui n'est apparue que récemment sur le marché ?
2 : Une chaudière à éléments chauffants perd 40% de sa puissance sur 4 ans de fonctionnement, et une chaudière à induction ne perd pas du tout.
C'est ce qui se passe - d'une chaudière de 9 kilowatts après 4 ans, il ne reste plus que 3,6 kW ?
Par exemple, j'ai installé une chaudière électrique - je n'ai constaté aucune perte de puissance depuis plus de 7 ans, je n'ai pas changé les radiateurs et les ai généralement oubliés, il chauffe parfaitement.
3 : La température de chauffage du serpentin de l'élément chauffant est de 750°C, ce qui caractérise son risque d'incendie.
Comment un élément chauffant situé à l'intérieur d'un tuyau en fer peut-il menacer un incendie ?
Oui, je suis d'accord, il fait très chaud. Mais comment cela affecte le risque d'incendie, je n'en ai aucune idée ...
À moins de retirer l'élément chauffant, de le placer sur un plancher en bois et d'appliquer une tension, il ne fonctionnera plus.
4 : Un grand nombre de raccords étanches (réchauffeurs, brides), nécessité d'une surveillance constante Quels raccords et brides ?
Depuis longtemps déjà, les gens n'ont pas appris à fabriquer eux-mêmes des chaudières électriques de manière normale - de manière simple et fiable.
Dans la conception que j'utilise, il n'y a qu'un seul gros écrou, où un élément chauffant monophasé / triphasé est vissé - TOUS.
Plus de brides et de joints. Il n'y a que des tuyaux de chauffage adaptés de la même manière que dans le cas d'une chaudière à induction.
5 : Un grand nombre de contacts électriques (bornes des éléments chauffants) situés dans la zone d'action à haute température, un maintien constant d'un bon contact électrique (pull-up, etc.) est nécessaire, ce qui complique la conception.
Très intéressant... Mais qu'en est-il du moins de fils pour une chaudière à induction triphasée ? Non, tout de même.
Trois phases - trois bobines dans une chaudière à induction, chaque bobine a deux conducteurs, pour un total de six connexions de contact. Et cela nécessite aussi « de maintenir un bon contact électrique… »
D'après mon expérience, en passant, il n'y a aucun problème avec cela. Utilisez le fil de cuivre principal de la bonne section et lors de la connexion, étirez bien le contact.
6 : « en raison de la charge élevée en watts sur la surface de l'élément chauffant, des dépôts de tartre intensifs et un colmatage de la chaudière et du système avec des boues tombant des éléments chauffants se produisent. »
Celui qui ne comprend pas ce qu'est une charge élevée en watts, regardez comment l'eau est chauffée dans une bouilloire électrique, c'est tout.
Seule la chaudière électrique doit être choisie correctement.
L'inclusion élémentaire de deux éléments chauffants en série à 380 - et il n'y a pas de charge en watts.
De plus, maintenant, presque toujours une chaudière électrique est fabriquée avec une pompe de circulation et l'eau a suffisamment de temps pour évacuer la chaleur de l'élément chauffant.
De plus, ce problème ne concerne que les éléments chauffants très puissants et courts. Si l'élément chauffant est choisi correctement, il n'y aura aucun problème avec la charge en watts.
En ce qui concerne le colmatage de la chaudière et les dépôts de tartre, tout n'est pas si effrayant. Il ne s'agit pas d'un chauffe-eau à circulation et le chauffage est un système fermé. Bien sûr, pendant la période de fonctionnement, une petite plaque sur l'élément chauffant se forme, mais elle est petite et c'est une plaque et non une croûte de tartre.
Et cela n'affecte presque pas l'efficacité de l'élément chauffant.









































