Pompe à chaleur Frenetta : appareil et principe de fonctionnement + puis-je l'assembler moi-même ?

Pompe à chaleur frenet à faire soi-même : les options pour le faire - point j

2 Comment fabriquer et installer une pompe à chaleur de vos propres mains?

Il est tout à fait possible de fabriquer une pompe à chaleur de ses propres mains, mais pour cela il faut trouver un bon compresseur.

Comme condenseur, vous pouvez utiliser une cuve en inox, d'environ 100 litres. Et pour le circuit dans lequel l'échangeur de chaleur circulera, les tuyaux de plomberie en cuivre minces sont parfaits.

Pompe à chaleur DIY - étapes de fabrication :

  1. À l'aide d'un coin ou de supports en forme de L, nous fixons le compresseur au mur à l'endroit où la pompe à chaleur sera placée.
  2. Ensuite, nous fabriquons une bobine à partir de tubes de cuivre - nous les enroulons autour d'un cylindre de forme appropriée. Assurez-vous que le pas d'enroulement sur toutes les bobines est identique.
  3. Le réservoir est coupé en deux parties, une bobine est insérée à l'intérieur, après quoi le réservoir est soudé.En même temps, plusieurs entrées filetées y sont créées - au-dessus et au-dessous, à travers lesquelles les tubes extrêmes de la bobine sont sortis.
  4. En tant qu'évaporateur, nous utilisons un fût en plastique ordinaire, dans lequel sont insérés les tuyaux du circuit interne (ou tout autre récipient dont le volume est identique au réservoir du condenseur).
  5. Pour le transport de l'eau chauffée, des tuyaux en PVC ordinaires sont utilisés.

Pour charger le système avec du fréon, il est recommandé de contacter un spécialiste.

Faire une pompe à chaleur Frenette à faire soi-même nous devons obtenir les matériaux suivants:

  • Cylindre en acier (choisissez le diamètre en fonction de la puissance de pompe dont vous avez besoin pour chauffer : plus la surface de travail est grande, plus l'appareil sera efficace) ;
  • Disques en acier, d'un diamètre de 5 à 10% inférieur au diamètre du cylindre;
  • Moteur électrique (il est préférable de sélectionner initialement un entraînement avec un arbre allongé, car des disques seront installés dessus);
  • Échangeur de chaleur - toute huile technique.

Le nombre de tours que le moteur peut produire déterminera la température à laquelle la pompe Frenette pourra chauffer l'eau pour chauffer une maison ou une piscine. Pour que l'eau des radiateurs se réchauffe à 100 degrés, il est nécessaire que l'entraînement fournisse 7 500 à 8 000 tr/min.

L'arbre de l'unité motrice sur roulements est placé à l'intérieur du cylindre en acier. L'endroit où l'arbre pénètre dans le cylindre doit être bien scellé, car la présence de la moindre vibration désactive rapidement le mécanisme.

Les disques de travail sont montés sur l'arbre du moteur. La distance requise entre eux peut être réglée en vissant les écrous après chaque disque. Le nombre de disques est déterminé en fonction de la longueur du cylindre - ils doivent remplir uniformément tout son volume.

Nous forons deux trous dans les parties supérieure et inférieure du cylindre: les tuyaux de chauffage seront connectés au supérieur, dans lequel l'huile sera fournie, et un tuyau de retour est connecté au trou inférieur pour renvoyer l'huile usée des radiateurs.

L'ensemble de la structure est fixé sur une ossature métallique. Une fois l'unité assemblée, le cylindre est rempli d'huile, les tuyaux de la conduite de chauffage y sont connectés et les connexions sont scellées.

Pompe à chaleur Frenetta : appareil et principe de fonctionnement + puis-je l'assembler moi-même ?

Pompe à chaleur fabriquée en usine

La pompe à chaleur Frenetta a un rendement très élevé, ce qui lui permet d'être utilisée efficacement dans tous les systèmes de chauffage. Il peut être utilisé pour chauffer toutes les pièces de service, les garages et les bâtiments résidentiels. De plus, en raison de sa taille compacte, une telle pompe artisanale est idéale pour chauffer une piscine ou un «sol chaud».

Mais rappelez-vous que lors du réchauffement de la piscine et d'autres grands réservoirs d'eau, vous avez besoin d'une pompe d'une puissance suffisante, sinon vous l'utiliserez simplement à d'autres fins et vous n'obtiendrez pas les résultats souhaités.

2.1 Installation des appareils de chauffage

Les caractéristiques d'installation des pompes à chaleur dépendent avant tout de la méthode de placement du circuit externe.

  1. Pompes à chaleur géothermiques. Pour la méthode d'installation verticale, des puits sont créés à une profondeur de 50 à 100 mètres, dans lesquels une sonde spéciale est abaissée. Pour la pose horizontale, une tranchée est créée pour la même longueur ou une fosse dans laquelle les tuyaux sont posés parallèlement les uns aux autres. Les tuyaux sont posés dans le sol à une profondeur d'un mètre et demi.
  2. Pompes eau-eau : le circuit externe est posé sur le fond du réservoir et amené à la pompe à chaleur.
  3. Air-eau: l'unité avec des tuyaux du circuit externe est installée sur le toit ou sur le mur du bâtiment (en apparence, il est difficile de la distinguer du boîtier extérieur du climatiseur), et est connectée au pompe à chaleur à l'intérieur.

Comment fabriquer une thermopompe Frenette de vos propres mains

La conception classique du système suppose la présence d'un rotor et d'un stator (cylindres de tailles différentes). Dans les modifications modernes, elles sont remplacées par des roues en acier. Toujours dans le schéma classique, il y a un ventilateur à pales. Il dirige l'air chaud dans la pièce chauffée. En remplaçant le rotor et le stator par des disques en acier, le besoin d'un ventilateur est éliminé. Ce n'est pas une partie particulièrement efficace de la conception, en plus cela crée du bruit.

Lire aussi :  Nous sélectionnons et installons une éolienne pour une maison privée

Pompe à chaleur Frenetta : appareil et principe de fonctionnement + puis-je l'assembler moi-même ?

Il est préférable d'utiliser de l'huile naturelle comme caloporteur. Il a une stabilité thermique élevée et une résistance à l'oxydation. Cette huile est non toxique et n'émet pas de gaz nocifs. Autre conseil utile : équipez l'appareil d'un capteur de température pour qu'il puisse s'allumer et s'éteindre de manière autonome. Et pour économiser sur l'auto-assemblage et ne pas acheter un nouvel élément d'alimentation, utilisez un moteur électrique provenant d'anciens appareils.

Outils et version de travail d'une pompe maison

Pour le montage il vous faudra :

  • cylindre;
  • moteur électrique avec arbre allongé;
  • tuyaux et radiateurs du système de chauffage;
  • câble d'alimentation, presse-étoupes, joints, écrous, tuyaux de dérivation ;
  • disques en acier (leur diamètre doit être inférieur au diamètre du cylindre).

Important à savoir : L'efficacité de l'installation dépend du nombre de disques en acier. Plus ils sont nombreux, plus l'efficacité que vous obtiendrez sera élevée.

Pompe à chaleur Frenetta : appareil et principe de fonctionnement + puis-je l'assembler moi-même ?

Assemblage pas à pas :

  1. Placer l'arbre du moteur dans le cylindre.Posez tous les nœuds avec des joints et des joints.
  2. Installez les disques sur l'arbre et fixez-les avec des écrous. Plus vous installez les disques loin des parois du cylindre, plus l'efficacité de l'appareil sera élevée.
  3. Faites deux trous sur le dessus de la structure. Le liquide de refroidissement sera fourni par le premier et l'huile du système de chauffage sera fournie par le second.
  4. Connectez les raccords au cylindre et le câble au moteur. Versez de l'huile dans le cylindre.
  5. Assurez-vous que l'appareil ne fuit pas. S'il y a des fuites, éliminez-les avec des joints en caoutchouc ou d'autres joints.

Avant d'utiliser l'unité dans un système de chauffage, son efficacité doit être calculée, ce qui dépend directement de l'efficacité. Sinon, la chaleur ne suffira pas ou vice versa. Ensuite, vous devez constamment allumer et éteindre la pompe. Mais même dans ce cas, il existe une issue - l'installation d'un capteur de température. Avec elle, la pompe régulera indépendamment son travail sans votre intervention.

Caractéristiques distinctives

Le four manuel présente de nombreux avantages :

  • cela économise du carburant;
  • Sur demande, vous pouvez concevoir un four de n'importe quelle taille qui convient le mieux à l'espace;
  • facile à transporter;
  • Facilité d'utilisation;
  • Le four étanche à l'humidité peut être utilisé pour la cuisson. Pour ce faire, lors de la construction, le tuyau est installé du côté de l'appareil de chauffage sur la paroi latérale.

Pompe à chaleur Frenetta : appareil et principe de fonctionnement + puis-je l'assembler moi-même ?

Lorsque vous fabriquez un radiateur goutte à goutte de vos propres mains, suivez les règles de sécurité incendie:

  • L'appareil doit être situé dans une pièce à l'abri des courants d'air ;
  • Les objets inflammables doivent être tenus à l'écart de l'appareil de chauffage, de préférence à proximité (environ un demi-mètre) ;
  • N'utilisez pas d'eau pour éteindre ou refroidir l'appareil de chauffage.

Matériaux nécessaires à la construction du four :

  • tôle;
  • c'est un tuyau en cuivre;
  • branche de tuyau ;
  • tuyau en caoutchouc;
  • bouteille de gaz;
  • En enfer;
  • Brûleur médical. .

Les principaux outils qui vous seront utiles sont une machine à souder, une perceuse et une pince.

Pompe à chaleur Frenetta : appareil et principe de fonctionnement + puis-je l'assembler moi-même ?

Utiliser un vieux réfrigérateur

Pompe à chaleur Frenetta : appareil et principe de fonctionnement + puis-je l'assembler moi-même ?

Dispositif de pompe à chaleur pour réfrigérateur

Ainsi, pour monter un système de chauffage dans une maison de campagne, vous devez disposer d'une pompe à chaleur.

Aujourd'hui, de telles unités ne sont pas bon marché, cela est dû à des caractéristiques techniques élevées et à un travail minutieux sur leur assemblage. Mais, si vous le souhaitez, vous pouvez assembler la pompe à chaleur de vos propres mains.

Vous pouvez construire une pompe à chaleur simple à partir d'un réfrigérateur domestique. La particularité de la technique réside dans le fait qu'elle comporte deux composants principaux d'une pompe à chaleur - un condenseur et un compresseur. Cela accélérera considérablement l'assemblage de la pompe à chaleur de vos propres mains.

Ainsi, l'assemblage de la pompe de l'ancien réfrigérateur s'effectue comme suit:

Assemblage de condensateur. L'élément est réalisé sous la forme d'une bobine. Dans les réfrigérateurs, il est le plus souvent installé à l'arrière. Ce réseau bien connu est un condenseur, à l'aide duquel la chaleur est transférée par le réfrigérant.
Le condensateur est installé dans un conteneur très durable et capable de résister à des températures élevées. Afin de ne pas endommager la bobine lors de l'installation, les experts recommandent de couper le conteneur et d'y installer un condensateur. Après cela, le conteneur est soudé.
Ensuite, un compresseur est fixé au conteneur. Il est presque impossible de faire une unité à la maison. Par conséquent, il est préférable de le prendre dans un vieux réfrigérateur

Dans le même temps, il convient de prêter attention au fait qu'il est en bon état.
En tant qu'évaporateur, vous pouvez utiliser un baril en plastique ordinaire.
Une fois que tous les éléments du système sont prêts, ils sont interconnectés. Des tuyaux en plastique sont utilisés pour connecter l'unité au système de chauffage.Ainsi, il est possible de construire une pompe à chaleur à partir d'un ancien réfrigérateur domestique

Si vous devez pomper du fréon dans le système, vous devez pour cela appeler l'assistant. Ce travail ne peut être effectué qu'avec un équipement spécial.

Ainsi, il est possible de construire une pompe à chaleur à partir d'un ancien réfrigérateur domestique. Si vous devez pomper du fréon dans le système, vous devez pour cela appeler l'assistant. Ce travail ne peut être effectué qu'avec un équipement spécial.

Lire aussi :  Énergie alternative pour la maison : un aperçu des sources d'énergie non standard

Attention : les thermopompes frigorifiques sont souvent utilisées pour chauffer les petits espaces et les bâtiments domestiques. Il peut s'agir d'un garage ou d'un petit cabanon.

Le premier canal laissera entrer l'air dans le congélateur et le second le laissera sortir. Dans ce cas, des processus physiques se produisent qui provoquent l'échauffement du condensateur.

Vous pourriez également être intéressé par l'article sur la fabrication d'une thermopompe Frenette de vos propres mains.

Vous pouvez en savoir plus sur les pompes à chaleur Henk System d'Igor Savostyanov ici.

Le principe de fonctionnement de l'appareil

Ceux qui entrent en contact avec les problèmes de chauffage rentable, le nom de "pompe à chaleur" est bien connu. Surtout en combinaison avec des termes comme "terre-eau", "eau-eau", ou "air-eau", etc.

Une telle thermopompe n'a pratiquement rien de commun avec l'appareil Frenette. En plus du nom et du résultat final sous forme d'énergie thermique, qui est finalement utilisée pour le chauffage.

Les pompes à chaleur fonctionnant selon le principe Carnot sont très appréciées à la fois comme moyen économique d'organiser le chauffage et comme système respectueux de l'environnement.

Le fonctionnement d'un tel complexe d'appareils est lié à l'accumulation d'énergie à faible potentiel contenue dans les ressources naturelles (terre, eau, air) et à sa conversion en énergie thermique à haut potentiel.

L'invention d'Eugène Frenette est arrangée et fonctionne d'une toute autre manière.

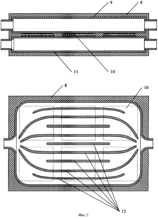
Le système de génération de chaleur développé par E. Frenette ne peut être classé sans condition comme une pompe à chaleur. Selon sa conception et ses caractéristiques technologiques, cet appareil de chauffage L'unité n'utilise pas de sources d'énergie géo- ou solaires dans son travail. Le liquide de refroidissement à l'huile à l'intérieur est chauffé par la force de friction créée par les disques métalliques en rotation.Le corps de travail de la pompe est un cylindre rempli d'huile, à l'intérieur duquel se trouve l'axe de rotation. Il s'agit d'une tige en acier équipée de disques parallèles installés à environ 6 cm d'intervalle.La force centrifuge pousse le liquide de refroidissement chauffé dans le serpentin relié à l'appareil. L'huile chauffée sort de l'instrument au point de connexion supérieur. Le liquide de refroidissement refroidi revient par le bas Apparence de la pompe à chaleur FrenettChauffage de l'appareil pendant le fonctionnementPrincipaux composants structurelsDimensions réelles d'un des modèles

Le principe de fonctionnement de cet appareil repose sur l'utilisation de l'énergie thermique, qui est libérée lors du frottement. La conception est basée sur des surfaces métalliques situées non pas les unes à côté des autres, mais à une certaine distance. L'espace entre eux est rempli de liquide.

Les parties de l'appareil tournent les unes par rapport aux autres à l'aide d'un moteur électrique, le liquide à l'intérieur du boîtier et en contact avec les éléments rotatifs est chauffé.

La chaleur qui en résulte peut être utilisée pour chauffer le liquide de refroidissement. Certaines sources recommandent d'utiliser ce fluide directement pour le système de chauffage. Le plus souvent, un radiateur ordinaire est attaché à une pompe Frenett maison.

Les experts recommandent fortement d'utiliser de l'huile plutôt que de l'eau comme liquide de refroidissement du système de chauffage.

Lors du fonctionnement de la pompe, ce liquide a tendance à s'échauffer très fortement. L'eau dans de telles conditions peut simplement bouillir. La vapeur chaude dans un espace confiné crée une surpression, ce qui entraîne généralement la rupture de tuyaux ou d'un boîtier. Il est beaucoup plus sûr d'utiliser de l'huile dans une telle situation, car son point d'ébullition est beaucoup plus élevé.

Pour fabriquer une pompe à chaleur Frenette, vous aurez besoin d'un moteur, d'un radiateur, de plusieurs tuyaux, d'une vanne papillon en acier, de disques en acier, d'une tige en métal ou en plastique, d'un cylindre en métal et d'un kit d'écrou (+)

Il existe une opinion selon laquelle l'efficacité d'un tel générateur de chaleur dépasse 100% et peut même atteindre 1000%. Du point de vue de la physique et des mathématiques, ce n'est pas une affirmation tout à fait correcte.

L'efficacité reflète les pertes d'énergie dépensées non pas pour le chauffage, mais pour le fonctionnement réel de l'appareil. Au contraire, les affirmations phénoménales sur l'efficacité incroyablement élevée de la pompe Frenette reflètent son efficacité, qui est vraiment impressionnante. Le coût de l'électricité pour le fonctionnement de l'appareil est négligeable, mais la quantité de chaleur reçue en conséquence est très perceptible.

Chauffer le liquide de refroidissement aux mêmes températures en utilisant un élément chauffant pour le chauffage, par exemple, nécessiterait une quantité d'électricité beaucoup plus importante, peut-être dix fois plus. Un appareil de chauffage domestique avec une telle consommation d'électricité ne chaufferait même pas.

Pourquoi tous les locaux résidentiels et industriels ne sont-ils pas équipés de tels appareils ? Les raisons peuvent être différentes.

Premièrement, l'eau est un liquide de refroidissement plus simple et plus pratique que l'huile. Il ne chauffe pas à des températures aussi élevées et il est plus facile de nettoyer les conséquences des fuites d'eau que de nettoyer le pétrole déversé.

Deuxièmement, au moment où la pompe Frenette a été inventée, un système de chauffage centralisé existait déjà et fonctionnait avec succès. Son démantèlement pour le remplacer par des générateurs de chaleur serait trop coûteux et apporterait beaucoup d'inconvénients, donc personne n'a même sérieusement envisagé cette option. Comme on dit, le mieux est l'ennemi du bien.

Isolation du générateur

Pompe à chaleur Frenetta : appareil et principe de fonctionnement + puis-je l'assembler moi-même ?

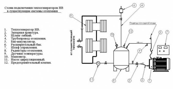
Schéma de connexion du générateur de chaleur au système de chauffage.

Vous devez d'abord faire un boîtier d'isolation. Prenez une feuille de tôle galvanisée ou d'aluminium mince pour cela. Découpez-en deux rectangles si vous voulez faire un boîtier à partir de deux moitiés. Ou un rectangle, mais de telle manière qu'après la fabrication, le générateur de chaleur vortex de Potapov, qui a été assemblé à la main, s'y intégrera complètement.

Lire aussi :  Comment fabriquer un capteur solaire pour chauffer l'eau de vos propres mains

Il est préférable de plier la feuille sur un tuyau de grand diamètre ou d'utiliser une traverse. Mettez la feuille découpée dessus et appuyez sur le bloc de bois dessus avec votre main. Avec la seconde main, appuyez sur la feuille d'étain pour qu'un léger pli se forme sur toute la longueur. Avancez un peu la pièce et répétez à nouveau l'opération.Faites ceci jusqu'à ce que vous obteniez un cylindre.

  1. Connectez-le avec une serrure, qui est utilisée par les bricoleurs pour les tuyaux de drainage.
  2. Faites des couvercles pour le boîtier en y prévoyant des trous pour connecter le générateur.
  3. Enveloppez l'appareil avec un matériau d'isolation thermique. À l'aide de fil ou de fines bandes d'étain, fixez l'isolant.
  4. Placez l'appareil dans le boîtier, fermez les couvercles.

Il existe un autre moyen d'augmenter la production de chaleur: pour ce faire, vous devez comprendre le fonctionnement du générateur de vortex Potapov, dont l'efficacité peut approcher 100% et plus (il n'y a pas de consensus sur la raison pour laquelle cela se produit).

Lors du passage de l'eau à travers une buse ou un jet, un flux puissant est créé à la sortie, qui frappe l'extrémité opposée de l'appareil. Il se tord et, en raison du frottement des molécules, un échauffement se produit. Cela signifie qu'en plaçant une barrière supplémentaire à l'intérieur de ce flux, il est possible d'augmenter le brassage du liquide dans le dispositif.

Article connexe : Installer des fenêtres dans une maison à ossature : comment effectuer la bonne installation ?

Sachant comment cela fonctionne, vous pouvez commencer à concevoir une amélioration supplémentaire. Il s'agira d'un amortisseur vortex constitué de plaques longitudinales situées à l'intérieur de deux anneaux en forme de stabilisateur de bombe.

Pompe à chaleur Frenetta : appareil et principe de fonctionnement + puis-je l'assembler moi-même ?

Schéma d'un générateur de chaleur stationnaire.

Outils : machine à souder, meuleuse d'angle.

Matériaux : tôle ou feuillard de fer, tube à paroi épaisse.

Faites deux anneaux de 4 à 5 cm de large à partir d'un tuyau d'un diamètre inférieur à celui du générateur de chaleur vortex de Potapov.Découpez des bandes identiques dans une bande de métal. Leur longueur doit être égale au quart de la longueur du corps du générateur de chaleur lui-même.Sélectionnez la largeur de sorte qu'après l'assemblage, il y ait un trou libre à l'intérieur.

  1. Fixez la plaque dans un étau. Accrochez-le d'un côté et de l'autre de l'anneau. Soudez-y une plaque.
  2. Retirez la pièce de la pince et tournez-la de 180 degrés. Placez une plaque à l'intérieur des anneaux et fixez-la dans la pince de manière à ce que les plaques soient face à face. Fixez ainsi à égale distance de 6 plaques.
  3. Assemblez le générateur de chaleur vortex en insérant le dispositif décrit en face de la buse.

Il est probablement possible d'améliorer encore ce produit. Par exemple, au lieu de plaques parallèles, utilisez du fil d'acier, en l'enroulant dans une boule d'air. Ou faites des trous de différents diamètres sur les plaques. Rien n'est dit sur cette amélioration nulle part, mais cela ne signifie pas que cela ne vaut pas la peine d'être fait.

Pompe à chaleur Frenett à monter soi-même, notice de montage

Auto-assemblage

Le plus pratique d'une certaine manière est le modèle d'appareil Frenette sans refroidisseur et type de cylindre interne. Certains disques tournent à l'intérieur d'une telle unité et l'huile agit comme un liquide de refroidissement. Il entre dans le radiateur, l'huile passe par le processus de refroidissement et retourne à nouveau dans le système.

Le processus de préparation de la collecte du système de chauffage.

Il doit y avoir un léger espace entre la paroi du boîtier et la partie rotative

Par conséquent, il est important qu'il y ait une petite différence entre les diamètres des disques métalliques et le cylindre

Le nombre de disques, ainsi que d'écrous, dépend de la taille de l'unité, dont les écrous mesurent généralement six millimètres de haut.

Concernant le liquide de refroidissement, il est préférable d'utiliser directement de l'huile liquide. Pourquoi? La température de l'huile est plus élevée.De plus, la pression de l'eau augmente. Il pourrait en résulter des dommages à ce type de structure, ce qui serait hautement inacceptable.

Roulement requis pour les travaux d'installation

En tant que moteur électrique, même tout type de modèle convient parfaitement, capable de fournir le nombre de tours requis, par exemple à partir d'un ancien ventilateur.

Comment améliorer les performances de l'appareil assemblé ?

Il est recommandé d'utiliser les spécificités de marche/arrêt automatique pour le moteur, qui est contrôlé à l'aide de capteurs thermiques fixés au corps. Dans ce cas, l'utilisation sera assez pratique et économique.

Où utiliser ce type de pompe

Une telle unité convient au chauffage de petites pièces, par exemple une pièce. Pour chauffer la maison, vous pouvez l'utiliser avec le chauffage au sol. La différence est que le liquide circule directement à travers les tubes, dans la chape. La régulation d'un tel système s'effectue à l'aide du capteur de température lui-même, installé sur le corps de l'appareil.

Évaluation
Site sur la plomberie

Nous vous conseillons de lire

Où remplir la poudre dans la machine à laver et combien de poudre verser