- Pompes à rotor vortex
- Schéma de l'appareil et principe de fonctionnement
- Avantages de l'utilisation à domicile
- Principales différences entre les pompes périphériques et centrifuges
- Types de pompes auto-amorçantes par la présence d'un éjecteur
- Éjecteur
- Champ d'application
- Quels sont les avantages d'une pompe centrifuge ?
- Description générale et variétés
- Principe de fonctionnement + revue vidéo des modèles
- Types de pompes auto-amorçantes
- Le dispositif et le principe de fonctionnement d'une pompe centrifuge
- Principe de fonctionnement de la pompe périphérique auto-amorçante
- Unités auto-amorçantes
- Caractéristiques des stations de pompage
- Structure et principe de fonctionnement
- Centrifuge
- Vortex
- Installation correcte de la conduite d'aspiration
Pompes à rotor vortex
Pour pomper de l'eau propre et des liquides gazeux (moussants) dans la vie quotidienne et dans la production, des pompes vortex sont utilisées.
Schéma de l'appareil et principe de fonctionnement
La pompe à vortex se compose d'un moteur électrique avec un ventilateur, un arbre, une roue (roue), des pièces de boîtier et des fixations. Le schéma de l'appareil pour chaque modèle est différent. Selon le principe de fonctionnement, l'appareil appartient à la dynamique - il utilise la force centrifuge, mais l'eau dans la chambre de travail se déplace vers le centre en spirale, un vortex d'eau se forme.
Avantages de l'utilisation à domicile
Le principal avantage des pompes vortex est leur simplicité de conception, elles sont faciles à installer et à réparer par elles-mêmes.Lors du pompage de l'eau, ils créent une pression puissante
Un autre avantage important de ces unités est qu'elles peuvent fonctionner même en présence d'air dans la conduite, car elles conviennent non seulement aux liquides, mais également aux fluides gazeux.
Seules les unités submersibles puissantes conviennent au pompage de l'eau de puits d'une profondeur supérieure à 8 m. Leurs inconvénients sont le prix élevé, la complexité de la maintenance et de la réparation, la consommation d'énergie élevée. Il est moins cher et plus facile d'installer une pompe de surface avec un éjecteur (éjecteur, éjecteur).
Un éjecteur est un dispositif qui transfère l'énergie cinétique d'un jet de liquide se déplaçant à grande vitesse au milieu pompé. Il existe deux types de ces appareils :
- Submersible (à distance, externe). Il est installé au fond d'un puits ou d'un puits dans la conduite d'aspiration au-dessus du clapet anti-retour. Profondeur d'aspiration - jusqu'à 30 m.
- Intégré (interne). L'appareil est à l'intérieur de la pompe. La profondeur d'aspiration augmente légèrement - jusqu'à 9 m.
Pour une utilisation dans le jardin, vous pouvez fabriquer un éjecteur de vos propres mains.
Principales différences entre les pompes périphériques et centrifuges
Les modèles centrifuges sont bien supérieurs aux modèles vortex en taille et en poids, cependant, ils fonctionnent un peu plus silencieusement. De plus, la simplicité de leur conception sans crainte peut permettre de pomper des liquides contenant des inclusions étrangères - tels que des agrégats fécaux et de drainage. Les pompes Vortex sont assez sensibles, elles sont donc spécialement équipées de filtres;
Les unités centrifuges sont considérées comme plus fiables - leur durée de vie peut aller jusqu'à 20 ans. En réparation, ils sont également assez simples, si vous le souhaitez, le problème peut être résolu indépendamment.Les unités Vortex sont considérées comme des équipements plus fins qui effectuent un nettoyage scrupuleux et un pompage à grande vitesse du liquide - il est peu probable qu'ils soient en mesure de les réparer eux-mêmes;
Types de pompes auto-amorçantes par la présence d'un éjecteur

La meilleure application mobile pour BPlayers expérimentés est apparue et vous pouvez absolument télécharger gratuitement 1xBet sur votre téléphone Android avec toutes les dernières mises à jour et découvrir les paris sportifs d'une nouvelle manière.
Tous les modèles d'unités auto-amorçantes sont divisés en deux types :
- Appareils avec éjecteur intégré ;
- Pompe avec éjecteur à distance.
Dans le premier cas, le mécanisme pompe l'eau en évacuant le liquide lui-même. Dans le même temps, la pompe fait trop de bruit pendant le fonctionnement, ce qui nécessite une salle spéciale pour l'installation de l'équipement. Le principal avantage d'une telle unité est la capacité de fournir de l'eau à une profondeur allant jusqu'à 10 mètres.
Les pompes à éjecteur externe sont plus silencieuses, mais en même temps, le niveau d'immersion du tuyau d'aspiration est plusieurs fois inférieur. Le principe de fonctionnement d'un tel mécanisme repose sur une unité de travail hydraulique qui aspire de l'eau et la refoule vers le haut sous haute pression.
Éjecteur
La plus grande profondeur à partir de laquelle les pompes vortex et centrifuges de surface peuvent soulever l'eau est de 8 à 9 mètres, souvent située plus profondément. Pour "l'obtenir" à partir de là, un éjecteur est installé sur les pompes. Il s'agit d'un tube de forme spéciale qui, lorsque l'eau le traverse, crée un vide à l'entrée. Ces dispositifs appartiennent donc également à la catégorie des auto-amorçants. La pompe auto-amorçante à éjecteur peut soulever de l'eau d'une profondeur de 20 à 35 m, ce qui est déjà plus que suffisant pour la plupart des sources.

Schéma de connexion de l'éjecteur externe pour puits de différents diamètres - deux pouces à droite, quatre pouces à gauche
L'inconvénient est que pour assurer le fonctionnement, une partie de l'eau comprise doit être renvoyée, par conséquent, la productivité est considérablement réduite - une telle pompe peut fournir une consommation d'eau pas très importante, mais pas moins d'électricité est dépensée pour assurer les performances. Lorsque l'injecteur est installé dans un puits ou un puits de largeur suffisante, deux canalisations sont descendues dans la source - une alimentation d'un diamètre plus grand, la seconde, une de retour, d'un diamètre plus petit. Un éjecteur est connecté à leurs sorties, et un filtre et un clapet anti-retour sont installés à l'extrémité. Dans ce cas, l'inconvénient est également évident - double consommation de tuyaux, ce qui signifie une installation plus coûteuse.
Dans les puits de petit diamètre, un seul pipeline est utilisé - le pipeline d'alimentation et le tubage du puits est utilisé à la place de celui de retour. Ainsi, une zone de raréfaction est également formée.
Champ d'application
Compte tenu des progrès technologiques modernes, les installations de vide ont été considérablement améliorées, elles ont trouvé une large application dans divers domaines de l'industrie et dans les appareils électroménagers. Grâce à une vis spéciale, les petites dimensions de l'appareil vous permettent de créer rapidement un haut degré de raréfaction du milieu.

Les pompes à eau sous vide sont considérées comme économiques, ont diverses applications :
- dans la fabrication de produits métalliques à structure dense sans pores;
- dans la production de textiles, pour un séchage rapide sans dépasser le régime de température;
- lors de l'emballage des produits laitiers, de l'emballage de la viande et du poisson ;
- dans les équipements avec des exigences particulières pour un environnement sec ;
- pour le fonctionnement complet des ventouses à vide;
- dans des laboratoires scientifiques de diverses directions;
- dans le domaine pharmaceutique, médecine.
Quels sont les avantages d'une pompe centrifuge ?
Les pompes centrifuges sont utilisées dans des conditions industrielles, ainsi que pour les besoins domestiques à la maison et à la campagne. La base du fonctionnement de tels dispositifs est la formation d'une force centrifuge, qui déplace l'eau et crée une pression. Les mécanismes de travail rotatifs capturent l'eau, la pressent contre les murs, puis la jettent dans le trou de sortie.
Les caractéristiques de conception et le but déterminent la présence de nombreuses variétés de ce type. Ainsi, dans les magasins, vous pouvez trouver des pompes à un ou plusieurs étages, submersibles, de surface, en porte-à-faux, horizontales, verticales.
Tous les mécanismes des produits sont fabriqués à partir de matières premières de haute qualité, il n'y a pratiquement aucune usure des pièces. On s'attend à ce que le fonctionnement de l'équipement soit continu, de sorte que des facteurs tels qu'un service simple et rapide après l'achat sont pris en compte dans la production.
pompe à eau pour chalets d'été (centrifuge) - photo
La particularité de la pompe centrifuge est qu'elle peut fonctionner même à des températures élevées, dans un environnement agressif. Chaque gamme de modèle spécifique de pompes a ses propres caractéristiques, caractéristiques et spécificités, certains échantillons peuvent fonctionner à une température de +350 °C.
Le principal avantage des pompes centrifuges est la durabilité, la longue durée de vie, le prix raisonnable, le rendement élevé et il est également possible d'installer une automatisation. Outre un grand nombre d'avantages, les modèles de ce type présentent des inconvénients - la nécessité de remplir le boîtier d'eau (une petite force centrifuge à l'intérieur ne permet pas d'aspirer l'eau dans le tuyau), l'air entrant dans l'entrée peut arrêter la pompe , les chutes de tension dans le secteur affectent le fonctionnement de l'appareil pas du meilleur côté.
La pompe centrifuge en porte-à-faux est assez répandue et est utilisée pour effectuer des travaux liés aux impuretés et aux petites particules solides. Les pompes en porte-à-faux horizontales à un étage sont utilisées pour l'approvisionnement en eau à la maison, dans les chalets. Les modèles à plusieurs étages sont capables de créer une pression puissante grâce à plusieurs appareils identiques à un étage connectés en série.
En règle générale, les pompes à eau pour les maisons, les chalets, les systèmes d'irrigation et d'irrigation sont achetées centrifuges afin de pouvoir être installées dans un système de chauffage alimenté par un puits. Les pompes submersibles et semi-submersibles ont leurs avantages et leurs inconvénients, le premier type est facile à installer, le second est entretenu. Pour installer une pompe submersible, certaines conditions doivent être créées. Le travail est assez laborieux, cependant, de nombreux résidents d'été et propriétaires de maisons privées préfèrent acheter des pompes submersibles. L'inconvénient des produits submersibles est leur grande réactivité aux divers contaminants et au sable.
pompe à eau submersible en fonctionnement - photo
Quattro Elementi Drenaggio 400 est une bonne pompe de drainage submersible, centrifuge, adaptée aux chalets d'été. Il pompe l'eau, le diamètre maximal des particules solides est de 5 mm, de sorte qu'il pompera sans problème un liquide trouble et pas trop sale. Selon les critiques, pomper trop loin - la puissance n'est pas suffisante et les fentes d'entrée de la turbine, qui doivent constamment être nettoyées, peuvent se boucher. Pompage maximum par heure 7000 litres.
En comparaison, voici les modèles de pompes centrifuges les plus demandés par les consommateurs :
➤ surface - Calibre NBTs-600 PK, Calibre NBTs-380, Patriot R1200 INOX, Patriot R900, Parme NBTs-037 A, Sturm WP9751A pour eau propre, STAVR NP-800, ZUBR ZNS-800 auto-amorçant, etc.;
➤ submersible - Calibre YGWC-1.2 / 50-370 forage, Aquarius BTsPE 0.5 pour puits ou un puits, Nocchi Dominator de fabrication italienne, Whirlwind CH-60, Gileks Aquarius Prof 55/35, Grundfos SBA 3-35A;
➤ drainage - Quattro Elementi Drenaggio 400, Pompe générale S-500S. AL-KO SUB 6500 Classic, Hummer Nap 550B, Elitech NPD 600H, Redverg RDS 750 PD etc.
Description générale et variétés
Auto-amorçant la pompe est un système pour mouvement des liquides. Il est couramment utilisé pour déplacer l'eau des puits ou des sources à ciel ouvert pour la consommation. De plus, il existe également un appareil non auto-amorçant, mais un tel appareil n'est pas aussi efficace et est rarement utilisé.
La pompe auto-amorçante est de petite taille, elle peut donc être placée même dans une petite pièce
Une telle pompe est généralement de type surface, c'est-à-dire qu'elle pompe de l'eau jusqu'à 10 mètres de profondeur, elle la soulève dans l'appareil principal. Le levage se produit grâce à des roues spéciales équipées de lames, et en même temps créant une zone de basse pression. Ainsi, la soi-disant absorption d'eau se produit. De plus, tout système d'aspiration ou pompe de ce type est équipé d'un moteur et d'une chambre de travail. Le mécanisme d'injection est situé dans la chambre de travail. La pompe et le moteur, ou plutôt leurs arbres, sont reliés à l'aide d'une pompe. La fiabilité de la connexion détermine le type de joint sélectionné.
Ils sont à leur tour de deux types :
- Omental. Jolie option économique, mais ne vous fiez pas à sa fiabilité. Étanchéité et résistance à l'écoulement de l'eau à un niveau très bas.
- Fin.Option très fiable, possède d'excellentes propriétés hermétiques, ne laisse pas passer l'eau. Mais son prix est assez élevé par rapport à la version précédente.
Les pompes domestiques sans liquide de pré-remplissage peuvent être divisées en trois types :
- Centrifuge;
- Vortex;
- Éjecteur.
Ils seront discutés ci-dessous.
Principe de fonctionnement + revue vidéo des modèles
La base de la fonctionnalité est l'élimination mécanique forcée de l'environnement d'un espace limité. Cela se produit de plusieurs façons :
pompe à jet
L'unité fonctionne en fournissant un jet de molécules d'eau ou de vapeur à partir du tuyau latéral, qui transporte la substance à grande vitesse et crée un vide. L'avantage de ce schéma est l'absence d'éléments mobiles, ce qui augmente considérablement la durée de vie de la structure. L'inconvénient est le mélange des composants et la faible efficacité.
Pompe de type mécanique
Le principe de fonctionnement de la pompe à vide comprend une conception rotative ou une action alternative, qui crée l'effet d'agrandir l'espace à l'intérieur en le remplissant à partir du tuyau d'entrée pour une expulsion ultérieure à travers le tuyau de sortie. Il existe un nombre suffisant de solutions constructives de ce principe. Ces conceptions se caractérisent par une efficacité élevée.
Types de pompes auto-amorçantes
Les fabricants produisent des pompes auto-amorçantes avec un éjecteur intégré ou à distance. Dans ce type d'équipement de pompage, l'aspiration et la montée du liquide se produisent en raison de son refoulement. Pendant le fonctionnement, les installations d'éjecteurs font trop de bruit, c'est pourquoi une pièce spéciale est sélectionnée pour leur placement sur le site, située à une distance suffisante du bâtiment résidentiel.Le principal avantage des pompes auto-amorçantes avec éjecteur est leur capacité à soulever l'eau d'une grande profondeur, en moyenne environ 10 mètres. Dans ce cas, un tuyau d'alimentation est descendu dans la source de prise d'eau et la pompe elle-même est installée à une certaine distance de celle-ci. Cette disposition vous permet de contrôler librement le fonctionnement de l'équipement, ce qui affecte la durée de son utilisation.
Le deuxième type d'équipement comprend des pompes auto-amorçantes qui assurent le relevage de l'eau sans éjecteurs. Dans les modèles de ce type de pompes, l'aspiration du liquide est assurée par un dispositif hydraulique de conception spéciale à plusieurs étages. Les pompes hydrauliques fonctionnent en silence, contrairement aux modèles à éjecteur, mais elles leur sont inférieures en termes de profondeur d'admission de liquide.
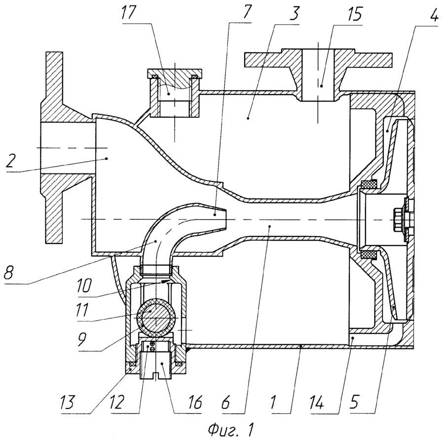
Le dispositif et le principe de fonctionnement d'une pompe centrifuge
La figure montre le dispositif d'une pompe centrifuge auto-amorçante. Dans le corps, qui a une forme en spirale, il y a une roue fixée rigidement, qui se compose d'une paire de disques avec des lames insérées entre eux. Les pales sont courbées dans le sens opposé au sens de rotation de la roue. À l'aide de buses d'un certain diamètre, la pompe est connectée aux conduites de pression et d'aspiration.

Donc, schématiquement, vous pouvez imaginer le dispositif d'une pompe centrifuge auto-amorçante pour le pompage de l'eau utilisée dans les maisons privées et les chalets
Le principe de fonctionnement des pompes centrifuges auto-amorçantes est le suivant :
- Une fois le boîtier et le tuyau d'aspiration remplis d'eau, la roue commence à tourner.
- La force centrifuge qui se produit lorsque la roue tourne déplace l'eau de son centre et la projette vers les zones périphériques.
- En raison de la pression accrue créée dans ce cas, le liquide est déplacé de la périphérie dans la conduite sous pression.
- A ce moment, au centre de la roue, au contraire, la pression diminue, ce qui provoque l'écoulement de liquide à travers le tuyau d'aspiration dans le corps de pompe.
- Selon cet algorithme, il y a une alimentation continue en eau par une pompe centrifuge auto-amorçante.
Principe de fonctionnement de la pompe périphérique auto-amorçante
L'air, représenté en jaune sur la figure, est aspiré dans le corps de pompe par la dépression créée par la rotation de la roue (impulseur). Ensuite, l'air qui est entré dans la pompe est mélangé au fluide de travail contenu dans le boîtier de l'unité. Sur la figure, ce liquide est représenté en bleu.

Cette figure montre le dispositif et le principe de fonctionnement d'une pompe auto-amorçante à vortex pour soulever un liquide à une hauteur maximale de huit mètres.
Une fois que le mélange d'air et de liquide est entré dans la chambre de travail, ces composants sont séparés les uns des autres, en fonction de la différence de leurs densités. Dans ce cas, l'air séparé est évacué par la conduite d'alimentation et le liquide est remis en circulation dans la chambre de travail. Lorsque tout l'air est retiré de la conduite d'aspiration, la pompe se remplit d'eau et commence à fonctionner en mode d'installation centrifuge.

Versions possibles des pompes à eau auto-amorçantes vortex fabriquées par les fabricants pour un usage domestique par les propriétaires de maisons privées et de chalets
Un clapet anti-retour est installé sur la bride d'aspiration, qui est conçu pour empêcher le reflux d'air dans la canalisation, ainsi que pour assurer une présence constante dans la chambre pompe à fluide de travail. Grâce à ce dispositif et au principe de fonctionnement, les pompes auto-amorçantes à vortex sont capables, avec une chambre remplie, de prélever du liquide à une profondeur n'excédant pas huit mètres, sans installer de vanne de fond.
Unités auto-amorçantes
Beaucoup, bien sûr, se souviennent que pour démarrer la pompe à eau, il faut d'abord remplir le système d'eau, sinon l'appareil ne peut pas aspirer le liquide lui-même et son courant ne démarrera pas. De plus, en raison du fonctionnement à sec, une surcharge et une surchauffe se produisent, ce qui peut entraîner une défaillance prématurée de l'équipement.
La principale différence entre une pompe auto-amorçante est qu'elle est capable d'éliminer indépendamment l'air des tuyaux, elle ne nécessite donc pas de surveillance constante, bien que de l'eau devra également être ajoutée pour le premier démarrage.
Ces appareils sont utilisés à différentes fins :
- Augmentation de la pression dans le système d'approvisionnement en eau ;
- Élever l'eau d'un puits ou d'un puits.

Pompe centrifuge auto-amorçante
Toutes les pompes auto-amorçantes sont divisées en types suivants selon le principe :
- centrifuge;
- Vortex;
- Axial;
- jet d'encre;
- Membrane;
- piston;
- Rotatif.
Il existe également une division selon la méthode d'installation:
- Submersible - travaillez directement dans l'eau, coulez au fond du puits, où ils poussent l'eau vers le haut. L'avantage de tels équipements est une plus grande productivité - ils sont capables d'élever l'eau à une plus grande hauteur. L'inconvénient est la complexité de la maintenance.
- Surface - placé dans un endroit sec dans un puits ou dans une pièce spécialement équipée. Ils ne peuvent pas élever l'eau à une hauteur de plus de 7-8 mètres.

Pompes alimentaires centrifuges auto-amorçantes avec éjecteur
Par puissance, durée de vie et performances, les pompes sont divisées en domestiques et industrielles.
Les pompes auto-amorçantes ne sont pas seulement utilisées pour la plomberie. Ils sont utilisés dans les systèmes pluviaux, pour l'arrosage des terres, les égouts, les systèmes de drainage, etc.
Caractéristiques des stations de pompage
Examinons maintenant de plus près les principaux paramètres de fonctionnement des équipements de pompage.
Tout d'abord, il convient de corréler la profondeur de la montée de l'eau avec les capacités de l'unité sélectionnée. Dans ce cas, la longueur horizontale de la canalisation jusqu'à la pompe doit également être prise en compte.
Comme mentionné précédemment, pour les pompes de surface, ce paramètre dépasse rarement 7 mètres. Théoriquement, il est possible d'atteindre 10, mais alors une telle puissance et ses pertes seront nécessaires pour qu'une telle eau devienne littéralement «dorée».

Hauteur maximale de levage de liquide pour la pompe
Si la profondeur du puits est beaucoup plus grande, vous devrez utiliser une pompe submersible ou à éjecteur. Le premier descend et le second est également monté en surface, mais contrairement à la version simple, il est équipé d'un dispositif supplémentaire - un éjecteur.

Le principe de fonctionnement de l'éjecteur externe
Une telle unité est capable de soulever de l'eau d'une profondeur allant jusqu'à 25 mètres. L'effet est obtenu grâce au fait qu'une partie de l'eau soulevée redescend et est injectée sous pression à travers une buse supplémentaire dans le courant principal. La loi de Bernoulli entre en vigueur et l'eau des intestins se précipite en raison de la vitesse du courant.
L'inconvénient de telles unités est un bruit accru et une efficacité réduite, car une partie du liquide soulevé est renvoyée.
Il convient également de prêter attention à d'autres paramètres:
Température maximale de l'environnement de travail ;
Pression de sortie maximale ;
Le volume de liquide pompé en litres par heure ;
Degré admissible de pollution de l'eau - important lors du choix d'une pompe de jardin;
Structure et principe de fonctionnement
Selon le mode d'action, une pompe auto-amorçante peut être vortex et centrifuge. Dans les deux cas, le lien clé est la roue à aubes, seulement elle a une structure différente et est installée dans un logement d'un handicap différent. Cela change le principe de fonctionnement.
Centrifuge
Les pompes centrifuges auto-amorçantes ont une structure intéressante de la chambre de travail - sous la forme d'un escargot. Les roues sont fixées au centre du corps. Il peut y avoir une roue, puis la pompe est appelée à un étage, il peut y en avoir plusieurs - une conception à plusieurs étages. Les mono-étages fonctionnent toujours à la même puissance, les multi-étages peuvent modifier les performances en fonction des conditions, respectivement, ils sont plus économiques (moins de consommation d'énergie).

Dispositif de pompe centrifuge auto-amorçante
L'élément de travail principal de cette conception est une roue à aubes. Les lames sont pliées dans le sens opposé par rapport au mouvement de la roue. Lorsqu'ils se déplacent, ils semblent pousser l'eau, la pressant contre les parois du boîtier. Ce phénomène s'appelle la force centrifuge, et la zone entre les pales et la paroi s'appelle le "diffuseur". Ainsi, la roue se déplace, créant une zone de surpression à la périphérie et poussant l'eau vers le tuyau de sortie.

Schéma du mouvement de l'eau dans une pompe centrifuge
Dans le même temps, une zone de pression réduite se forme au centre de la roue. L'eau y est aspirée à partir de la canalisation d'alimentation (conduite d'aspiration). Dans la figure ci-dessus, l'eau entrante est indiquée par des flèches jaunes. Ensuite, il est poussé par la roue vers les parois et s'élève sous l'effet de la force centrifuge. Ce processus est constant et sans fin, se répétant tant que l'arbre tourne.
Leur inconvénient est lié au principe de fonctionnement des pompes centrifuges: la roue ne peut pas créer de force centrifuge à partir de l'air, par conséquent, le boîtier est rempli d'eau avant le fonctionnement. Étant donné que les pompes fonctionnent souvent en mode intermittent, de sorte que l'eau ne s'écoule pas du boîtier à l'arrêt, un clapet anti-retour est installé sur le tuyau d'aspiration. Ce sont les caractéristiques du fonctionnement des pompes centrifuges auto-amorçantes. Si le clapet anti-retour (il doit être obligatoire) se trouve au bas de la canalisation d'alimentation, toute la canalisation doit être remplie, ce qui nécessitera plus d'un litre.
| Nom | Du pouvoir | pression | Profondeur d'aspiration maximale | Performance | Matériau du boîtier | Cotes de raccordement | Prix |
|---|---|---|---|---|---|---|---|
| Calibre NBTs-380 | 380W | 25 mètres | 9 mètres | 28 l/min | fonte | 1 pouce | 32$ |
| Metabo P 3300 G | 900W | 45 mètres | 8 mètres | 55 l/min | fonte (arbre d'entraînement en acier inoxydable) | 1 pouce | 87$ |
| ZUBR ZNS-600 | 600W | 35 mètres | 8 mètres | 50 l/min | Plastique | 1 pouce | 71$ |
| Elitech HC 400V | 400W | 35 mètres | 8 mètres | 40 l/min | fonte | 25 millimètres | 42$ |
| PATRIOT QB70 | 750W | 65 mètres | 8 mètres | 60 l/min | Plastique | 1 pouce | 58$ |
| Gilex Jumbo 70/50 H 3700 | 1100W | 50 mètres | 9 m (éjecteur intégré) | 70 l/min | fonte | 1 pouce | 122$ |
| BELAMOSS XI 13 | 1200W | 50 mètres | 8 mètres | 65 l/min | acier inoxydable | 1 pouce | 125$ |
| BELAMOS XA 06 | 600W | 33 m | 8 mètres | 47 l/min | fonte | 1 pouce | 75$ |
Vortex
La pompe auto-amorçante vortex diffère par la structure du corps et de la roue. La roue est un disque avec de courtes chicanes radiales situées sur les bords. C'est ce qu'on appelle une turbine.
La structure de la pompe vortex
Le boîtier est réalisé de manière à recouvrir assez étroitement la partie "plate" de la roue, et un jeu latéral important reste dans la zone du déflecteur. Lorsque la roue tourne, l'eau est emportée par les ponts. En raison de l'action de la force centrifuge, il est pressé contre les murs, mais après une certaine distance, il retombe dans la zone d'action des cloisons, recevant une portion supplémentaire d'énergie. Ainsi, dans les interstices, il se tord également en tourbillons. Il s'avère un double écoulement vortex, qui a donné son nom à l'équipement.
En raison des particularités du travail, les pompes vortex peuvent créer une pression 3 à 7 fois supérieure à celle des pompes centrifuges (avec les mêmes tailles de roue et vitesse de rotation). Ils sont idéaux lorsqu'un faible débit et une haute pression sont requis. Un autre avantage est qu'ils peuvent pomper un mélange d'eau et d'air, parfois même créer un vide s'ils ne sont remplis que d'air. Cela facilite le démarrage - pas besoin de remplir la chambre avec de l'eau ou une petite quantité suffit. L'inconvénient des pompes vortex est leur faible rendement. Il ne peut pas être supérieur à 45-50 %.
| Nom | Du pouvoir | Tête (hauteur de levage) | Performance | Profondeur d'aspiration | Matériau du boîtier | Prix |
|---|---|---|---|---|---|---|
| LEO XKSm 60-1 | 370W | 40 mètres | 40 l/min | 9 mètres | fonte | 24$ |
| LEO XKSm 80-1 | 750W | 70 mètres | 60 l/min | 9 mètres | fonte | 89$ |
| AKO QB 60 | 370W | 30 mètres | 28 l/min | 8 mètres | fonte | 47$ |
| AKO QB 70 | 550W | 45 mètres | 40 l/min | 8 mètres | fonte | 68 $ |
| Pedrollo RKm 60 | 370W | 40 mètres | 40 l/min | 8 mètres | fonte | 77$ |
| Pedrollo RK 65 | 500W | 55 mètres | 50 l/min | 8 mètres | fonte | 124$ |
Installation correcte de la conduite d'aspiration
Lors de l'installation d'un système d'alimentation en eau, il est important non seulement d'installer une pompe ou une station de pompage auto-amorçante, mais également d'installer une conduite d'aspiration.
La valeur de pression (7-8 m) est calculée en tenant compte de la hauteur de la montée de l'eau et des paramètres de la résistance hydraulique qui se produit lors du mouvement du liquide
Lors de la création d'une alimentation en eau scellée, il est nécessaire de contrôler le rapport entre le diamètre du pipeline et le diamètre du tuyau de dérivation, ainsi que de raccourcir (si possible) la longueur de toute la conduite.
Plus la conduite d'aspiration est longue, plus la résistance est élevée, respectivement, plus la pression est faible. La présence de fuites peut entraîner une défaillance de l'équipement - cette condition est pertinente pour les modèles centrifuges qui ne sont pas conçus pour pomper des fluides air-liquide.
Faites attention à l'emplacement des tuyaux. La conduite d'aspiration ne doit pas avoir de plis, de plis ou une structure préfabriquée complexe qui s'élève au-dessus du niveau de la pompe, sinon des poches d'air peuvent se former qui perturbent le processus d'aspiration et sont difficiles à retirer du système
Essayez de positionner la conduite d'aspiration de manière à ce qu'elle soit la configuration la plus simple avec des tuyaux droits et un angle, c'est-à-dire qu'elle ressemblerait à la lettre "L"
En tant qu'équipement supplémentaire installé directement sur la ligne, un clapet anti-retour (ou un simple analogue anti-retour) et un filtre sont utilisés. Grâce à la vanne, l'eau est retenue dans la canalisation et ne reflue pas, protégeant ainsi le propriétaire de la pompe du remplissage.
Le filtre protège l'équipement de la pénétration de sédiments de fond avec de grosses inclusions, des morceaux de plantes aquatiques, des impuretés argileuses.
Un modèle auto-amorçant peut-il être remplacé par une pompe conventionnelle ? S'il n'y a pas d'autre issue, ils le font - pendant la période de réparation ou d'achat de nouvel équipement.
Cependant, n'oubliez pas certaines des nuances:
- vous devrez remplir complètement la chambre de la pompe et la ligne avec de l'eau avant de l'allumer ;
- l'air doit être évité, sinon l'équipement tombera en panne;
- le remplissage doit être fait après chaque "accident" causé par la dépressurisation de l'alimentation en eau.
La pratique montre que les utilisateurs de pompes auto-amorçantes ne sont pas pressés de passer à des pompes conventionnelles, d'autant plus que le choix des équipements est souvent dicté par des conditions d'aspiration optimales.



































