Vue d'ensemble de la pompe "Gnome" - spécifications et avis des consommateurs

Nain de pompe submersible de drainage: appareil, désignations et types, spécifications

Variétés

Vue d'ensemble de la pompe "Gnome" - spécifications et avis des consommateurs

La gamme de pompes Gnome de divers fabricants comprend une douzaine de modèles. Dans le même temps, le marquage de l'unité a la forme suivante : « Gnome 35-35 ». Le premier chiffre indique la performance, mesurée en mètres cubes par heure, le second chiffre est la pression du fluide.

Classiquement, toutes les pompes submersibles de la série Gnome peuvent être divisées en trois types :

  1. Pompes à boue traditionnelles.
  2. Antidéflagrant.
  3. Haute pression.

agrégats de boue

Vue d'ensemble de la pompe "Gnome" - spécifications et avis des consommateurs

Il s'agit de la série la plus populaire et la plus nombreuse de tels dispositifs de pompage. Cette série comprend une centaine de modifications de dispositifs de pompage de drainage Gnome. Tous diffèrent par leur technique caractéristiques et caractéristiques de fonctionnement. Nous listons les plus populaires d'entre eux:

  • L'équipement de pompage Gnome portant la désignation 6-10 est une unité d'une capacité de 6 m³ / h et d'une limite de hauteur de liquide de 10 m. Sa puissance est de 0,6 kW.
  • Nain marqué 10-10. La performance de cet équipement de pompage de drainage est de 10 m³ / h, la hauteur admissible est de 10 m.Il existe des modèles d'une puissance de 0,75 et 1,1 kW en vente. Deux versions de cette unité sont également produites pour les réseaux de 220 V et 380 V. Ce modèle a une modification pour le pompage de liquides chauds marqué Tr.
  • La pompe électrique de modification Gnome avec la désignation 16-16 est un modèle avec une tête de 16 m et une capacité de 16 m³ / h. Il existe trois variantes de cette unité d'une capacité de 1,1 ; 1,5 et 2,2kW.
  • L'équipement de pompage submersible Gnome marqué 25-20 crée une pression d'eau de 20 m et a une capacité de 25 m³ / h. L'unité est disponible en trois capacités différentes 2.2 ; 3 et 4kW. Dans cette série, vous pouvez acheter un modèle qui pompe des liquides chauds.

De plus, la catégorie des pompes à boue devrait inclure des modèles avec des marquages ​​​​de 40-25 à 600-10. Certaines de ces modifications sont équipées de postes de contrôle. Habituellement, les prix de ces appareils sont 1,5 fois plus élevés que ceux des modèles traditionnels en boue.

antidéflagrant

Vue d'ensemble de la pompe "Gnome" - spécifications et avis des consommateurs

Ce n'est pas une si longue série. Il n'a que 10 modifications de pompes Gnome. Pour les besoins domestiques, il est peu probable que cette unité soit utile, mais pour les entreprises industrielles et manufacturières, elle est tout simplement irremplaçable. Pour distinguer les modèles antidéflagrants des modèles ordinaires, vous devez regarder les marquages. Il doit contenir les lettres EX.

La gamme de modèles de cette série comprend certains des modèles ci-dessus uniquement dans un boîtier hermétique protégé et avec une puissance accrue. Trois d'entre eux sont conçus pour fonctionner dans un environnement chaud.

Le coût de ces modèles par rapport aux unités de boue traditionnelles augmente plusieurs fois. Par conséquent, le choix de cette pompe ne doit être fait que s'il est approprié de l'utiliser.

Haute pression

Vue d'ensemble de la pompe "Gnome" - spécifications et avis des consommateurs

La catégorie des dispositifs de pompage à haute pression ne comprend que sept modifications Gnome. Pour les besoins domestiques, de telles pompes ne conviennent pas, car elles ont des caractéristiques très puissantes. Quant aux paramètres de ces unités, ils sont les suivants :

  • L'unité haute pression Gnome 50-80 a une capacité de 50 m³ / h, une hauteur maximale de 80 m et la puissance d'un tel équipement de pompage est de 30 kW.
  • La pompe Gnome 60-100 a une capacité de 60 m³/h et une hauteur manométrique maximale de 100 m et sa puissance est de 45 kW.
  • L'unité Gnome 80-70 est une pompe haute pression d'une puissance de 35 kW, d'une capacité de 80 m³/h et d'une hauteur manométrique admissible de 70 m.
  • Les pompes d'une puissance de 45 kW sont des appareils marqués 160-40, 140-50, 100-80. Leurs performances et leur pression peuvent être jugées par la désignation numérique.
  • L'unité d'une capacité de 40 kW est une pompe haute pression Gnome 110-60.

2 Types et leurs différences, portée

Toutes les pompes submersibles Gnome disponibles aujourd'hui et toutes leurs variétés ont approximativement la même conception. Afin de savoir sur quoi vous pouvez compter et si la pompe de drainage submersible Gnome fera face au volume de travail prévu, il est nécessaire de considérer toutes ses performances présentées à ce jour et leurs caractéristiques de classification.

Tout d'abord, il convient de noter que la présence de deux chiffres près du nom de la pompe, par exemple, une pompe submersible gnome 16 16, signifie : la performance du système (en mètres cubes/heure), et le deuxième chiffre indique sa pression maximale (capacité à faire monter l'eau à une certaine hauteur.).

Vue d'ensemble de la pompe "Gnome" - spécifications et avis des consommateurs

Types de pompes marque Gnome

Autrement dit, pour la pompe ci-dessus, l'alimentation en eau maximale est de 16 mètres cubes par heure et la pression maximale est également de 16 mètres. Selon les tâches qui seront effectuées, vous pouvez choisir parmi les types de pompes submersibles Gnome suivants : 6 10 ; 10 10 ; 16 16; 25 20 ; 40 25 ; 53 10.

Les trois premiers types présentés sont plus répandus, car ils s'intègrent de manière optimale dans les conditions de fonctionnement standard d'une petite entreprise, tandis que, comme les trois dernières pompes submersibles Gnome, ils disposent d'un moteur électrique à puissance accrue, ce qui leur permettra d'être utilisés avec des volumes importants et constants de liquide pompé.

Alors, à quelles fins spécifiques une pompe de gnome de drainage peut-elle être utilisée ?

  • Pompage de l'excès de liquide des tranchées de construction et des fosses excavées.
  • Organisation de travaux d'irrigation, pratiquement sur n'importe quelle zone de la terre.
  • Drainage pendant les travaux de remblayage.
  • Pompage des eaux usées qui sont tombées dans les puits des services publics souterrains.
  • Se débarrasser de l'eau des sous-sols des bâtiments.

L'avantage d'une telle pompe est la capacité de travailler dans une large plage de températures allant de 0 à 95 degrés Celsius. De plus, la pompe de drainage Gnome vous aidera si vous avez besoin de pomper des liquides contenant des particules de carburant et de lubrifiants, car elle dispose d'une protection contre les explosions pour de telles situations.

Afin de choisir le bon gnome de pompe de drainage, il est nécessaire de prendre en compte toutes les nuances.Le fabricant de pompes Gnome nous fait une assez bonne gamme de propositions pour choisir une unité adaptée spécifiquement à notre production / installation.

Vue d'ensemble de la pompe "Gnome" - spécifications et avis des consommateurs

Dispositif de pompe Gnome

Pour que votre choix soit équilibré et correct, réfléchissez soigneusement et lentement à toutes les nuances techniques de fonctionnement et, si possible, consultez un spécialiste.

Pour commencer, décidez vous-même de la puissance et des performances de la pompe. Ensuite, assurez-vous de déterminer si vous avez besoin d'une pompe à haute résistance à la température pour répondre à vos besoins. Étant donné que dans les cas où de l'eau «chaude» pénètre dans une pompe conventionnelle, les pannes ne peuvent être évitées.

La plupart des avis sur la pompe Gnome sont positifs. Les gens aiment le "blindage" de son corps et la fiabilité du mécanisme lui-même. Dans le même temps, vous pouvez observer des commentaires négatifs sur la panne de l'appareil.

Lire aussi :  Vue d'ensemble de la pompe submersible "Kid": schéma de l'unité, caractéristiques, règles de fonctionnement

Cela se produit (pour la plupart) en raison de la violation des conditions recommandées pour le fonctionnement d'un type particulier de pompe. Par conséquent, vérifiez régulièrement l'état technique et l'environnement de fonctionnement de la pompe submersible.

Principaux fabricants

Le fabricant russe de pompes gnome a la distribution la plus large sur le marché de la CEI, notamment: Valdai Pump Plant, Moscow Pump Plant, Livgidromash, Euromash, Agrovodkom et autres. Le choix du fabricant vous appartient.

Notre conseil serait d'analyser l'ensemble du marché avant d'acheter : prix, offres, modèles de trésorerie. Et vous devez également tenir compte du fait qu'au début de la saison, le prix de la pompe augmente légèrement. Faites donc votre choix judicieusement.

1 Candidatures

Les pompes de drainage Gnome sont idéales pour pomper de l'eau sale avec une faible teneur en corps étrangers, ce qui est très important. De plus, ce type de pompe peut également être utilisé pour pomper de l'eau propre.

Comme toute autre pompe submersible, les pompes Gnome sont utilisées dans un large éventail d'industries. Le plus souvent, une pompe submersible fécale est utilisée pour nettoyer ou pomper l'eau des sources suivantes :

  • Eaux industrielles;
  • Eau domestique provenant des eaux usées (à l'exception des matières fécales);
  • Eaux souterraines, provenant généralement de tranchées de construction ou, plus rarement, de fosses ;
  • Eaux de réservoirs fortement pollués ou marécageux.

Dans le même temps, la pompe submersible de marque Gnome est utilisée dans les domaines suivants :

  • Economie communale. En cas d'inondation pré-accidentelle ou d'urgence, les pompes de ce type sont utilisées comme nettoyant fécal, pour pomper l'eau contaminée de divers sous-sols;
  • Metropolitan, pour le pompage de fluide dans des fosses ou des tranchées ;
  • La pompe submersible de type drainage a fait ses preuves dans la construction industrielle et civile. Avec lui, vous pouvez pomper les eaux de crue des fosses. De plus, la pompe fait un excellent travail avec les eaux souterraines ;
  • Dans l'agriculture pour la bonification des terres ;
  • CENT. La pompe de vidange fécale Gnome est utilisée dans les stations-service pour évacuer les eaux usées de divers équipements lors du lavage des voitures ;
  • L'appareil de drainage submersible est utilisé, en fin de compte, dans les entreprises industrielles. Il est nécessaire dans les processus de production et pour l'organisation des installations de traitement de type drainage.

Vue d'ensemble de la pompe "Gnome" - spécifications et avis des consommateurs

Pompes de drainage Gnome avec câble

1.1 Caractéristiques générales et fonctionnalités

Les caractéristiques techniques des pompes Gnome leur permettent de travailler en milieu liquide à des températures comprises entre 0 et +95 degrés Celsius. La plage de pH autorisée est de 5 à 10 pH. Pendant le fonctionnement des pompes de ce type, la teneur en impuretés ne dépasse pas dix pour cent et la taille des impuretés, ainsi que des particules avec inclusions, ne doit pas dépasser 5 millimètres.

Considérant que la pompe de drainage submersible Gnom se distingue par une conception fiable et une excellente résistance du mécanisme du boîtier, tout en ayant d'excellentes caractéristiques techniques, ce type de pompe peut être utilisé dans des conditions difficiles et agressives. De plus, les pompes de ce type présentent également les avantages suivants :

  • Filtre facile à retirer et à nettoyer;
  • Réparation facile. Cependant, compte tenu de la conception robuste de l'appareil, il est rarement nécessaire de le réparer. De plus, une réparation est généralement nécessaire lorsque les pièces de la pompe sont complètement usées, où la réparation, en tant que telle, n'est plus possible et un remplacement complet de la pièce est nécessaire ;
  • La pompe de drainage submersible a une longue période de fonctionnement sans entretien ;
  • Les matériaux de haute qualité à partir desquels l'appareil est fabriqué et la résistance élevée à l'usure de l'appareil lui permettent de fonctionner dans des conditions environnementales plus qu'agressives sans "caprices" pour les réparations;
  • Énorme efficacité de travail ;
  • Facilité d'installation et de fonctionnement ultérieur ainsi que de maintenance ;
  • La conception des systèmes de pompage de type Gnome permet l'utilisation simultanée de plusieurs appareils à la fois. Cela vous permet d'effectuer des travaux plus efficacement et, si nécessaire, d'effectuer des réparations directement pendant le fonctionnement de la pompe.

Conseils & Astuces

Les pompes multifonctionnelles "Gnome" occupent des positions élevées dans la cote de popularité parmi les autres marques. Le déchiffrement du nom de ces unités parle de lui-même et ressemble à ceci - Dirty Water Pump Single Stage Monoblock. Une production bien établie garantit la création d'appareils de haute qualité qui sont activement utilisés dans une variété d'industries.

Lors du processus d'acquisition d'une pompe Gnome, il est nécessaire de prendre en compte de nombreux facteurs importants directement liés à l'utilisation ultérieure du produit. Tout d'abord, il convient de décider de l'objectif futur de l'unité, après quoi vous pouvez commencer à choisir un modèle avec une puissance et des performances appropriées.

Avec une utilisation régulière de l'appareil Gnome, il est recommandé d'effectuer une inspection technique en temps opportun, en fixant les entrées dans un passeport spécial. Les fabricants recommandent un entretien mensuel des unités afin d'augmenter leur durée de vie et un dépannage rapide.

La maintenance implique les actions suivantes :

  • contrôle de l'huile ;
  • vérifier l'intégrité du cordon d'alimentation, ainsi qu'éliminer les déformations sur le tuyau;
  • inspection et élimination des dommages qui en résultent ;
  • mesure du niveau de sécurité d'isolement.

Il est recommandé de remplir l'huile toutes les 250 heures de fonctionnement ou lorsque des liquides et éléments étrangers y pénètrent. Pour ce faire, l'unité Gnome est installée sur une surface plane, le bouchon du flasque de roulement est retiré, après quoi l'huile est remplie ou remplacée. Un remplacement complet nécessite un volume de 300 ml. Convient comme huile spéciale conçue exclusivement pour les pompes, ainsi que la version technique habituelle à viscosité moyenne ou faible.

Après avoir utilisé l'unité dans le but de pomper du liquide contenant des impuretés de boue, il convient de démarrer l'appareil de pompage d'eau propre afin de nettoyer les éléments structurels internes. Lorsque le mécanisme n'a pas été utilisé pendant une longue période, avant de l'allumer, vous devez vérifier le degré de rotation de la roue. Le respect de ces règles et recommandations contribuera à préserver longtemps les qualités d'origine des produits, ainsi qu'à prolonger leur durée de vie.

De nombreuses critiques indiquent que les pompes Gnome n'ont pratiquement pas d'analogues. En raison de leur qualité irréprochable, de leur fonctionnalité et de leur coût raisonnable, ces produits sont largement demandés sur le marché mondial. Ils sont activement utilisés non seulement à la maison, mais également dans les grandes installations industrielles. Un processus de production bien établi, ainsi que l'utilisation des technologies et des matériaux les plus modernes, rendent les appareils de cette marque vraiment demandés, car chaque modèle ne combine harmonieusement que les meilleures caractéristiques.

Dans la vidéo suivante, regardez la revue de la pompe Gnome 25-20.

Pompes de différents fabricants : leurs avantages et leurs inconvénients

Le plus souvent sur le marché, vous pouvez trouver les produits de l'usine de pompage d'Odintsovo et du MNZ n ° 1. Les avantages indéniables du premier groupe incluent:

  • Possibilité de choisir des appareils de deux modifications principales : sans ou avec chemise de refroidissement.
  • La haute qualité d'assemblage garantissant la fiabilité et excluant les défauts.
  • Conception réfléchie.

Les principaux inconvénients, selon les avis des clients, peuvent être considérés comme le coût élevé des installations, des réparations trop coûteuses et des pièces de rechange coûteuses pour celles-ci.De plus, en raison de la politique non officielle du fabricant, les réparations gratuites sous garantie sont pratiquement impossibles. Il est à noter qu'il existe très peu de modèles de ce fabricant destinés aux besoins domestiques.

Lire aussi :  Lampes LED linéaires: caractéristiques, types + nuances de montage des lampes linéaires

Tous ceux qui ont utilisé les appareils de l'usine d'Odintsovo soulignent qu'il s'agit d'excellents appareils de haute qualité qui devraient être achetés par ceux qui souhaitent obtenir une fiabilité élevée, cependant, pour un prix décent.

Quiconque décide d'acheter une telle pompe doit faire attention aux modèles avec une chemise de refroidissement. Il permet à l'appareil de fonctionner dans un état semi-immergé et prolonge considérablement sa durée de vie.

Vue d'ensemble de la pompe "Gnome" - spécifications et avis des consommateurs

Les pompes d'Odintsovo peuvent être produites avec ou sans chemise de refroidissement

Les produits de l'usine MNZ n°1 se distinguent par :

  • Le coût le plus bas par rapport aux autres fabricants.
  • Faible coût des réparations et des pièces de rechange.
  • Possibilité de pomper des eaux fortement polluées, telles que les drains de lave-auto, les liquides contenant du ciment, etc.
  • Poids léger de l'appareil.

Cependant, les acheteurs notent qu'un certain nombre de lacunes importantes apparaissent pendant le fonctionnement:

  • Mauvaise qualité de construction.
  • Haute sensibilité aux écarts de la norme de tension dans le réseau, jusqu'à la panne du moteur électrique et du condensateur de démarrage.
  • Fragilité des pièces plastiques : boîtier filtre inférieur et poignée de transport.
  • Conception infructueuse de la chambre à huile, à cause de laquelle, si l'assemblage est de mauvaise qualité, de l'huile peut fuir de la chambre dans le tuyau de sortie de l'unité.
  • Le montage sur tirants provoque parfois le basculement du flasque ou du capot supérieur, ce qui peut provoquer le grippage du rotor du moteur.

La pompe ne peut fonctionner que dans un état entièrement immergé, sinon une surchauffe grave et une panne de moteur sont possibles.

Vue d'ensemble de la pompe "Gnome" - spécifications et avis des consommateurs

Les pompes gnome les moins chères sont des appareils fabriqués par MNZ n ° 1

Selon les critiques, la pompe à eau gnome, produite au MNZ n ° 1, fait un excellent travail avec ses fonctions lors de travaux d'urgence assez rares. De plus, il est acheté pour fonctionner dans des conditions difficiles, lorsque, pour accomplir la tâche, la sécurité d'un mécanisme relativement peu coûteux peut être négligée. Ces unités sont maintenables et le bon marché de leurs pièces de rechange, à l'exclusion du moteur, leur permet de rivaliser avec des appareils plus fiables mais beaucoup plus chers d'autres usines.

Moins souvent sur les étagères, il y a des pompes fabriquées par Livgidromash et Polesyeelectromash. Ce sont des modèles fiables et de haute qualité. Cependant, leur coût est également assez élevé. De plus, si des réparations sont nécessaires, des difficultés peuvent survenir en raison du petit nombre de centres de service en Russie. Les appareils sont le plus souvent envoyés directement à l'usine.

Vue d'ensemble de la pompe "Gnome" - spécifications et avis des consommateurs

Gnomes Livnensky - installations de haute qualité et fiables

Une variété de modèles de pompes gnome permet de choisir facilement la meilleure. Les appareils se sont imposés comme une option presque indispensable qui vous permet de résoudre rapidement et efficacement le problème du pompage d'un volume suffisamment important de liquide contenant une variété de contaminants.

Subtilités d'installation et de réparation

Les pompes "Gnome" sont présentées sur le marché mondial sous la forme de monoblocs, constitués de deux parties : un moteur électrique et une partie pompe.L'entraînement de l'unité est effectué par un dispositif de démarrage situé sur le cordon. Pour un maximum de confort, les produits Gnome sont équipés de condensateurs et de disjoncteurs spéciaux, qui servent de protection contre la surchauffe du moteur. Immédiatement avant d'allumer l'appareil, celui-ci est complètement ou partiellement immergé dans l'eau. Sans eau, il est permis de faire fonctionner l'appareil pendant 15 minutes maximum.

Lors de la préparation de la pompe Gnome pour le fonctionnement, il est nécessaire d'inspecter l'appareil à la recherche de dommages corporels pouvant survenir non seulement sur le corps, mais également sur le câble d'alimentation. Assurez-vous de vérifier la présence d'huile dans la chambre correspondante. Après cela, vous devez retirer le bouchon de la buse, connecter l'appareil à un tuyau flexible, qui est fixé des deux côtés avec des pinces spéciales. La taille du tuyau est sélectionnée individuellement pour chaque modèle de pompe, en tenant compte des paramètres de son tuyau de refoulement.

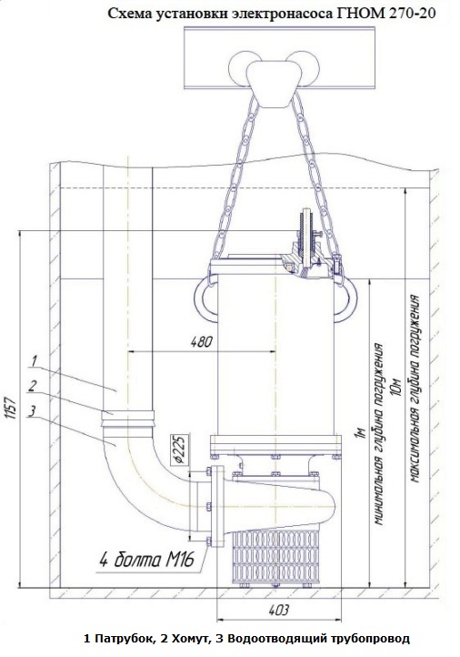
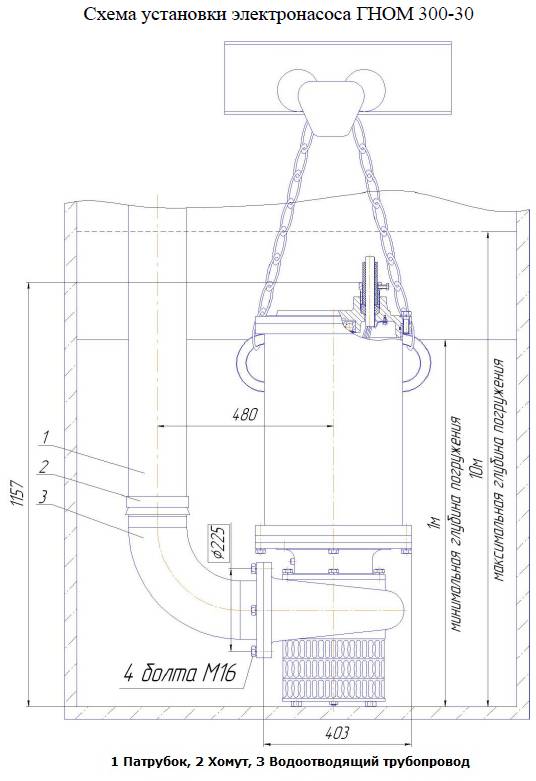
Lors du processus d'immersion de la pompe "Gnome" avec un câble dans la fosse, celle-ci doit avoir une position exclusivement verticale avec un écart autorisé ne dépassant pas 10 degrés. Il est nécessaire d'assurer une vidange complète du tuyau, en évitant l'apparition de coudes et de fractures. Lors de l'installation de l'unité sur un fond sablonneux ou boueux, il est nécessaire de poser d'abord un substrat sous la forme d'un tapis caoutchouté sur le site d'installation. Une telle mesure créera une base stable et antidérapante lors de l'installation de l'appareil. Après avoir réglé la pompe et observé toutes les règles de fonctionnement, vous pouvez commencer.

Vue d'ensemble de la pompe "Gnome" - spécifications et avis des consommateursVue d'ensemble de la pompe "Gnome" - spécifications et avis des consommateurs

Il convient de noter que tous les types de pompes Gnome sont facilement réparables en raison de la simplicité de leur conception.

Les principales causes des problèmes, ainsi que leurs solutions sont :

  • Pas d'alimentation.Le plus souvent, la cause d'un tel problème est associée à une rupture de câble ou à une panne du moteur lui-même. Pour l'éliminer, il est nécessaire de vérifier le niveau de tension, ainsi que d'inspecter le câble pour détecter tout dommage et de le neutraliser. Si le moteur lui-même tombe en panne, une aide supplémentaire d'artisans qualifiés sera nécessaire.
  • Incapacité à pomper l'eau. Cette raison se produit lorsqu'il n'y a pas d'eau dans la source ou que le tuyau est mal raccordé.
  • Augmentation des vibrations et du bruit. Se produit en raison d'une défaillance des roulements. Vous pouvez le remplacer vous-même ou contacter un centre de service.
  • Perte de pression. Se produit lorsqu'une fuite se produit sur la ligne ou en raison d'une baisse de tension dans le réseau. Dans certains cas, la pompe peut être obstruée par des débris. Ensuite, l'appareil est soumis à un démontage suivi d'un nettoyage et d'un lavage de la chambre de pompage.

Vue d'ensemble de la pompe "Gnome" - spécifications et avis des consommateursVue d'ensemble de la pompe "Gnome" - spécifications et avis des consommateurs

Types principaux

Selon la portée et les caractéristiques techniques, les "Gnomes" sont divisés en trois groupes principaux :

Ménage, conçu pour l'eau sale, avec une puissance et des performances moyennes. Les experts appellent souvent ces pompes ordinaires. L'objectif principal de l'équipement est le travail de drainage domestique. Les modèles diffèrent principalement par leurs performances - de 10 à 25 mètres cubes par heure, et leur puissance (consommation d'énergie) - de 600 W à 4 kW.

Conception industrielle antidéflagrante - une ligne assez petite, dont les modèles sont fabriqués dans un étui de protection spécial. Ces modèles professionnels sont marqués de la marque EX et sont le plus souvent utilisés dans la production industrielle. Leur prix est approprié - à partir de 45 000 roubles.

Haute pression - un autre type de pompes industrielles aux performances impressionnantes productivité - jusqu'à 50 mètres cubes par heure, et puissance - jusqu'à 45 kW. Le prix d'une telle pompe varie dans les 250 000 roubles.

Spécifications et marquages

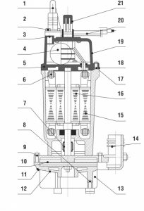
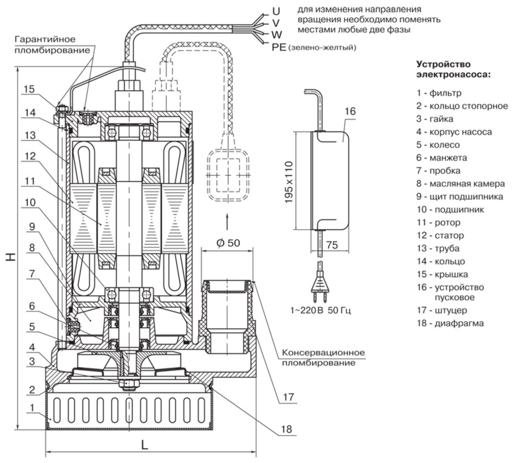
Les pompes de la gamme "Gnome" appartiennent à la classe des pompes submersibles verticales à un étage de conception monobloc. Ils sont conçus pour le pompage des eaux de drainage et souterraines ne contenant pas plus de 10% de particules mécaniques solides en poids, dont la densité ne dépasse pas 2,5 mille kg/m3. Il est permis de pomper des fractions ne dépassant pas 5 mm. La température du liquide pompé est jusqu'à +35ºС, et pour les modèles marqués "Tr" - jusqu'à +60ºС.

Le boîtier de l'électropompe submersible est en plastique, en fonte ou en acier. Les roues et le carter du moteur sont en fonte. L'équipement est produit avec différents types de moteurs, selon lesquels il est déterminé s'il peut être alimenté par une alimentation domestique avec une tension de 220 V ou par une alimentation industrielle triphasée avec une tension de 380 V et une fréquence de 50 Hz.

Les fabricants de pompes centrifuges Gnome proposent une large gamme de produits aux caractéristiques techniques différentes, vous pouvez donc choisir un modèle avec les paramètres nécessaires

Lire aussi :  Cours de lavage dans les machines à laver: comment choisir un équipement avec les bonnes fonctions

Le pack électropompe comprend : un cordon d'alimentation de 10 m pour une alimentation triphasée ou un cordon d'alimentation et un dispositif de démarrage pour une alimentation monophasée. La plupart des fabricants, moyennant des frais et à la demande de l'acheteur, incluent dans le kit une machine automatique pour protéger un moteur fonctionnant à partir d'un réseau 380 V.

Les spécifications telles que la puissance, les paramètres d'alimentation, les performances (vitesse de pompage), la hauteur maximale, ainsi que les dimensions et le poids de l'équipement dépendent du modèle spécifique. Vous pouvez comparer les caractéristiques techniques des modèles de pompes Gnome à l'aide du tableau :

Les caractéristiques techniques des pompes sont indiquées en mode nominal et ne peuvent différer de plus de dix pour cent pour les indicateurs de pression et de pas plus de trois pour cent pour l'efficacité

Toutes les pompes produites sous la marque Gnome sont marquées. Sachant ce qui se cache derrière les numéros et les désignations, vous pouvez facilement comprendre les caractéristiques et les caractéristiques de la pompe. Le mot "Gnome" lui-même est une abréviation et signifie : G - eau sale, H-pompe, O - à un étage, M - monobloc.

Le principal avantage de la série de pompes Gnome est la simplicité de conception. Vous pouvez démonter pour nettoyer et assembler l'unité sans problème de vos propres mains

Le premier chiffre du marquage indique la capacité en m3 / h, le second - la tête en mètres. Par exemple, "Gnome 10-10 Tr" est une pompe d'une capacité de 10 m3 / h et d'une tête de 10 m. La désignation "Tr" indique que cet équipement peut pomper de l'eau à une température allant jusqu'à +60 C. La lettre "D" signifie que l'équipement est équipé d'un interrupteur à flotteur (capteur de niveau).

Les pompes marquées de l'abréviation "Ex" appartiennent au groupe antidéflagrant. Ces unités sont capables de pomper de l'eau contenant des impuretés de produits pétroliers, qui ne contiennent pas plus de 3% de soufre. En cas d'urgence, la pompe peut être utilisée pour travailler dans un environnement contenant jusqu'à 100% de produits pétroliers bruts.

Galerie d'images
Photo de
Les pompes submersibles Gnome sont conçues pour pomper des fluides liquides contenant des inclusions minérales jusqu'à 1250 kg/m3

Les modifications de cette marque sont utilisées à la fois pour pomper l'eau des réservoirs ouverts et pour drainer les sous-sols et les fosses

L'eau est aspirée par un dispositif centrifuge situé dans la partie inférieure du corps, puis le liquide est poussé vers le tuyau de dérivation avec un tuyau relié à celui-ci

Les modèles Gnome peuvent pomper des liquides avec des particules minérales dont la taille varie de 5 à 25 mm. Afin d'éviter que des particules plus grosses ne pénètrent dans le système, la partie aspiration est protégée par un filtre

Modèles de pompe de marque Gnome

Portée des pompes Gnome

Le principe de fonctionnement des unités centrifuges

Filtre pompe submersible Gnome

Réparation de pièces de pompe « Gnome »

Après avoir examiné les causes des dysfonctionnements des pompes de la marque Gnom, vous pouvez constater que presque tous les problèmes sont résolus en remplaçant les pièces suivantes : roulements, roue, arbre de roue. De plus, certains dysfonctionnements sont éliminés après avoir ajusté l'écart entre la roue et le diaphragme.

Séquence de remplacement des roulements

Si les roulements sont usés, la pompe peut pomper de l'eau, mais faire des bruits inhabituels dus au frottement et au balancement des roulements usés. Les roulements doivent être changés s'il y a des écarts de plus de 0,1-0,3 mm. Cela se produit généralement après 3 à 6 ans de fonctionnement de la pompe électrique Gnome.

Le processus de remplacement des roulements est très simple: la pompe est démontée, les roulements sont retirés et remplacés par de nouveaux provenant d'un kit de réparation spécial. N'utilisez pas de similitude de roulements fabriqués par vous-même ou d'analogues de kits de réparation d'autres modifications, car.cela peut à nouveau désactiver l'équipement dans un avenir très proche.

Remplacement de la roue

Pour remplacer la roue, il est nécessaire de démonter la pompe électrique Gnome et de retirer la roue. Installez ensuite une nouvelle turbine et assemblez la pompe dans l'ordre inverse. Lors de l'installation d'un couvercle avec un disque mobile de réglage, il est nécessaire de visser les fixations sur les goujons et de les serrer simultanément jusqu'à ce que le jeu minimum entre les pales de la roue et le couvercle avec le disque soit atteint.

Après le montage, il est nécessaire de vérifier l'étanchéité et, si elle est cassée, de refuser d'utiliser une pompe électrique endommagée de façon permanente.

Dans certains cas, si vous avez de l'expérience et un équipement approprié, vous ne pouvez pas remplacer la roue par une nouvelle, mais essayez de réparer le fonctionnement annulaire existant à l'aide d'un surfaçage, suivi de son traitement sur un tour.

Vue d'ensemble de la pompe "Gnome" - spécifications et avis des consommateurs
Les défauts de la turbine en acier inoxydable ou en fonte peuvent être corrigés par soudage à l'électrode suivi d'un retournement du point de soudure sur un tour

Réparation de l'arbre de roue et du carter

Si l'arbre de travail est endommagé (plié, fissuré), il est préférable de le remplacer complètement. Le corps des "Gnomes" est théoriquement réparable, mais en pratique, il est presque impossible de le réaliser correctement.

Dans neuf cas sur dix, l'étanchéité du boîtier sera rompue, et ce défaut ne pourra être corrigé qu'en usine ou dans un centre de service.

Étant donné que de telles pannes se retrouvent dans des pompes qui ont fonctionné pendant longtemps, et donc non soumises au service de garantie, il est nécessaire de réfléchir à la faisabilité de la réparation.Dans la plupart des cas, il est plus rapide, moins cher et plus facile d'acheter une nouvelle pompe submersible.

Réglage de l'écart entre la roue et le diaphragme

La principale raison de la diminution de la pression et des performances de la pompe électrique Gnome est l'augmentation de l'écart entre la roue et le diaphragme pendant le fonctionnement. Pour réduire l'écart, vous devez l'ajuster.

Pour ce faire, retirez le bas du filtre et dévissez l'écrou supérieur. Serrez ensuite les parties du diaphragme avec des écrous situés de part et d'autre jusqu'à ce qu'il entre en contact avec la roue.

Desserrez ensuite les écrous inférieurs d'un demi-tour. Avec cet ajustement, l'écart sera de 0,3 à 0,5 mm. L'emplacement ajusté du diaphragme par rapport à la roue est fixé avec les écrous supérieurs. Après avoir terminé le réglage, il est nécessaire de vérifier la facilité de rotation de la roue, elle doit tourner sans aucun effort.

Vue d'ensemble de la pompe "Gnome" - spécifications et avis des consommateursAjustement de l'écart entre diaphragme et roue nécessaire après des travaux de réparation liés au démontage de la pompe "Gnome"

Réparation du moteur électrique de la pompe "Gnome"

Les pompes de la marque Gnome sont équipées d'un moteur électrique asynchrone fiable. Il est très difficile de réparer soi-même un moteur électrique. Le maximum qui peut être fait sans supports spéciaux est de déterminer la résistance des enroulements du moteur à l'aide d'un multimètre domestique.

Si l'indicateur de résistance tend vers l'infini, cela indique que l'enroulement est endommagé et doit être remplacé. Pour remplacer le bobinage, un démontage complexe du moteur électrique et la présence d'une machine à rembobiner seront nécessaires.

Mais la principale difficulté réside dans le processus d'assemblage - l'unité doit être assemblée de manière à fournir une barrière irréprochable contre la pénétration d'eau dans le moteur électrique. C'est pourquoi il vaut mieux confier la réparation du moteur de pompe Gnome à des professionnels.

Vue d'ensemble de la pompe "Gnome" - spécifications et avis des consommateurs
La réparation la plus difficile des modifications de la pompe Gnome est la restauration des performances du moteur. Cela ne vaut pas la peine de se lancer dans cette activité sans compétences ni équipement auxiliaire.

Évaluation
Site sur la plomberie

Nous vous conseillons de lire

Où remplir la poudre dans la machine à laver et combien de poudre verser