- 5 règles pour se réchauffer
- Tableau des paramètres
- Aérateurs de toit
- Principe de fonctionnement
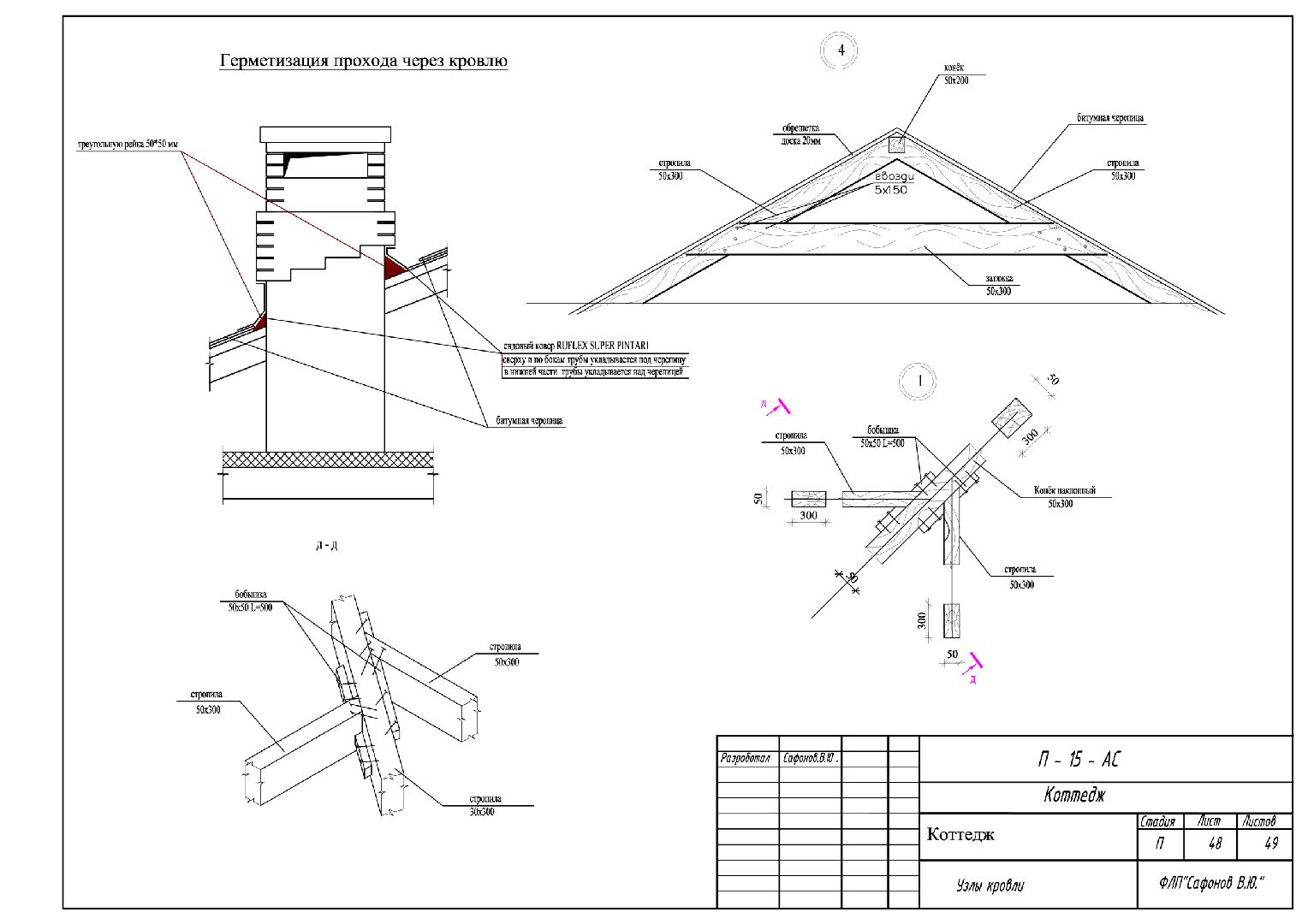
- Passage d'un tuyau de cheminée à travers un toit en tuiles
- Dispositif à 4 nœuds
- Installation de nœuds de passage de ventilation à travers le toit
- Conclusion - brièvement sur l'essentiel
- Caractéristiques d'installation d'une conception typique
- Les subtilités de l'installation d'un réseau de ventilation
- Comment contourner le tuyau?
- Caractéristiques générales des unités de ventilation de toiture
- Description et objectif des nœuds de passage
5 règles pour se réchauffer
L'isolation thermique interne empêche non seulement la condensation, mais améliore également considérablement les caractéristiques aérodynamiques du système dans son ensemble, rendant son fonctionnement plus efficace. De plus, la structure peut être isolée de l'extérieur - cela est nécessaire pour augmenter les paramètres de fonctionnement du conduit de ventilation. L'isolation thermique externe du système présente de nombreux avantages:
- 1. Réduit le transfert de chaleur, ce qui a un effet positif sur le niveau de poussée.
- 2. Réduit le bruit et les vibrations qui accompagnent le fonctionnement du système.
- 3. Minimise le risque de moisissure et de gel dû à une humidité excessive.
- 4. Le risque d'incendie est minimisé.
Il est nécessaire de choisir des matériaux d'isolation thermique en tenant compte de certains facteurs. Certains d'entre eux:
- 1. Dimensions de la gaine de ventilation sur le toit, sa structure.
- 2. Indicateurs de conductivité thermique des matériaux utilisés.
- 3. Présence d'un point de rosée.
- quatre.Différences de température entre la base interne et la structure du complexe de ventilation.
Il convient de noter que la condensation ne se forme pas sur les systèmes de briques, il n'est donc pas nécessaire de réaliser une isolation thermique. Pour l'isolation extérieure, on utilise souvent des dalles de façade à base de laitier de gypse, etc.
Le processus comprend plusieurs étapes :
- 1. Tout d'abord, la préparation de la surface est effectuée - nettoyage, démontage des zones faibles. Ensuite, il est traité avec un apprêt.
- 2. Un mélange adhésif spécial est utilisé pour fixer les panneaux. Avec son aide, la bordure et l'installation d'une tache sont effectuées.
- 3. Installez ensuite les chevilles de façade. Ceci est fait après que le mélange adhésif a complètement durci.
- 4. Installation d'une base de renforcement en matériaux adhésifs et en fibre de verre.
- 5. Une fois la colle sèche, les surfaces sont traitées avec un apprêt. Ensuite, le plâtrage est effectué.
Tableau des paramètres
code de fournisseur
d1,mm
d2, mm
B, mm
Un, mm
Hmm
Poids (kg
K2.MU.UPK45.080
80
90
380
520
200
2
K2.MU.UPK45.100
100
110
400
530
200
2,10
K2.MU.UPK45.110
110
120
410
540
200
2,20
K2.MU.UPK45.115
115
125
415
540
200
2,20
K2.MU.UPK45.120
120
130
420
560
200
2,30
K2.MU.UPK45.130
130
140
430
570
200
2,35
K2.MU.UPK45.140
140
150
440
580
200
2,40
K2.MU.UPK45.150
150
160
450
590
200
2,50
K2.MU.UPK45.160
160
170
460
610
200
2,50
K2.MU.UPK45.180
180
190
480
640
200
2,70
K2.MU.UPK45.200
200
210
500
660
200
2,90
K2.MU.UPK45.210
210
220
510
680
200
2,90
K2.MU.UPK45.220
220
230
520
690
200
2,90
K2.MU.UPK45.230
230
240
530
700
200
3
K2.MU.UPK45.240
240
250
540
710
200
3,10
K2.MU.UPK45.250
250
260
550
730
200
3,10
K2.MU.UPK45.260
260
270
560
750
200
3,50
K2.MU.UPK45.280
280
290
580
870
200
4,10
K2.MU.UPK45.300
300
310
600
800
200
4,50
K2.MU.UPK45.320
320
330
620
850
200
4,90
K2.MU.UPK45.350
350
360
650
870
200
5,40
K2.MU.UPK45.400
400
41
700
940
200
5,80
K2.MU.UPK45.450
450
460
750
1010
200
6,30
K2.MU.UPK45.500
500
510
800
1080
200
6,70
K2.MU.UPK45.550
550
560
850
1150
200
7,30
K2.MU.UPK45.600
600
610
900
1220
200
7,80
K2.MU.UPK45.650
650
660
950
1290
200
7,80
K2.MU.UPK45.700
700
710
1000
1360
200
7,90
K2.MU.UPK45.750
750
760
1050
1420
200
8,10
K2.MU.UPK45.800
800
810
1100
1490
200
8,10
K2.MU.UPK45.850
850
860
1150
1630
200
8,70
K2.MU.UPK45.900
900
910
1200
1640
200
9,70
K2.MU.UPK45.1000
1000
1010
1300
1770
200
10,70
K2.MU.UPK45.1100
1100
1110
1400
1980
200
11,20
code de fournisseur
K2.MU.UPK45.080
- K2.MU.UPK45.080
- K2.MU.UPK45.100
- K2.MU.UPK45.110
- K2.MU.UPK45.115
- K2.MU.UPK45.120
- K2.MU.UPK45.130
- K2.MU.UPK45.140
- K2.MU.UPK45.150
- K2.MU.UPK45.160
- K2.MU.UPK45.180
- K2.MU.UPK45.200
- K2.MU.UPK45.210
- K2.MU.UPK45.220
- K2.MU.UPK45.230
- K2.MU.UPK45.240
- K2.MU.UPK45.250
- K2.MU.UPK45.260
- K2.MU.UPK45.280
- K2.MU.UPK45.300
- K2.MU.UPK45.320
- K2.MU.UPK45.350
- K2.MU.UPK45.400
- K2.MU.UPK45.450
- K2.MU.UPK45.500
- K2.MU.UPK45.550
- K2.MU.UPK45.600
- K2.MU.UPK45.650
- K2.MU.UPK45.700
- K2.MU.UPK45.750
- K2.MU.UPK45.800
- K2.MU.UPK45.850
- K2.MU.UPK45.900
- K2.MU.UPK45.1000
- K2.MU.UPK45.1100
- d1,mm
80 - d2, mm
90 - B, mm
380 - Un, mm
520 - Hmm
200 - Poids (kg
2
- d1,mm
100 - d2, mm
110 - B, mm
400 - Un, mm
530 - Hmm
200 - Poids (kg
2,10
- d1,mm
110 - d2, mm
120 - B, mm
410 - Un, mm
540 - Hmm
200 - Poids (kg
2,20
- d1,mm
115 - d2, mm
125 - B, mm
415 - Un, mm
540 - Hmm
200 - Poids (kg
2,20
- d1,mm
120 - d2, mm
130 - B, mm
420 - Un, mm
560 - Hmm
200 - Poids (kg
2,30
- d1,mm
130 - d2, mm
140 - B, mm
430 - Un, mm
570 - Hmm
200 - Poids (kg
2,35
- d1,mm
140 - d2, mm
150 - B, mm
440 - Un, mm
580 - Hmm
200 - Poids (kg
2,40
- d1,mm
150 - d2, mm
160 - B, mm
450 - Un, mm
590 - Hmm
200 - Poids (kg
2,50
- d1,mm
160 - d2, mm
170 - B, mm
460 - Un, mm
610 - Hmm
200 - Poids (kg
2,50
- d1,mm
180 - d2, mm
190 - B, mm
480 - Un, mm
640 - Hmm
200 - Poids (kg
2,70
- d1,mm
200 - d2, mm
210 - B, mm
500 - Un, mm
660 - Hmm
200 - Poids (kg
2,90
- d1,mm
210 - d2, mm
220 - B, mm
510 - Un, mm
680 - Hmm
200 - Poids (kg
2,90
- d1,mm
220 - d2, mm
230 - B, mm
520 - Un, mm
690 - Hmm
200 - Poids (kg
2,90
- d1,mm
230 - d2, mm
240 - B, mm
530 - Un, mm
700 - Hmm
200 - Poids (kg
3
- d1,mm
240 - d2, mm
250 - B, mm
540 - Un, mm
710 - Hmm
200 - Poids (kg
3,10
- d1,mm
250 - d2, mm
260 - B, mm
550 - Un, mm
730 - Hmm
200 - Poids (kg
3,10
- d1,mm
260 - d2, mm
270 - B, mm
560 - Un, mm
750 - Hmm
200 - Poids (kg
3,50
- d1,mm
280 - d2, mm
290 - B, mm
580 - Un, mm
870 - Hmm
200 - Poids (kg
4,10
- d1,mm
300 - d2, mm
310 - B, mm
600 - Un, mm
800 - Hmm
200 - Poids (kg
4,50
- d1,mm
320 - d2, mm
330 - B, mm
620 - Un, mm
850 - Hmm
200 - Poids (kg
4,90
- d1,mm
350 - d2, mm
360 - B, mm
650 - Un, mm
870 - Hmm
200 - Poids (kg
5,40
- d1,mm
400 - d2, mm
41 - B, mm
700 - Un, mm
940 - Hmm
200 - Poids (kg
5,80
- d1,mm
450 - d2, mm
460 - B, mm
750 - Un, mm
1010 - Hmm
200 - Poids (kg
6,30
- d1,mm
500 - d2, mm
510 - B, mm
800 - Un, mm
1080 - Hmm
200 - Poids (kg
6,70
- d1,mm
550 - d2, mm
560 - B, mm
850 - Un, mm
1150 - Hmm
200 - Poids (kg
7,30
- d1,mm
600 - d2, mm
610 - B, mm
900 - Un, mm
1220 - Hmm
200 - Poids (kg
7,80
- d1,mm
650 - d2, mm
660 - B, mm
950 - Un, mm
1290 - Hmm
200 - Poids (kg
7,80
- d1,mm
700 - d2, mm
710 - B, mm
1000 - Un, mm
1360 - Hmm
200 - Poids (kg
7,90
- d1,mm
750 - d2, mm
760 - B, mm
1050 - Un, mm
1420 - Hmm
200 - Poids (kg
8,10
- d1,mm
800 - d2, mm
810 - B, mm
1100 - Un, mm
1490 - Hmm
200 - Poids (kg
8,10
- d1,mm
850 - d2, mm
860 - B, mm
1150 - Un, mm
1630 - Hmm
200 - Poids (kg
8,70
- d1,mm
900 - d2, mm
910 - B, mm
1200 - Un, mm
1640 - Hmm
200 - Poids (kg
9,70
- d1,mm
1000 - d2, mm
1010 - B, mm
1300 - Un, mm
1770 - Hmm
200 - Poids (kg
10,70
- d1,mm
1100 - d2, mm
1110 - B, mm
1400 - Un, mm
1980 - Hmm
200 - Poids (kg
11,20
Aérateurs de toit
Pour éviter la formation de condensation, qui favorise le développement et la propagation des champignons et moisissures, le système de toiture doit être bien ventilé. À ces fins, des éléments spéciaux sont en outre installés sur le toit, appelés aérateurs.
Principe de fonctionnement
- L'air entrera dans des ouvertures techniques spéciales installées dans l'avant-toit.
- Puis, traversant naturellement tout le toit de bas en haut, il sortira par les aérateurs situés plus près du faîte.
C'est ce système simple de ventilation naturelle qui garantira l'absence de condensation sous la toiture.

Principe de la ventilation du toit
Passage d'un tuyau de cheminée à travers un toit en tuiles
Séparément, je voudrais parler du passage du tuyau à travers le toit en tuiles. Les fabricants ont pensé à un élément spécial qui répète le motif en relief des carreaux et comporte un trou prévu pour le tuyau. Un tuyau du même matériau est également sélectionné pour cela.

Ces éléments d'une toiture en tuiles sont en plastique très résistant.Ils sont produits dans les mêmes couleurs que les carreaux et vous pouvez toujours choisir la bonne teinte adaptée à un bâtiment particulier. Mais ces pièces de toit en plastique ne sont installées que pour les conduits de ventilation, car elles ne résisteront probablement pas aux températures élevées qui accompagnent la fumée émanant de tout poêle.
Dispositif à 4 nœuds
Au bas du tuyau, à l'aide d'une bride, un canal de sortie est fixé, et en haut se trouve un déflecteur ou un parapluie de protection conventionnel. Vous pouvez également envisager l'option avec un appareil de chauffage, dans le rôle duquel la laine minérale est utilisée.
Le marché moderne propose des types de systèmes de ventilation de toiture plus avancés qui correspondent à un nouveau niveau de qualité. Dans le même temps, en termes de caractéristiques de conception et de principe de fonctionnement, ils ne diffèrent pratiquement pas des solutions traditionnelles, mais ils présentent de nombreux avantages.
Les housses du fabricant "Vlipe Vent" sont particulièrement demandées. La liste des avantages de ces produits comprend les éléments suivants:
- 1. Fabrication de haute qualité. Les modèles de tuyaux disponibles sur le marché sont fabriqués à partir de matériaux de haute qualité. Si le tuyau intérieur est fait du meilleur acier galvanisé, le tuyau extérieur est fait de polypropylène léger et fiable.
- 2. Fixation fiable. Pour fixer l'élément, un élément de passage spécial de la forme correspondante est utilisé.
- 3. La hauteur du tuyau est comprise entre 400 mm et 700 mm.
- 4. Un joint est situé au bas du tuyau, ce qui permet de l'insérer dans le conduit d'air jusqu'à une profondeur de 300 millimètres.
- 5. Le diamètre intérieur des tuyaux est de 110-250 mm.
- 6. Le tuyau de sortie de ventilation est équipé d'un isolant thermique spécial, qui empêche la formation éventuelle d'un bouchon de glace pendant la saison froide.De plus, une bonne isolation thermique évite la condensation.
- 7. Un ventilateur électrique peut être installé sur les sorties de ventilation, ce qui créera une ventilation forcée.
- 8. Une cagoule avec déflecteur est la meilleure protection contre la pluie. De plus, il améliore la traction.
Dans certaines circonstances, lorsqu'une traversée n'est pas incluse et est achetée en option, le type et le profil de la toiture doivent être soigneusement évalués pour déterminer l'unité optimale. Un élément traversant de qualité sera la meilleure solution pour assurer la polyvalence de la structure sur tout type de toiture. Ces produits garantissent une stabilité et une étanchéité maximales de la sortie de ventilation.
Installation de nœuds de passage de ventilation à travers le toit
Un assemblage de conduit de toit correctement installé doit répondre aux exigences suivantes :
Étanchéité. La bride de raccordement doit être soigneusement scellée pour exclure la possibilité de fuite d'eau dans le grenier.
Aucune obstruction au ruissellement de la pluie ou de l'humidité de fonte
Ceci est particulièrement important au printemps-automne, lorsque l'eau restant dans les fissures de la surface gèle la nuit et les dilate, violant l'étanchéité du passage et l'intégrité du revêtement.
L'isolation thermique de l'ensemble de passage élimine l'apparition de condensat qui détruit les chevrons, la toiture et les autres éléments du système.
La partie supérieure du conduit est protégée par un déflecteur qui empêche l'entrée d'eau de pluie ou d'oiseaux. Ceci s'applique à tous les types de conduits d'air, à l'exception des conduites d'égout.

La partie supérieure du conduit est protégée par un déflecteur
La plupart des nœuds de passage ont des formes similaires, mais il existe également des options originales.

Certains types d'UE ont un déflecteur prêt à l'emploi sous la forme d'un large capuchon de protection
La technologie d'installation de l'UE dépend de son type, du type de toiture, de la pente du toit et d'autres facteurs. L'une des options les plus simples consiste à installer une pénétration élastique.

La procédure est visible sur la photo.
Toutes les actions consistent à faire un trou du diamètre approprié afin que le conduit d'air s'enroule étroitement autour de lui et ne laisse pas entrer l'humidité. Ensuite, les bords sont pressés avec une rondelle de montage, qui est sertie selon la forme du relief de la toiture.

Le matériau de pénétration lui-même sert de joint, ce qui est pratique et élimine le besoin d'éléments supplémentaires.
La procédure d'installation générale comprend les mêmes étapes :
- Marquage sur le toit. Le diamètre (taille) du trou doit être supérieur de 2 à 3 cm à la taille du conduit. Le plus simple est de prendre un petit morceau de tuyau ou de faire un gabarit qui répète exactement sa forme. Il est appliqué à la surface du revêtement et délimité avec une petite marge.
- Le trou est découpé d'une manière appropriée au type de matériau de couverture. Par exemple, si vous devez installer une unité de passage de ventilation à travers un toit en tôle ondulée, vous ne pouvez pas utiliser de broyeur. À l'aide d'une perceuse électrique, une série de trous sont percés le long du contour, qui sont ensuite connectés avec une scie à métaux ou des ciseaux. Il est impossible de travailler comme broyeur à cause des étincelles qui brûlent les moindres dépressions du revêtement. Ils ne sont pas visibles à l'œil nu, mais deviennent très vite une source de corrosion.
- Les couches de vapeur et d'imperméabilisation et d'isolation sont soigneusement découpées, en essayant de ne pas perturber leur configuration ou de détruire l'intégrité de la toile.Par la suite, ils sont fixés avec du ruban de construction au conduit d'air afin que l'étanchéité de chaque toile soit préservée.
Vous pouvez voir la procédure plus en détail dans la vidéo :
Conclusion - brièvement sur l'essentiel
Le passage de la ventilation à travers le toit est un lieu de risque accru de fuite et de fuite.
Pour simplifier le travail du couvreur, des ensembles spéciaux de passage de ventilation sont vendus.
Lors de l'utilisation de nœuds de passage, l'installation de la ventilation est grandement simplifiée, mais dans tous les cas, il est préférable de laisser un spécialiste qualifié le faire.
Caractéristiques d'installation d'une conception typique
Les unités de pénétration pour les communications de ventilation de la production industrielle sont réalisées conformément aux exigences de GOST-15150. On pense que la température de l'air à l'intérieur du tuyau de communication ne doit pas dépasser 80 degrés et que l'humidité du flux doit être inférieure à 60%.
L'endroit où le tuyau de ventilation traverse le toit a généralement une configuration carrée, cela doit être pris en compte lors du choix de la forme du conduit et du type de nœud de transition
Pour calculer le nœud de passage, il convient de prendre en compte des indicateurs tels que l'angle de la pente de la pente et la distance entre l'élément et le faîte du toit.
Un nœud de transition typique peut être réalisé dans les variantes suivantes :
- avec ou sans anneau de condensat ;
- avec vanne isolée ou conventionnelle ou sans vanne ;
- avec commande manuelle ou mécanique de la vanne ;
- avec ou sans protection contre les étincelles, etc.
Les options répertoriées peuvent varier en fonction de la situation. Par exemple, il n'est pas nécessaire d'installer une vanne mécanique si le système est stable et ne nécessite pas de réglage constant.Il est également possible de fabriquer une unité de pénétration sur commande.
Les unités typiques de pénétration à travers le toit, fabriquées dans des entreprises industrielles, sont très diverses, elles sont sélectionnées en fonction de la taille du tuyau et des caractéristiques du toit
Les structures de ce type sont en polymères, en acier inoxydable de 0,5 à 0,8 mm d'épaisseur et en acier noir de 1,5 à 2 mm d'épaisseur. La section transversale du nœud de transition fini peut être ronde, ovale, carrée ou rectangulaire. Un modèle spécifique est choisi en fonction du type de matériau de toiture et des paramètres du tuyau de ventilation.
Bien que les ensembles de passage fabriqués à l'étranger soient généralement de haute qualité, ils ne sont pas toujours adaptés aux conditions climatiques locales, il n'est donc pas inutile d'étudier attentivement les offres des fabricants nationaux.
Ils sont généralement étiquetés comme suit :
- les lettres UE avec un index de 1 à 10 indiquent une conception sans anneau de condenseur et sans vanne ;
- les indices de 2 à 10 indiquent des appareils à vanne manuelle, la bague est manquante ;
- la désignation de l'UPZ est attribuée aux appareils dotés d'une plate-forme spéciale pour l'actionneur de la vanne, prévue par la conception.
L'ensemble complet de modèles prêts à l'emploi de nœuds de transition comprend des boulons et des écrous intégrés qui sont fixés à des structures en bois, des coupelles en béton armé destinées à l'installation. La laine minérale est utilisée avec succès pour l'isolation thermique, qu'il est recommandé de protéger avec une couche de fibre de verre.
S'il est nécessaire d'installer une unité de ventilation avec une soupape de sécurité, vous devez faire attention au tuyau de dérivation qui lui est destiné. Une vanne doit être fixée à la bride inférieure de cet élément.
La bride supérieure est conçue pour fixer la position du conduit d'air.Les pinces et les supports sont utilisés comme attaches pour les accolades.
Pour protéger davantage la cheminée de ventilation de l'humidité, vous devez utiliser une jupe. Le collecteur de condensat est soudé au tuyau de dérivation.
Il est conçu pour éliminer l'humidité des masses d'air qui se déplacent dans le conduit de ventilation. Pour contrôler la vanne, un ensemble mécanique est utilisé, qui doit être installé sur l'étagère qui lui est destinée.
Cet élément ne doit pas être installé à côté de l'anneau de collecte des condensats afin de maintenir l'intégrité de tous les éléments de pénétration. Les modèles de nœuds typiques sont généralement montés avant le début des travaux de toiture : d'abord, les conduits du système de ventilation sont montés, puis le passage, et le toit est ensuite placé.
Il est recommandé qu'à la fin des travaux, tous les joints soient scellés, y compris la jonction des éléments d'assemblage à la couverture.
Pour cela, vous devez :
- nettoyer les surfaces du tuyau et du toit de la contamination;
- sceller la partie inférieure du conduit et la partie adjacente du toit avec du papier d'aluminium ;
- remplir les trous avec du mastic.
Ces mesures aideront à protéger la pénétration de l'humidité et à créer une isolation thermique supplémentaire de la structure.
L'article que nous recommandons vous familiarisera avec les règles d'installation du système de ventilation lui-même, dans lequel les nuances de conception et d'organisation sont analysées en détail.
Les subtilités de l'installation d'un réseau de ventilation
Le schéma de pose des réseaux de ventilation doit contenir un minimum de connexions. Les conduits d'air sont fermés par deux méthodes : à bride et sans bride.
Connexion à bride. Les pièces avec des brides situées sur les bords sont fixées avec des vis autotaraudeuses ou des rivets, situés à une distance de 20 cm les uns des autres.Pour une plus grande résistance des coutures, elles peuvent également être brassées.
Pour que les joints soient étanches, il est recommandé de sceller les brides avec des joints en caoutchouc.
Schéma d'assemblage d'un conduit d'air à partir de plusieurs éléments en utilisant la méthode de la bride. Les éléments qui serviront à fixer la structure à la surface d'appui sont également indiqués (+)
La méthode sans bride consiste à relier les pièces à l'aide d'un bandage constitué de rails métalliques. Cette méthode est considérée comme plus économique, car elle vous permet d'assembler rapidement la structure avec une utilisation minimale de composants supplémentaires.
A quoi faire attention ?
L'assemblage du conduit à partir de pièces rigides doit être effectué dans l'ordre suivant :
- Avant d'effectuer des travaux, le système doit être divisé en plusieurs blocs. La longueur de chacun d'eux ne doit pas dépasser 15 mètres.
- Sur tous les détails du site - les conduits d'air, les raccords, les points de connexion sont marqués.
- Des trous du diamètre requis sont percés à ces points.
- Des attaches boulonnées leur sont attachées. Les joints sont traités avec du ruban adhésif spécial ou un composé d'étanchéité.
- Ensuite, une installation complète des composants de connexion et des conduits d'air est effectuée dans une seule unité, qui est fixée avec des pinces et d'autres détails.
- Le bloc assemblé est soulevé et suspendu à un support ou à un autre accessoire.
- L'élément est relié à la section de ventilation précédemment complétée, tandis que les joints sont scellés le long du diamètre.
L'installation d'un système d'éléments flexibles ou semi-rigides est un peu plus facile, car dans ce cas, il est plus facile d'effectuer des virages et des virages
Il est important de ne pas oublier de surveiller l'étanchéité soigneuse des coutures
La distance entre les fixations du conduit d'air est de 1,8 mètre lorsque le système est placé verticalement et de 1 mètre lorsqu'il est placé horizontalement. Le taux d'affaissement admissible d'un élément flexible est de 5 cm par mètre
Lors de l'assemblage d'un système à partir d'éléments semi-rigides flexibles, il est nécessaire de prêter attention aux détails suivants :
avant la pose, un élément entièrement flexible doit être étiré;
lors de l'étirement du manchon ondulé, il est important de respecter le sens du mouvement de l'air indiqué sur l'emballage du tuyau ;
lors de la mise en place d'un conduit d'air, il est nécessaire d'éviter sa proximité avec des systèmes de chauffage;
le rayon de courbure doit correspondre ou dépasser le double du diamètre du conduit ;
la fixation des sections est réalisée à l'aide de pinces en plastique, de ruban adhésif, de suspensions, de pinces. Tous les joints doivent être soigneusement scellés;
lors de la pose du système à travers un mur, vous devez utiliser des adaptateurs spéciaux - manchons.L'installation des conduits d'air peut être effectuée avec et sans isolation
L'isolation thermique empêche la condensation dans les conduits d'alimentation, il est donc recommandé de l'effectuer lors de la pose d'éléments de ventilation dans des pièces non chauffées ou à l'extérieur des bâtiments
L'installation des conduits d'air peut être réalisée avec ou sans isolation. L'isolation thermique empêche la condensation dans les conduits d'alimentation, il est donc recommandé de l'effectuer lors de la pose d'éléments de ventilation dans des pièces non chauffées ou à l'extérieur des bâtiments.
Si le conduit d'air est installé dans un salon où il est souhaitable d'observer un niveau de bruit réduit - un bureau, une chambre, une crèche, vous devez penser à l'isolation phonique.Un bon effet est l'utilisation de conduits d'air avec une grande épaisseur de paroi, ainsi que l'enveloppement d'éléments structurels avec des matériaux insonorisants.
Comment contourner le tuyau?
La couture de tuyaux est un moyen de couvrir la jonction et, dans certains cas, le conduit lui-même.
Ceci est fait pour les raisons suivantes :
- l'apparence du toit;
- malgré le respect des exigences relatives à la hauteur du tuyau, il n'y a pas de tirage;
- il n'y a aucune certitude quant à la qualité du matériau à partir duquel le puits de ventilation est fabriqué, on craint qu'il ne s'effondre sous l'influence des précipitations.
Divers matériaux sont utilisés pour contourner le tuyau de ventilation. Ils varient en coût ainsi que dans leurs caractéristiques.
Le type spécifique de tuyau de ventilation est sélectionné non seulement en tenant compte de ses caractéristiques, mais également en tenant compte du matériau dont le toit est recouvert.
Le plus populaire est le matériau galvanisé, qui est recouvert d'un polymère. C'est le moyen le moins cher de contourner le tuyau, il est durable et a un aspect présentable. Étant donné que le tuyau de ventilation n'est pas considéré comme inflammable, un revêtement peut être utilisé pour le gainer.
Dans certains cas, il devient nécessaire de contourner le tuyau de ventilation avec des tuiles souples, ce qui n'est raisonnable que si tout le toit est fait d'un tel matériau.
Les règles de pose des dalles souples ne diffèrent pas lors du contournement du tuyau de ventilation. Dans le même temps, il convient de s'assurer que les joints des tuiles ne permettent pas à l'eau de passer au joint du conduit d'air et n'interfèrent pas non plus avec la libre descente des précipitations du toit.
Caractéristiques générales des unités de ventilation de toiture
Lors de l'installation de diverses communications techniques, les tuyaux de ventilation sont traditionnellement installés sur le toit.Cette approche a des caractéristiques spécifiques et nécessite un respect scrupuleux de la technologie d'installation.
Les unités de ventilation du passage ont dans de nombreux cas une conception similaire pour différents modèles. Ils sont utilisés pour le processus forcé et naturel d'évacuation de l'air vicié, du condensat et des fumées à l'extérieur du bâtiment.
Tous les types de pénétrations de toit doivent être impeccablement réalisés et scellés afin que la poussière et l'eau atmosphériques ne pénètrent pas dans les pièces résidentielles et utilitaires. Selon les schémas des passages de toit, non seulement les tuyaux de ventilation sont équipés, mais également les aérateurs, les cheminées, les antennes et les trappes de toit
Le tuyau de ventilation de l'unité de toit est positionné de manière à ce que l'air d'échappement puisse s'échapper sans entrave.
Pour les toits en pente, une solution pratique consisterait à installer un tuyau de ventilation à côté du faîtage. Cette conception ne nécessite pas de renforcement supplémentaire et l'installation d'un système de déneigement.

Avec l'emplacement proche des tuyaux d'échappement par rapport à la crête de la crête, la moindre pression du vent est exercée sur le système. Cependant, pour la formation d'un tirage normal, le tuyau de ventilation (gaine) doit être au moins 0,5 m plus haut que le faîtage.Cette exigence ne s'applique pas aux aérateurs et aux ventilateurs de toit qui résolvent le problème de drainage du gâteau de toit
La fabrication des systèmes de passage est conforme à GOST 15150, à savoir :
- L'épaisseur du matériau dépasse 1,9 mm.
- Le diamètre du cercle est de 10 à 12,7 cm.Pour les nœuds à section carrée, les dimensions peuvent varier.
- Traité avec des composés anti-corrosion.
- La taille de l'anneau de support dépasse nécessairement le diamètre des buses.
- La longueur de la structure doit être au maximum de 1 m.
Le nœud lui-même peut être placé sur un verre en béton armé ou directement sur la section du toit.

Le consommateur se voit désormais proposer une large gamme d'appareils universels et spécialisés pour la conception hermétique et opérationnelle des passages de toit, tant pour le système de ventilation interne que pour le séchage des couches de toit.
Les dimensions et la forme de la sortie sont affectées par le type de revêtement, son épaisseur et les caractéristiques particulières du matériau, ainsi que les caractéristiques de l'ensemble du système de ventilation. Son choix dépend des conditions créées à l'intérieur du bâtiment : le degré d'humidité ; pièces poussiéreuses; gazéification, etc.
Description et objectif des nœuds de passage
Sous le nœud du passage de la ventilation à travers le toit (un autre nom est assez courant - la pénétration du toit) est compris comme un dispositif qui traverse la toiture et est conçu pour éliminer l'air pollué. Étant donné que l'installation de l'ensemble de passage viole l'intégrité de la couverture du toit, l'installation doit être abordée avec un soin et une précision particuliers. Sinon, des violations peuvent survenir à la fois dans le fonctionnement du système de ventilation et du toit. Ceci, bien sûr, peut conduire à leur défaillance rapide et à la réparation ou au remplacement coûteux d'éléments structurels individuels.
L'ensemble de passage de ventilation de toit peut également être utilisé pour amener d'autres systèmes d'un bâtiment ou d'une structure sur le toit, par exemple, des cheminées (s'il y a un foyer ou un poêle dans la maison) ou des conduits de gaz (s'il y a une chaudière à gaz ou autre équipement similaire). Dans le même temps, il faut tenir compte du fait que dans le cas des pénétrations pour cheminées, elles doivent être équipées d'éléments supplémentaires résistants au feu (par exemple, un conduit). Cela est dû au fait que la température de l'air dans les fours peut atteindre 700 à 800 degrés, ce qui entraîne un fort échauffement du tuyau.
Les travaux d'installation des pénétrations de toit doivent être effectués conformément aux dispositions de GOST 15150, qui énonce clairement toutes les exigences de base pour la structure et son emplacement sur le toit.
La sortie de ventilation vers le toit est un tuyau de différents profils et tailles, qui est inséré dans un trou spécialement conçu à cet effet dans le sol ou le toit du bâtiment. Selon le type de toit, ainsi que le type de plafond, différents types de pénétrations de toit peuvent être utilisés.















































