- Conseils pour l'installation d'un système de chauffage domestique
- Systèmes de chauffage à deux tubes
- Avec câblage inférieur
- Avec câblage supérieur
- Schémas de chauffage de base
- Types de systèmes de chauffage pour une maison privée
- Chauffage de l'eau et systèmes
- Chauffage et circuits d'air
- Chauffage électrique
- Chauffage au poêle
- Comment organiser le chauffage de l'eau d'une maison privée de vos propres mains, schémas d'installation
- Caractéristiques de l'appareil d'un système monotube
- Comment fonctionne un système à deux tuyaux
- Les types de chauffe-eau les plus populaires
- Options de chauffage résidentiel
- Conceptions de chaudières
- Chaudières au fioul
- Chaudières à combustible solide
- Que devez-vous savoir pour installer le chauffage de l'eau dans la maison ?
- Systèmes monotube
- Options de câblage pour le système de chauffage de l'eau d'une maison privée
Conseils pour l'installation d'un système de chauffage domestique
Le dispositif de chauffage commence par l'installation de batteries dans des endroits pré-préparés sous les fenêtres ou sur les murs extérieurs d'angle. Les appareils sont suspendus à des crochets spéciaux fixés à la structure elle-même ou à la finition des plaques de plâtre. La sortie inférieure inutilisée du radiateur est fermée avec un bouchon, un robinet Mayevsky est vissé par le haut.
Le réseau de canalisations est monté selon la technologie d'assemblage de certains tuyaux en plastique. Pour vous éviter des erreurs, nous donnerons quelques recommandations générales :
- Lors de l'installation du polypropylène, tenez compte de l'allongement thermique des tuyaux.En tournant, le genou ne doit pas reposer contre le mur, sinon, après le démarrage du chauffage, la ligne se pliera comme un sabre.
- Il est préférable de poser le câblage de manière dégagée (hors circuits collecteurs). Essayez de ne pas cacher les joints derrière le revêtement ou de les encastrer dans la chape, utilisez les "clips" d'usine pour fixer les tuyaux.
- Les conduites et raccordements à l'intérieur de la chape en ciment doivent être protégés par une couche d'isolation thermique.
- Si pour une raison quelconque une boucle vers le haut s'est formée sur la tuyauterie, installez un évent automatique dessus.
- Il est souhaitable de monter des sections horizontales avec une légère pente (1-2 mm par mètre linéaire) pour une meilleure vidange et élimination des bulles d'air. Les schémas gravitaires offrent des pentes de 3 à 10 mm par mètre.
- Placer le vase d'expansion à membrane sur la conduite de retour à proximité de la chaudière. Prévoir une vanne pour couper le réservoir en cas de dysfonctionnement.
Systèmes de chauffage à deux tubes
Dans un système de chauffage à deux tuyaux, les batteries ne sont plus connectées à une ligne commune, mais à deux - alimentation et retour. Ainsi, la répartition de la chaleur dans tout le bâtiment est plus uniforme. L'eau arrive à chaque échangeur de chaleur à peu près également chauffée. Ce n'est pas pour rien qu'un tel schéma est généralement utilisé dans les immeubles de grande hauteur avec un grand nombre de pièces chauffées. Mais il est aussi souvent installé dans les chalets, surtout s'ils sont grands et comportent plusieurs étages.
Schéma à deux tuyaux chauffage pour maisons privées Il n'a qu'un seul inconvénient sérieux - le prix. Souvent, en comparaison avec un homologue monotube, son coût élevé est mentionné. Cependant, les tuyaux dans ce cas nécessitent un diamètre plus petit. Leur longueur double ici.Dans le même temps, en raison de la réduction de la section efficace, l'estimation finale n'est pas aussi surestimée qu'il n'y paraît à première vue.
Ceci, en analysant les types de fondations, nous pouvons immédiatement dire sans équivoque que le monolithe sortira plus cher que la fondation en bande. Avec l'agencement du chauffage des maisons privées, tout n'est pas si simple et facile. Lors de son installation, des tuyaux de différents diamètres, divers raccords et thermostats sont utilisés. Le coût total de chaque variété doit être calculé individuellement pour la structure réelle et pour les paramètres spécifiques du régime de température requis.
Avec câblage inférieur
Avec le schéma inférieur, les deux tuyaux sont posés au-dessus ou dans le sol. Et quelques robinets sont connectés aux batteries par le bas. Une telle connexion est souvent utilisée pour cacher les canalisations de chauffage derrière la finition. Il s'agit plus d'une décision de conception, cela ne donne aucun avantage particulier en termes de transfert de chaleur.

Bitube avec câblage inférieur
Au contraire, la méthode inférieure de connexion des radiateurs implique la perte de chaleur la plus élevée. Il n'est généralement pas recommandé pour une utilisation dans des systèmes de chauffage à circulation naturelle (gravitationnelle). Si ce câblage est choisi, vous devrez alors veiller à la disponibilité d'équipements spéciaux pour pomper le liquide de refroidissement et choisir une batterie plus puissante. Une chaudière sans pompe de circulation ne peut à elle seule assurer l'apport de chaleur autour de la maison.
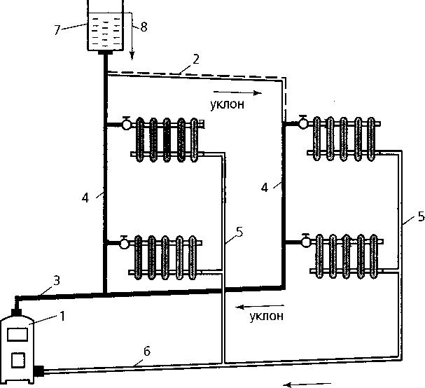
Avec câblage supérieur
Au niveau de la distribution de chauffage supérieure, le raccordement des radiateurs aux tuyaux peut être diagonal ou latéral
Ce n'est pas le plus important ici. La principale caractéristique de ce type de chauffe-eau est la présence d'un vase d'expansion

Bitube avec câblage supérieur
Le vase d'expansion est placé dans le grenier.L'eau chauffée dans la chaudière entre en fait en premier dans cet accumulateur. Le liquide de refroidissement s'écoule dans le tuyau d'alimentation de manière naturelle de haut en bas. Et puis l'eau après transfert de chaleur dans le radiateur est renvoyée vers le radiateur.
Schémas de chauffage de base
Les systèmes de chauffage, où la circulation forcée du liquide de refroidissement est assurée, peuvent être organisés selon une variété de schémas. Vous trouverez ci-dessous les plus courants. Vous devriez commencer par des systèmes de chauffage de l'eau monotube:
Figure 2 : Système horizontal monotube avec sections d'extrémité.
Écoulement (Fig. 1). Pour les petites maisons, un système de chauffage de l'eau à circulation horizontale monotube est parfait. Il prévoit le schéma de fonctionnement suivant: le liquide de refroidissement pénètre dans la colonne montante principale, puis est réparti entre toutes les colonnes montantes horizontales et commence à circuler séquentiellement à travers les batteries, en se refroidissant, il revient immédiatement le long de la conduite de retour.
Avec profilés de fermeture (Fig. 2). Il existe un autre système monotube horizontal, qui prévoit la création de sections qui sont ensuite fermées. Au cours de son organisation, une vanne destinée à évacuer l'air est nécessairement montée sur chaque radiateur. Pour réguler la température des éléments chauffants, des vannes d'arrêt sont fournies, qui sont installées au début du système de chauffage à circulation forcée à chaque étage d'une maison de campagne.
Tuyau unique (Fig. 3). Le système de chauffage de l'eau, qui prévoit l'organisation de la circulation forcée, peut être vertical.Dans ce cas, le liquide de refroidissement pénètre immédiatement dans l'étage supérieur de la maison, puis il pénètre dans les radiateurs installés par les contremarches, puis le liquide pénètre dans les éléments chauffants situés à l'étage précédent, et ainsi de suite, jusqu'à ce qu'il tombe tout en bas. . Un tel système de chauffage de l'eau peut être organisé à la fois selon le schéma d'écoulement et selon celui où il y a des sections de fermeture.
Dans le même temps, il est important de considérer qu'il présente un inconvénient majeur: le chauffage des batteries de la maison sur les sols se produit de manière inégale.
Figure 3 : Système de chauffage vertical monotube.
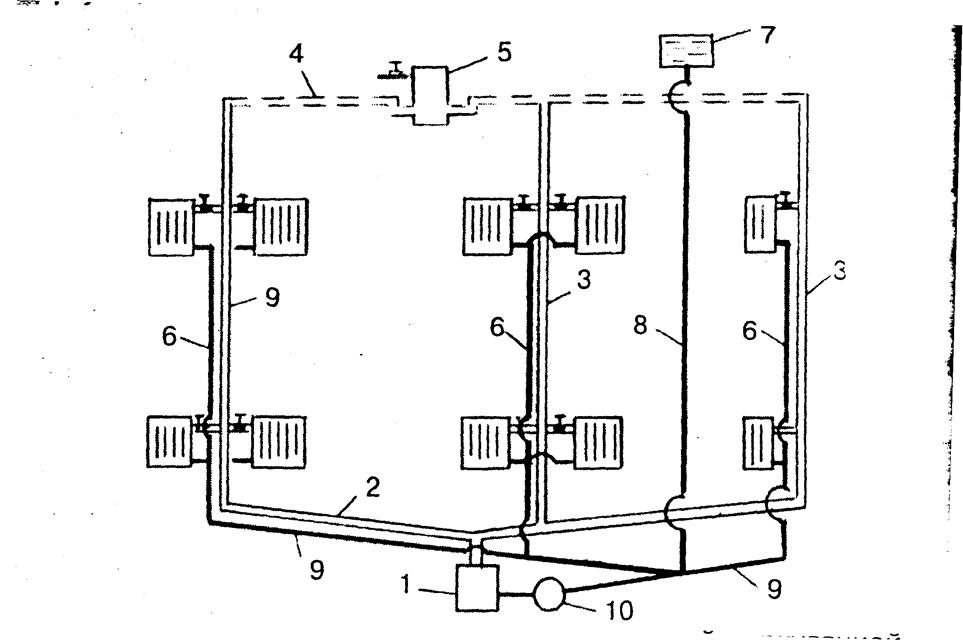
Il existe également des systèmes de chauffage à eau à deux tuyaux, qui permettent une circulation forcée du liquide de refroidissement (Fig. 4). Ils peuvent être organisés de 3 manières :
- Impasse. Ici, chaque élément suivant du système de chauffage dans le sens de déplacement du liquide de refroidissement est situé à la distance la plus éloignée de l'élément chauffant. Un tel schéma entraîne une augmentation du circuit de circulation, ce qui rend difficile le contrôle du fonctionnement des équipements de chauffage. Cependant, ce système prévoit une courte longueur de canalisation, ce qui minimise les coûts associés à l'organisation du chauffage de la maison.
- Qui passe. Il y a une égalité des circuits de circulation. Ce facteur facilite le réglage du fonctionnement du système de chauffage, où une circulation forcée est prévue. Cependant, ici, la longueur du pipeline, par rapport au schéma sans issue, augmente considérablement, ce qui entraîne des coûts supplémentaires lors de l'installation du chauffage.
- Collectionneur. Il prévoit le raccordement au système de chauffage de chaque élément chauffant individuellement.De ce fait, le liquide de refroidissement pénètre dans les radiateurs à la même température. Cependant, cela implique également une consommation importante de tuyaux lors de l'installation du système.
Figure 4 : système horizontal à deux tubes.
De plus, il existe un autre schéma pour l'organisation verticale du chauffage forcé (Fig. 5). Cela implique la présence d'un câblage inférieur. Ici, le liquide de refroidissement pénètre dans la chaudière à l'aide d'une pompe, puis il pénètre dans la canalisation et est distribué dans tout le système, puis passe dans les éléments chauffants, cédant sa chaleur, le liquide revient par la canalisation de retour à travers la pompe et vase d'expansion à l'élément chauffant. Un système de chauffage vertical peut également être organisé avec un câblage supérieur (Fig. 6). Cela implique l'emplacement des canalisations principales au-dessus des éléments chauffants (dans le grenier ou sous le plafond de l'étage supérieur). L'eau qui circule à l'aide d'une pompe entre dans la chaudière, puis elle est distribuée par les colonnes montantes aux éléments chauffants, le liquide, ayant cédé sa chaleur, va dans la conduite de retour, qui est située au sous-sol ou sous le plancher de l'étage inférieur.
Types de systèmes de chauffage pour une maison privée
Lorsqu'il s'agit de chauffage domestique, de nombreux facteurs doivent être pris en compte. Les systèmes diffèrent selon le type de support, source de chaleur. Le choix de l'une ou l'autre conception dépend du matériau de fabrication du bâtiment, de la fréquence de résidence, de l'éloignement des autoroutes centralisées, de la facilité de livraison du carburant et de la facilité de fonctionnement de l'équipement.
Par exemple, si une conduite de gaz est posée à proximité, une chaudière à gaz sera le meilleur moyen, et s'il y a des problèmes avec le passage des véhicules, vous devrez alors choisir un système dans lequel le carburant peut être stocké en saison et en bonne quantité. Considérez toutes les options possibles pour obtenir de la chaleur plus en détail.
Chauffage de l'eau et systèmes
Représentant une structure dans laquelle un liquide chauffé agit comme un liquide de refroidissement, le chauffage de l'eau dans une maison privée est l'option la plus pratique. Lors de l'installation d'une source de chaleur correctement sélectionnée, telle qu'un poêle, le système devient indépendant de toute interruption de l'alimentation en électricité, en gaz.
Structurellement, le chauffage de l'eau est une chaudière à partir de laquelle sont posées des canalisations reliées à des radiateurs. Le liquide de refroidissement est transporté et réchauffe l'air de la pièce. Ce type comprend également un plancher chauffé à l'eau, dans lequel vous pouvez vous passer de radiateurs muraux. Avec un placement horizontal des tuyaux, la conception doit être complétée par une pompe de circulation pour faciliter le mouvement de l'eau.
Le schéma de chauffage peut être à un ou deux tuyaux - avec cet emplacement, l'eau est fournie en série, ce qui réduit l'efficacité. Schéma de capteur - une option avec le placement d'une source de chaleur et la connexion de chaque radiateur, qui assure un chauffage efficace des pièces. Exemples de schémas.
Les avantages des systèmes à eau incluent la possibilité de faire fonctionner l'appareil sur n'importe quel type de carburant et la formation d'un système par gravité, la facilité d'installation et la possibilité de faire tout le travail vous-même. De plus, le liquide de refroidissement est incroyablement bon marché, disponible même pour les maisons privées situées loin des réseaux d'ingénierie.
Chauffage et circuits d'air
Dans ces conceptions, le liquide de refroidissement est de l'air chauffé. Il existe des options suspendues et au sol, dont dépend l'emplacement des conduits d'air.
Le système est classé en fonction de la zone d'installation de l'équipement, du type de circulation d'air, de l'échange de chaleur et de l'échelle. Pour le chauffage de l'air, des conduits d'air avec un grand diamètre de tuyau sont nécessaires, ce qui n'est pas toujours avantageux pour une maison privée. Pour assurer un transfert de chaleur de haute qualité, il sera nécessaire d'installer un dispositif de ventilation forcée, ce qui signifie que les coûts augmenteront.
Schéma d'aménagement.

Chauffage électrique
Il est considéré comme le type de production de chaleur optimal mais coûteux dans une maison privée, il dépend entièrement de la disponibilité d'un réseau et de l'alimentation ininterrompue en courant électrique. Les avantages incluent de nombreuses options d'emplacement, par exemple, vous pouvez équiper le chauffage au sol ou tracer un contour le long du plafond, en tenant compte du revêtement de finition de l'avion. Il est également possible d'installer des radiateurs électriques mobiles qui se déploient facilement dans le système et qui ont la capacité de chauffer uniquement une zone locale.
Les avantages sont la régulation de l'apport de chaleur, l'efficacité du chauffage de la pièce. Des chaudières électriques de haute qualité peuvent être connectées et déconnectées, l'intensité de l'apport de chaleur peut être modifiée en fonction des exigences du propriétaire.

Chauffage au poêle
Une option de chauffage éprouvée dans laquelle la source de chaleur est un poêle. Il peut être complété par une plaque de cuisson, un circuit de chauffe-eau raccordé. Pour la production d'énergie, des combustibles solides sont utilisés - bois de chauffage, charbon, granulés de déchets recyclés. La principale exigence pour l'agencement du four est la présence d'une cheminée.
Les avantages incluent :
- autonomie;
- la possibilité de choisir un vecteur énergétique ;
- faible coût d'entretien et de service.
Les inconvénients sont la nécessité d'une intervention humaine, il faudra déposer de nouvelles portions de combustible, nettoyer les cendres. L'appel obligatoire à un spécialiste est également un inconvénient - seul un professionnel disposera correctement un four à briques russe. La massivité de la structure doit être prise en compte, un sol solide est nécessaire pour le four. Mais si l'équipement est une sorte de "poêle à ventre", un maître de maison y fera face s'il a de l'expérience dans la construction d'une structure.

Pour réduire la participation humaine au processus de chauffage, les experts conseillent de choisir des chaudières à combustion longue. Ils vous permettent de déposer de grandes quantités de combustible, offrent une longue durée de combustion, ce qui signifie que la chaleur dans la maison durera beaucoup plus longtemps.
Comment organiser le chauffage de l'eau d'une maison privée de vos propres mains, schémas d'installation
Afin de chauffer l'eau d'une maison privée de vos propres mains, vous devez étudier en détail les schémas d'installation. Cependant, tout d'abord, vous devez vous approvisionner en tous les matériaux et équipements nécessaires, dont le besoin est calculé à l'avance en fonction du type de connexion de la batterie.
Les chaudières à gaz modernes sont une bonne solution pour un système de chauffage fiable
Conseils utiles Achetez des chaudières, des batteries et d'autres équipements uniquement auprès de fabricants de confiance. Les analogues bon marché ne répondent pas toujours aux exigences et peuvent être dangereux.
Caractéristiques de l'appareil d'un système monotube
Le moyen le plus simple de connecter des radiateurs à la chaudière consiste à installer un système de chauffage monotube. Le schéma de cette conception suppose la présence d'un seul tuyau posé sur tout le périmètre de la maison. Il sort du tuyau d'alimentation de la chaudière et entre dans le tuyau de retour.Des branchements sortent de ce tuyau près de chaque radiateur, auquel il est relié par des vannes d'arrêt ou directement.
Le principe d'un système de chauffage monotube avec recirculation naturelle de l'eau
Un tel appareil est non seulement le plus simple, mais aussi le moins cher, tant en termes de matériaux que d'installation. L'utilisation d'un seul tuyau élimine le besoin de faire de nombreux coudes et beaucoup moins de petites choses sont consommées. Ce n'est un secret pour personne que ces raccords coûtent une part importante du coût de l'ensemble du chauffage domestique. L'utilisation d'un système de chauffage monotube, dont le schéma est simple, est justifiée dans les petites maisons avec une disposition simple des pièces, car l'eau traverse tout l'anneau et a le temps de se refroidir de manière significative. À cet égard, les derniers radiateurs sur son chemin chauffent beaucoup moins que les premiers. Par conséquent, si le bâtiment est grand, à la fin de son parcours, le liquide de refroidissement perdra toute son énergie et ne pourra pas chauffer les dernières pièces. Cela est particulièrement vrai du type naturel de circulation de l'eau.
Chaufferie d'une maison privée avec équipement de chauffage moderne
Lors de la construction d'un système de chauffage monotube, le schéma de conception doit supposer une légère pente, de l'ordre de 3 à 5 degrés. Cela garantira un fonctionnement plus efficace de l'ensemble de la structure. De plus, tous les radiateurs doivent être équipés de vannes d'air, qui sont nécessaires pour maintenir une pression stable dans le système en purgeant l'air. Ces robinets ont de petits trous et se dévissent avec un tournevis ordinaire.
Schéma de raccordement des radiateurs à un système de chauffage à deux tuyaux
Conseils utiles Lorsqu'il devient nécessaire de nettoyer ou de remplacer la batterie, vous ne pouvez pas vider l'eau et arrêter l'ensemble du système, pour cela, vous devez utiliser des robinets Mayevsky. Ils relient le radiateur aux sorties de tuyaux. Si la batterie doit être retirée, les robinets peuvent simplement être fermés.
Comment fonctionne un système à deux tuyaux
Contrairement au précédent, un système de chauffage à deux tuyaux, dont le schéma suppose la présence de deux tuyaux: alimentation et retour, est de conception plus complexe. Il est conçu de manière à ce que le tuyau d'alimentation entre directement dans chaque batterie. et l'inverse en ressort. Ceci est également appelé un dispositif parallèle, car tous les radiateurs sont connectés à la chaudière avec des tuyaux non pas dans l'ordre, mais en parallèle.
Un système de chauffage à deux tuyaux, dont le schéma est plus complexe, nécessite plus de tuyaux et de raccords. Par conséquent, cela coûte un peu plus cher. En même temps, il est plus efficace, puisque toutes les batteries chauffent de la même manière, quel que soit leur emplacement, près de la chaudière ou dans la pièce la plus éloignée. Un tel câblage est le plus souvent utilisé dans les maisons et les chalets à deux étages.
Schémas de raccordement pour un système de chauffage à deux tuyaux dans un chalet à deux étages
Un avantage important d'un tel dispositif est que chaque batterie fonctionne presque indépendamment des autres, car elle possède son propre circuit. Par conséquent, il peut être facilement remplacé ou réparé sans affecter le reste de la structure. En raison du fait que le système de chauffage à deux tuyaux a un schéma de connexion de radiateur parallèle, il est très facile de réguler la température et la pression à l'intérieur de ceux-ci, ce qui permettra d'économiser davantage de ressources en carburant.
Conseils utiles En cas d'utilisation d'un système de chauffage à deux tubes, il est conseillé d'utiliser une pompe de circulation.Cela augmentera considérablement l'efficacité et le taux de chauffage des batteries.
Schéma d'un système de chauffage ouvert avec une pompe de circulation
Les types de chauffe-eau les plus populaires
Le plus souvent, lors de l'auto-installation d'un système de chauffage, les propriétaires sont guidés par les principes d'économie. Et ici, il ne peut y avoir de solutions universelles. Dans chaque cas, vous pouvez trouver l'option la plus rentable et pratiquement faisable. Mais il y a un petit "secret" qui peut être utile à tout le monde. Envisagez d'utiliser différentes sources de chaleur dans votre maison. Les combiner en fonction de la période de l'année ou du mode de fonctionnement requis permettra d'économiser des fonds importants. Ainsi, par exemple, le chauffage à eau électrique, même installé de vos propres mains, n'est pas l'option la moins chère. Cependant, si vous avez besoin de chauffer des pièces très rapidement ou si vous souhaitez automatiser le processus pendant votre absence, il n'y a pas de meilleur moyen. N'oubliez pas qu'il y a des avantages et des inconvénients à chaque système de chauffage. L'utilisation appropriée et rationnelle des propriétés spécifiques de chacun d'eux vous aidera à obtenir un effet maximal à un coût minimal.
Une vidéo sur l'installation du chauffage de l'eau de vos propres mains vous aidera à comprendre les subtilités de ce processus et répondra à de nombreuses questions.
Options de chauffage résidentiel
Le moyen le plus connu et le plus courant de chauffer votre propre maison ou appartement est de créer un système d'eau. Principe de fonctionnement: le liquide de refroidissement est chauffé par une chaudière ou une autre source, puis il est transféré par des tuyaux vers des appareils de chauffage - radiateurs, chauffage au sol (en abrégé TP) ou plinthes chauffantes.
Un échangeur de chaleur placé à l'intérieur du poêle chauffe l'eau envoyée par la pompe aux batteries
Nous énumérons maintenant les options de chauffage alternatives :
- Fourneau. Un poêle à ventre en métal est en cours d'installation ou un four à briques à part entière est en cours de construction. Si vous le souhaitez, un circuit d'eau est intégré dans le four ou les canaux de fumée du poêle (illustrés ci-dessus sur la photo).
- Purement électrique - convecteurs, radiateurs infrarouges et à huile, radiateurs soufflants en spirale. Une manière plus moderne est l'installation de planchers chauffants à l'aide de câbles résistifs ou d'un film polymère. Ce dernier est appelé infrarouge, carbone.
- Air. La source de chaleur réchauffe l'air extérieur filtré, qui est refoulé dans les pièces par un puissant ventilateur. Une option plus simple et moins chère consiste à installer des convecteurs à gaz dans des locaux résidentiels.
- Combiné - poêle à bois + radiateurs électriques de tout type.
Schéma de chauffage de la salle de bain avec chauffage au sol électrique
Pour passer à autre chose, vous devez décider quel type de chauffage est le meilleur - plus rentable, plus efficace, plus pratique. Nous vous recommandons vivement de choisir un système d'eau. Les raisons:
- pour chauffer l'eau, vous pouvez utiliser n'importe quel vecteur énergétique ou combiner plusieurs types de combustible en installant 2-3 chaudières;
- avec des exigences élevées en matière de design d'intérieur, la tuyauterie est montée de manière cachée, des plinthes chauffantes ou des circuits TP sont utilisés à la place des batteries;
- la possibilité d'organiser l'approvisionnement en eau chaude (ECS) - installer une chaudière à double circuit ou une chaudière à chauffage indirect (selon la quantité d'eau consommée);
- des sources d'énergie alternatives peuvent être connectées au système - capteurs solaires, pompe à chaleur ;
- si nécessaire, le chauffage dans une maison privée est rendu complètement autonome - les tuyaux sont posés selon un schéma gravitaire (gravitationnel), plus une chaudière est installée qui ne nécessite pas de raccordement au réseau;
- le système se prête bien au réglage, à l'automatisation et au contrôle à distance via la communication cellulaire ou Internet.
Le seul inconvénient des réseaux d'eau est le coût de l'installation, des équipements et des vannes. L'achat et le raccordement de radiateurs électriques coûteront moins cher, mais la restriction en termes de choix de combustible augmentera les coûts d'exploitation.
L'appareil dans une maison de campagne de chauffage à air à part entière coûtera encore plus cher que la construction d'un poêle. Il est nécessaire d'acheter une unité de ventilation avec un échangeur de chaleur, qui joue le rôle de ventilateur, de purificateur et de réchauffeur d'air. Ensuite, organisez l'alimentation et l'évacuation - pour conduire les conduits d'air dans toutes les pièces. L'expert parlera des pièges du chauffage de l'air dans la vidéo:
Conceptions de chaudières
Lors du choix d'un appareil de chauffage, il faut d'abord commencer par le type de vecteur énergétique
Lors de l'examen de ce problème, vous devez faire attention à son coût et à la possibilité de sa livraison.
Le deuxième facteur le plus important influençant le choix d'une chaudière est la puissance de l'équipement. Il est généralement admis que pour chauffer 10 m². surface de la pièce nécessaire 1 kW
surface de la pièce nécessaire 1 kW
la superficie de la pièce nécessite 1 kW.
Lors de la conception d'un système de chauffage de campagne, il est nécessaire de prendre en compte le lieu d'installation de l'équipement de la chaudière. Il est recommandé de le sortir à l'extérieur de la maison et de le placer dans l'annexe.Dans tous les cas, les conditions d'installation spécifiques déterminent l'emplacement de la chaudière.
Envisagez des options d'équipement de chauffage pour une résidence d'été.
Chaudières au fioul
Ces unités fonctionnent au diesel ou à l'huile usée. Cette dernière option est plus préférable, car le coût du carburant est considérablement réduit. Les équipements à combustible liquide ne sont pas tant attirés par leur efficacité que par la possibilité d'une automatisation complète de leur fonctionnement.
L'utilisation du carburant diesel n'offre pas la possibilité d'obtenir des économies de coûts. Le carburant à basse température devient plus visqueux, ce qui empêche un processus de combustion stable. Pour une telle chaudière, la construction d'une pièce séparée est nécessaire, car son fonctionnement s'accompagne d'un fort bruit.
Chaudière au fioul
Chaudières à combustible solide
Malgré le fait qu'il soit nécessaire de reconstituer constamment du bois de chauffage, le coût du combustible solide n'est pas comparable à celui du combustible liquide, et plus encore à celui de l'électricité et du gaz. Vous pouvez réaliser des économies en ramassant du bois mort dans la ceinture forestière la plus proche.
L'inconvénient de ce type de combustible est une combustion rapide, un signet suffit pour faire fonctionner la chaudière pendant six heures maximum. L'installation de chaudières à pyrolyse augmente la durée de fonctionnement de l'équipement sur un onglet, mais il est déconseillé de les utiliser pour donner une petite surface.
La température de combustion dans les chaudières à combustible solide ne peut pas être régulée. Il n'y a qu'une seule façon d'influencer le processus de combustion : changer l'alimentation en air avec un registre. De plus, afin de stocker une réserve de carburant, il est nécessaire d'organiser une pièce d'une certaine manière.
Que devez-vous savoir pour installer le chauffage de l'eau dans la maison ?

Les tuyaux du système de chauffage de l'eau sont montés avec une légère pente dans le sens du débit d'eau chaude
Tout d'abord, il convient de rappeler que le système repose sur un principe physique simple: l'eau chaude monte et l'eau froide, plus lourde, tombe. C'est-à-dire que la circulation est d'autant plus intense que la différence de température entre l'eau sortant de la chaudière dans le système et l'eau sortant du retour est importante. Une différence de température de 25 degrés est considérée comme un bon indicateur. Afin de renforcer ce contraste, les techniques suivantes sont utilisées :
- la chaudière est installée au point le plus bas du système, idéalement elle doit être placée à 2-3 m sous les appareils de chauffage (généralement un sous-sol ou un demi-sous-sol);
- la colonne montante à travers laquelle coule l'eau chaude est soigneusement isolée;
- la longueur des tuyaux, à laquelle le chauffage de l'eau à circulation naturelle est efficace - 20-30 m;
- lors de l'utilisation de la circulation naturelle dans le système de chauffage de l'eau d'une maison à un étage, le système de tuyauterie est posé légèrement en pente par rapport à la chaudière;
- le diamètre des tuyaux est choisi en fonction de la longueur totale de la canalisation : plus le système est long, plus le diamètre est grand ;
- le système de chauffage de l'eau d'une maison à deux étages doit installer une pompe de circulation, sinon il sera problématique de chauffer les locaux du deuxième étage.
Après avoir lu de la littérature spécialisée ou des conseils d'artisans expérimentés, vous pouvez commencer à concevoir.
Systèmes monotube

Dans les systèmes de chauffage monotube, le liquide de refroidissement traverse tous les radiateurs en série.
Pour créer le chauffage d'une maison privée de vos propres mains, le moyen le plus simple consiste à équiper un système de chauffage monotube. Il présente de nombreux avantages, tels que l'utilisation économique des matériaux.Ici, nous pouvons économiser beaucoup sur les tuyaux et obtenir une distribution de chaleur dans chaque pièce. Un système de chauffage monotube assure l'acheminement séquentiel du liquide de refroidissement vers chaque batterie. C'est-à-dire que le liquide de refroidissement quitte la chaudière, entre dans une batterie, puis dans une autre, puis dans une troisième, et ainsi de suite.
Que se passe-t-il dans la dernière batterie ? Arrivé à la fin du système de chauffage, le liquide de refroidissement fait demi-tour et retourne à la chaudière par un tuyau solide. Quels sont les principaux avantages d'un tel régime ?
- Facilité d'installation - vous devez conduire séquentiellement le liquide de refroidissement à travers les batteries et le renvoyer.
- La consommation minimale de matériaux est le schéma le plus simple et le moins cher.
- L'emplacement bas des tuyaux de chauffage - ils peuvent être montés au niveau du sol ou même abaissés sous les sols (cela peut augmenter la résistance hydraulique et nécessiter l'utilisation d'une pompe de circulation).
Il y a aussi quelques inconvénients que vous devez supporter :
- longueur limitée de la section horizontale - pas plus de 30 mètres;
- plus on s'éloigne de la chaudière, plus les radiateurs sont froids.
Cependant, il existe quelques astuces techniques qui permettent de combler ces lacunes. Par exemple, la longueur des sections horizontales peut être gérée en installant une pompe de circulation. Cela contribuera également à rendre les derniers radiateurs plus chauds. Des cavaliers-by-pass sur chacun des radiateurs permettront également de compenser la chute de température. Discutons maintenant des différentes variétés de systèmes monotubes.
Options de câblage pour le système de chauffage de l'eau d'une maison privée
Il existe de tels types de chauffage de l'eau d'une maison privée:
- tuyau unique :
- bitube ;
- collectionneur.
Chacune de ces options de câblage a ses propres caractéristiques.
Chauffage monotube aussi appelé "Leningrad". Dans ce cas, un tuyau réunit tous les appareils de chauffage de la maison, situés dans la direction du liquide de refroidissement. Un tel schéma de câblage pour chauffer une maison privée est simple, peu coûteux et rapide à installer. Cependant, un tel système présente un inconvénient important : les radiateurs chauffent de manière inégale, et il est impossible de réguler la température de chaque batterie.
Schéma à deux tuyaux le raccordement des radiateurs prévoit la pose de deux tuyaux parallèlement au mouvement de l'eau (pour plus de détails: «Système de chauffage à deux tuyaux d'une maison privée, faites-le vous-même»). Les avantages de cette option sont un chauffage uniforme et rapide de la maison, la possibilité de régler la température.
Collectionneur l'emplacement des tuyaux prévoit la présence d'une canalisation d'alimentation et de retour reliée à l'aide de collecteurs de distribution spéciaux. Ce câblage permet de contrôler intégralement toutes les batteries de la maison depuis l'armoire de distribution.
Pour que le chauffage soit efficace, il faut faire calcul du chauffage de l'eau maison privée.









































