- Caractéristiques : avantages et inconvénients
- Prix et caractéristiques techniques des chaudières à électrodes SCORPION
- Modèles de chaudières électriques
- Chaudière électrique Tenovy
- Chaudière électrique à électrode
- Chaudière à induction électrique
- Paramètres de la chaudière électrique et de son raccordement
- Du pouvoir
- Tension secteur
- Installation
- Installation d'une chaudière électrique
- Chaudière Scorpio: caractéristiques de l'appareil et principaux avantages
- Conception et caractéristiques de fonctionnement
- Avantages
- Modèles que l'on peut trouver en magasin
- Vue d'ensemble de la chaudière électrique "Scorpion"
- Histoire et principe de fonctionnement de la chaudière à ions (électrodes)
- Restrictions d'utilisation de l'appareil
- Comment fonctionnent les systèmes d'électrodes Scorpio ?
- Procédures d'installation
- Options de circuits
- Tuyauterie d'appareils de chauffage
- Indicateurs avantageux des chauffe-électrodes
Caractéristiques : avantages et inconvénients
Une chaudière à électrodes de type ionique se caractérise non seulement par tous les avantages des équipements de chauffage électrique, mais également par ses propres caractéristiques. Dans une longue liste, les plus significatifs peuvent être identifiés:
- L'efficacité des installations tend vers le maximum absolu - pas moins de 95%
- Aucun polluant ou rayonnement ionique nocif pour l'homme n'est rejeté dans l'environnement
- Puissance élevée dans un corps relativement petit par rapport aux autres chaudières
- Il est possible d'installer plusieurs unités à la fois pour augmenter la productivité, une installation séparée d'une chaudière de type ionique comme source de chaleur supplémentaire ou de secours
- Une petite inertie permet de réagir rapidement aux changements de température ambiante et d'automatiser entièrement le processus de chauffage grâce à une automatisation programmable
- Pas besoin de cheminée
- L'équipement n'est pas endommagé par une quantité insuffisante de liquide de refroidissement à l'intérieur du réservoir de travail
- Les surtensions n'affectent pas les performances de chauffage et la stabilité
Vous pouvez découvrir comment choisir une chaudière électrique pour le chauffage ici.
Bien entendu, les chaudières à ions présentent de nombreux avantages très importants. Si vous ne tenez pas compte des aspects négatifs qui surviennent plus souvent lors du fonctionnement de l'équipement, tous les avantages sont perdus.
Parmi les aspects négatifs, il convient de noter:
- Pour le fonctionnement des équipements de chauffage ionique, n'utilisez pas d'alimentations à courant continu, ce qui provoquerait une électrolyse liquide
- Il est nécessaire de surveiller en permanence la conductivité électrique du liquide et de prendre des mesures pour la réguler.
- Des précautions doivent être prises pour assurer une mise à la terre fiable. S'il tombe en panne, les risques d'électrocution augmentent considérablement.
- Il est interdit d'utiliser de l'eau chauffée dans un système à circuit unique pour d'autres besoins.
- Il est très difficile d'organiser un chauffage efficace avec circulation naturelle, l'installation d'une pompe est obligatoire
- La température du liquide ne doit pas dépasser 75 degrés, sinon la consommation d'énergie électrique augmentera considérablement
- Les électrodes s'usent rapidement et doivent être remplacées tous les 2 à 4 ans
Il est impossible d'effectuer des travaux de réparation et de mise en service sans l'intervention d'un artisan expérimenté
Découvrez d'autres moyens de chauffage électrique à la maison, lisez ici.
Prix et caractéristiques techniques des chaudières à électrodes SCORPION
| № | Caractéristiques de la chaudière | Nom des chaudières | ||||
| Scorpion | Scorpion | Scorpion | Scorpion | |||
| 1. | Volume de la pièce chauffée (m3) | 75-300 | 300-600 | 600-1800 | >1800 | |
| 2. | Surface chauffée (m²) | 5-100 | jusqu'à 120/150/180/200 | jusqu'à 300/450/600 | >600 | |
| 3. | Puissance d'entrée nominale (kW) | 1-4 | 5/6/7/8 | 12/18/24 | >24 | |
| 4. | Tension nominale (V) | |||||
| 5. | Consommation d'électricité estimée (kWh) (avec une bonne isolation thermique de la pièce) | 0,5-2 | 2-4 | 4-12 | >12 | |
| 6. | Courant maximum de la chaudière pour chaque phase (A), fréquence 50 Hz | 2,3-9,1 | 9,1-18,2 | 18,2-54,5 | >54,5 | |
| 7. | Courant nominal de l'automatisation. Option électromécanique (A) | 16; 25 | 3*25; 3*64 | >3*64 | ||
| 8. | Section de l'âme en cuivre conductrice de courant du câble de raccordement mm2) | 220V | ||||
| 380V | ||||||
| 9. | Volume de liquide de refroidissement recommandé dans le système de chauffage (l) | 20-120 | 120-240 | 240-720 | >720 | |
| 10. | Raccord de service pour le raccordement de la chaudière au système de chauffage (mm). D tuyaux de dérivation "Entrée" et "Sortie" de la chaudière (mm) | |||||
| 11. | Classe de protection contre les chocs électriques | |||||
| 12. | Exécution selon le degré de protection contre l'humidité | IP X 3 étanche aux éclaboussures | ||||
| 13. | Longueur (mm) | |||||
| 14. | poids (kg) | 1,5 | 1,5 | |||
| 15. | Coût, frotter.) | 30500/33000/35500/38000 | 58000/70000/82000 | >82000 | ||
| 16. | Avec l'utilisation de dispositifs de contrôle automatique ou avec automatisation, la consommation d'électricité (kW / h) (avec une bonne isolation thermique de la pièce) sera inférieure à celle déclarée. Pour toutes les chaudières à électrodes fabriquées par LLC "" et répertoriées dans ce tableau de la série "SCORPION", il est permis d'utiliser uniquement de l'eau du robinet avec le fluide technique "SCORPION" comme caloporteur. Durée de vie d'au moins 5 ans, période de garantie 1 an.Ajout de composants spéciaux qui éliminent la mousse, empêchent la corrosion, la formation de tartre, vous pouvez utiliser de l'eau potable SanPiN2.1.4.559-96, distillée, neige fondue, pluie (filtrée) avec une résistivité électrique (ci-après dénommée résistance) d'au moins 1300 Ohm cm à 15°C; |
ATTENTION! Il est strictement interdit d'utiliser des liquides conducteurs à faible congélation (antigel) comme caloporteur qui ne sont pas destinés à être utilisés dans les chaudières à électrodes. Par exemple, "TOSOL", "Arktika", "Votre maison", etc.
Nous améliorons constamment les chaudières, de sorte que leurs caractéristiques peuvent différer légèrement de celles indiquées dans ce tableau.
ATTENTION!
Le fonctionnement des chaudières électriques sans dispositifs de contrôle automatique ou avec automatisation est INTERDIT !
Si cette exigence n'est pas respectée, le fabricant n'est pas responsable de la sécurité de fonctionnement et des performances de ces chaudières, les obligations de garantie ne s'appliquent pas.
Liquide technique "Scorpion"
Pour augmenter la fiabilité et la durabilité des systèmes de chauffage, des additifs contre la formation de tartre sur les parois des échangeurs de chaleur et favoriser la dissolution de ceux existants, des additifs qui empêchent la corrosion, ont été ajoutés au liquide de refroidissement SCORPION.
Les antigels automobiles (tels que Tosol) couramment utilisés dans les systèmes de chauffage ne sont pas destinés à cet usage et leur utilisation comme liquide de refroidissement à faible congélation peut nuire à la santé.
L'utilisation du fluide technique "SCORPION" permet d'utiliser tout type de systèmes de chauffage à tout moment de l'année et dans n'importe quelle région sans crainte de faire fonctionner le système de chauffage.
Fluide technique "Scorpio" Il est produit sous forme de concentré (1 litre pour 10 litres d'eau).
Le coût du fluide technique "SCORPION" est inclus dans le prix de la chaudière électrique.
Automatisation Régulateur de température électromécanique 500 roubles Thermostat 950 roubles Thermostat d'ambiance — 800 roubles.
Système de commutation électrique (appareil automatique, démarreur magnétique) assemblé -1200 rub.
Date d'ajout : 2015-08-09 ; vues : 480 | violation de copyright
Modèles de chaudières électriques
Le principe de toute chaudière électrique est la conversion de l'électricité en chaleur. Les unités électriques ne sont pas les plus rentables, mais l'efficacité de leur utilisation est de 95 à 99%, ce qui est suffisant pour de telles unités. Ces chaudières sont divisées en trois types selon le type de liquide de refroidissement. Parlons de chacun d'eux plus en détail.
Chaudière électrique Tenovy
Les chaudières électriques équipées d'éléments chauffants fonctionnent sur le principe d'une bouilloire électrique. L'eau passe à travers des éléments chauffants tubulaires - éléments chauffants. Agissant comme caloporteur, il traverse tout le système de chauffage en circulant avec une pompe.
L'un des avantages peut être appelé sa compacité, son apparence soignée et sa possibilité de montage au mur. Le processus d'installation ne posera pas de difficultés particulières, et l'opération est confortable et simple, grâce aux capteurs et aux thermostats. L'automatisation vous permet de maintenir le chauffage souhaité, en vous concentrant sur les données des capteurs qui mesurent la température de l'air ambiant.

Le liquide de refroidissement peut être non seulement de l'eau, mais également un liquide non gelant, grâce auquel le tartre ne se formera pas sur les éléments chauffants, ce qui ne peut être évité en utilisant de l'eau.
Attention.Le tartre formé sur les éléments chauffants altère le transfert de chaleur et les propriétés d'économie d'énergie d'une chaudière de chauffage électrique. Cette option pour chauffer une maison est également bonne car elle a un faible coût.
Pour faciliter le réglage de la consommation d'électricité, il est équipé de plusieurs éléments chauffants pouvant être allumés séparément
Cette option pour le chauffage domestique est également bonne car elle a un faible coût. Pour faciliter le réglage de la consommation d'électricité, il est équipé de plusieurs éléments chauffants pouvant être allumés séparément.

Chaudière électrique à électrode
Le principe de fonctionnement d'une chaudière électrique à électrodes pour chauffer une maison est complètement différent du modèle précédent. Le liquide est chauffé non par un élément chauffant. L'électrode, installée dans le boîtier, donne au liquide une charge électrique, sous l'influence de laquelle les molécules sont divisées en ions chargés négativement et positivement. Le liquide de refroidissement a sa propre résistance, qui fournit un chauffage intense. De l'eau ou une composition spéciale (similaire à l'antigel) est versée dans le système.

Ce type d'unité électrique pour chauffer la maison est totalement sûr, si une fuite de liquide se produit, il s'éteindra simplement. Les modèles d'électrodes sont très compacts (ressemble à un petit cylindre avec des buses), équipés de capteurs pour mesurer la température ambiante, contrôlés par automatisation.
L'entretien de ce modèle se résume à remplacer l'électrode, car elles se dissolvent au fur et à mesure de leur fonctionnement, ce qui aggrave le chauffage de la maison. Il est également nécessaire de surveiller le bon fonctionnement de la pompe de circulation afin que le liquide du système ne bout pas.Le fonctionnement correct et efficace d'une chaudière électrique à électrodes pour le chauffage d'une maison privée n'est possible qu'avec de l'eau préparée - elle doit avoir la valeur de résistivité requise. Les mesurer vous-même n'est pas toujours pratique et simple, tout comme la préparation de l'eau. Par conséquent, il sera plus facile et plus fiable d'acheter un liquide spécialement conçu pour fonctionner dans des chaudières à électrodes.

Chaudière à induction électrique
Ce type d'unité de chauffage électrique pour la maison fonctionne sur la base du chauffage par induction d'un liquide avec des alliages ferromagnétiques. La bobine inductive est située dans un boîtier étanche et n'a pas de contact direct avec le liquide de refroidissement qui circule le long du périmètre de l'appareil. Sur cette base, non seulement l'eau, mais également les antigels peuvent être utilisés comme vecteur énergétique pour chauffer une maison. Cette chaudière électrique pour le chauffage domestique n'est pas équipée d'un élément chauffant ou d'une électrode, ce qui améliore son efficacité. De plus, l'absence d'éléments chauffants assure une sécurité totale pendant le fonctionnement. Cette version de la chaudière pour chauffer la maison n'est pas sujette à la formation de tartre, ne se casse pratiquement pas et ne coule pas.

L'inconvénient des modèles à induction est uniquement leur coût plus élevé et leurs grandes dimensions. Mais avec le temps, le problème de taille est éliminé - les anciens sont remplacés par des modèles améliorés.
En plus de cette classification, les chaudières électriques pour le chauffage d'une maison privée sont divisées en:
- circuit unique (conçu uniquement pour chauffer toute la maison);
- double circuit (fournir non seulement le chauffage dans toute la maison, mais aussi le chauffage de l'eau).
Vous devez également mettre en évidence :
- chaudières murales;
- chaudières au sol (des modèles de grande puissance sont produits).

Paramètres de la chaudière électrique et de son raccordement
Du pouvoir
La chaudière électrique de conception moderne a de nombreux paramètres, mais le paramètre le plus important lors du choix est la puissance de la chaudière. Il est sélectionné en fonction de vos paramètres :
- zone chauffée;
- matériel de mur;
- qualité et disponibilité de l'isolation thermique.
Tension secteur
Nous avons deux types de chaudières électriques pour chauffer une maison avec une alimentation électrique de 380 et 220 volts. Les petites chaudières sont généralement évaluées à 220 volts (connexion monophasée), tandis que les chaudières plus grandes, d'environ 12 kW et plus, sont évaluées à 380 volts (connexion triphasée). Selon l'emplacement de la chaudière, elle est divisée en types:
- sol;
- mur.
Installation
La plupart des nouveaux modèles de chaudières électriques sont esthétiques, compacts et respectueux de l'environnement, ils n'ont donc pas besoin d'être affectés à l'installation et au fonctionnement d'une pièce séparée.
L'installation d'une chaudière électrique dans la maison n'est pas une entreprise difficile. Il est facilement transportable, si nécessaire, il est facile de le démonter et de le réorganiser à un autre endroit, car ces chaudières sont assez légères, compactes et mobiles.
Installation d'une chaudière électrique
Il est nécessaire d'installer une chaudière électrique de chauffage murale à l'aide de boulons d'ancrage ou de chevilles.
En conséquence, la chaudière électrique au sol doit être montée au sol et sur un support spécial. Après avoir monté la chaudière sur site, il est nécessaire de la connecter au système de chauffage à l'aide d'adaptateurs et de raccords, en respectant l'étanchéité. Avant de se connecter au système de chauffage, il est nécessaire de fermer l'eau avec un robinet à tournant sphérique ou d'autres vannes d'arrêt.
Après avoir connecté la chaudière électrique au système de chauffage, vous devez commencer à connecter le câblage électrique.Il est obligatoire d'installer un RCD et un interrupteur automatique des puissances requises afin de protéger la chaudière des éventuels courts-circuits et des fuites de courant à la terre.
Attirez votre attention sur ! Comme toute installation électrique, la chaudière électrique doit être mise à la terre ! Pour votre sécurité. Les sections des fils raccordés à la chaudière électrique doivent être conformes aux préconisations du constructeur et supporter la puissance électrique consommée. Après avoir connecté la chaudière à l'alimentation électrique, l'eau est aspirée dans le système et son fonctionnement est testé.
Après avoir connecté la chaudière à l'alimentation électrique, l'eau est aspirée dans le système et son fonctionnement est testé.
Les sections des fils raccordés à la chaudière électrique doivent être conformes aux préconisations du constructeur et supporter la puissance électrique consommée. Après avoir connecté la chaudière à l'alimentation électrique, l'eau est aspirée dans le système et son fonctionnement est testé.
Chaudière Scorpio: caractéristiques de l'appareil et principaux avantages

Les chaudières Scorpion sont de différents types, mais elles diffèrent toujours par leur petite taille et leur consommation d'énergie économique.
Vous souhaitez faire des économies sur le chauffage de votre logement privé ? Le chaudron du Scorpion peut vous donner cette opportunité. Je suis prêt à parler en détail de ses caractéristiques techniques, et en même temps à présenter les modèles les plus courants.
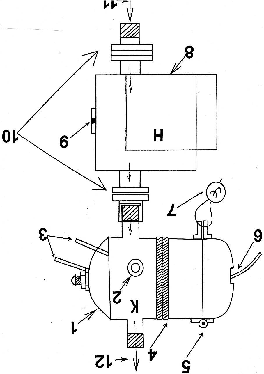
Conception et caractéristiques de fonctionnement

Schéma du principe de fonctionnement et de connexion de la chaudière Scorpio
Le dispositif du chauffe-eau considéré n'est pas particulièrement compliqué et on peut y distinguer les éléments les plus importants suivants:
- Boîtier en métal, qui à son tour a :
Deux tuyaux de dérivation pour raccorder les tuyaux du système de chauffage ;

La chaudière à électrodes Scorpion s'écrase dans le tuyau de chauffage, permettant au liquide de refroidissement de s'écouler à travers lui-même
Conclusions avec lesquelles le chauffe-eau est connecté au réseau ;
- Système d'électrodes qui met en œuvre la méthode ionique de chauffage de liquide ;

La méthode de chauffage par anode vous permet de chauffer tout le liquide de la chaudière en même temps
- Eau distillée, avec des additifs salins spéciaux comme caloporteur.
Lors de l'utilisation de "Scorpio", ne remplissez en aucun cas un autre liquide de refroidissement dans le système, à l'exception de celui fourni par le fabricant. Cela annulera non seulement immédiatement la garantie de l'équipement, mais compromettra également son bon fonctionnement.
Le principe de fonctionnement du chauffe-eau en question se résume donc au fait que dans celui-ci:
- Le liquide froid entre par l'un des trous;
- Ici, il est chauffé par le mouvement des électrons entre deux électrodes ;
- Et il sort déjà chauffé par le deuxième trou.
Avantages
Les chaudières de chauffage Scorpio présentent de nombreux aspects positifs qui les aident à conserver leur position de leader sur le marché parmi les autres chauffe-eau électriques. Parmi eux:
Haute efficacité de fonctionnement. Le fabricant revendique une économie d'énergie de cinquante pour cent grâce à la conception spéciale des électrodes et à l'utilisation d'un liquide de refroidissement spécial. Autrement dit, si une chaudière électrique conventionnelle est sélectionnée au taux de 1 kW par 10 m2, alors Scorpion - 0,5 kW par 10 m2;

La chaudière de chauffage Scorpion consomme deux fois moins d'électricité que d'autres équipements de même type lorsqu'elle chauffe la même surface
Dimensions compactes.L'appareil de chauffage décrit occupera pratiquement un minimum d'espace lors de l'installation;

La photo montre clairement à quel point le Scorpion est compact en comparant sa taille à la taille d'un téléphone portable.
Installation à faire soi-même possible. Il suffit de visser les deux buses aux tuyaux et de connecter l'appareil au secteur;

Pour installer une chaudière électrique du type en question, il n'est pas nécessaire d'inviter un spécialiste
Mais il y a une précision: si vous envisagez d'effectuer vous-même l'installation, je vous recommande de vous familiariser avec les termes de la garantie immédiatement lors de l'achat. Le fait est qu'elle peut agir dans une telle situation
- Silencieux du travail ;
- Sécurité environnementale. Aucune émission et fumée toxique n'est exclue;
- Aspect esthétique. Ne se démarque pratiquement pas sur le fond des tuyaux de chauffage;

La chaudière électrique Scorpion s'intègre de manière assez organique à l'intérieur même d'une maison en bois
- Possibilité de régulation de puissance. Autrement dit, vous pouvez toujours économiser sur le chauffage les jours chauds, ce qui est assez courant au printemps et en automne ;
- La présence d'un capteur d'urgence. En cas d'échauffement brusque et imprévu du liquide de refroidissement, les chaudières à cathode Scorpion sont automatiquement éteintes;
- Revêtement anticorrosion sous forme de peinture martelée ;
- Durabilité. Le fabricant accorde une garantie de 15 ans.
Modèles que l'on peut trouver en magasin
Les chaudières à électrodes Scorpion sont présentées par Gradient et sont divisées en deux groupes :
Monophasé dit "Baby"

Un petit chauffe-eau monophasé "Scorpion" tient dans la paume de votre main
Vue d'ensemble de la chaudière électrique "Scorpion"
La chaudière électrique "Scorpion" est un développement unique dans le domaine des équipements de chauffage, qui permet de réduire les coûts de chauffage des bâtiments de tout type. Le fabricant officiel de ces chaudières est uniquement Gradient LLC, dont la production est située à Maikop.
Aujourd'hui, les chaudières électriques Scorpion ont été améliorées et sont appelées chaudières Gradient.
Le principe de fonctionnement des chaudières Gradient:
Ce développement de la chaudière électrique Scorpion est basé sur le principe de fonctionnement des chaudières à électrodes, et les chaudières fonctionnent dans leur propre environnement unique. Contrairement à d'autres chaudières similaires, dans nos chaudières, en plus du chauffage direct de l'eau, l'électricité est en quelque sorte un catalyseur des réactions physico-chimiques dans la chaudière, ce qui entraîne une augmentation significative de la quantité de chaleur générée, et non de 5 à 10 %, comme le montre la pratique en 2 fois !
Le processus de chauffage du liquide de refroidissement dans le chauffe-eau électrique "Gradient" se produit en raison de son ionisation, c'est-à-dire de la division des molécules de liquide de refroidissement en ions positifs et chargés négativement, qui se déplacent respectivement vers les électrodes négatives et positives, les électrodes changer de pôles 50 fois par seconde, les ions oscillent, libérant à cette énergie, c'est-à-dire que le processus de chauffage du liquide de refroidissement se déroule directement, sans "intermédiaire" (par exemple, un élément chauffant). La chambre d'ionisation où se déroule ce processus est petite, par conséquent, un échauffement brutal du liquide de refroidissement s'ensuit et, par conséquent, une augmentation de sa pression (à la puissance maximale de l'appareil - jusqu'à 2 atmosphères). Ainsi, la chaudière à électrodes Gradient est à la fois un appareil de chauffage et une pompe de circulation à l'intérieur de la chaudière, ce qui permet au consommateur d'économiser beaucoup d'argent.La chaudière à électrodes fonctionne en faisant passer un courant alternatif de fréquence industrielle (50 Hz) à travers le liquide de refroidissement. La chaudière à électrode électrique fait partie du système de chauffage. Pour assurer un fonctionnement fiable, à long terme et sans problème de la chaudière, le système de chauffage doit être conforme aux exigences du système recommandées dans le passeport de la chaudière: type ouvert ou fermé, diamètres d'alimentation et de retour de 25 à 40 mm, la quantité de liquide dans le système ne dépasse pas 20 litres pour 1 kW de puissance de la chaudière.
Les chaudières fonctionnent exclusivement avec leur propre liquide de refroidissement, qui est ajouté à de l'eau distillée et fourni avec une réserve de 30% pour chaque objet.
Il existe deux gammes de modèles de chaudières électriques Gradient parmi lesquelles les clients peuvent choisir :
- Chaudières monophasées "Kid" d'une puissance jusqu'à 3 kW
"Baby" d'une puissance allant jusqu'à 6 kW avec un échangeur de chaleur.
- Chaudières triphasées "Krepysh" 6-12 kW, "Bogatyr" 18 kW. avec échangeur de chaleur intégré.

Avantages de notre chaudière :
- L'AVANTAGE LE PLUS PRINCIPAL DE LA CHAUDIÈRE "GRADIENT" EST SON ÉCONOMIE, SA SIMPLICITÉ ET SA FIABILITÉ.
Il consomme de l'électricité jusqu'à 2 fois moins cher que les autres appareils électriques. Par exemple: si pour chauffer une pièce d'une superficie de 100 mètres carrés, vous avez besoin d'une puissance d'une chaudière électrique conventionnelle de 10 kW, alors dans le cas d'une chaudière fabriquée par Gradient LLC, une chaudière d'une puissance de 5 kW est suffisant. (en même temps, il s'allumera / s'éteindra également et fonctionnera en moyenne 10-12 heures par jour)
Il ne nécessite pas de pièce séparée (chaufferie) et l'installation d'une cheminée.
Utilisation de raccords de tuyauterie standard pouvant être achetés dans n'importe quelle plomberie. boutique.
- TAILLE COMPACTE ET TRAVAIL SILENCIEUX.
- CAPTEUR DE TEMPÉRATURE D'URGENCE.
Le système de chauffage est protégé en cas d'urgence, d'échauffement soudain du liquide de refroidissement.
Protection fiable de la chaudière contre la corrosion et bel aspect esthétique.
PROTECTION SUPPLÉMENTAIRE EN CAS DE BRÛLURE DES FILS.
Deux connexions boulonnées séparées pour le fil neutre et la terre.
Les chaudières ont des connexions boulonnées et un contact fiables.
Comment calculer la puissance et le coût de la chaudière Gradient économique pour ma maison et passer une commande ?
Il s'agit d'un formulaire électronique où sont renseignés les paramètres de votre logement. Tout y est simple !
Pour nous, c'est un appel officiel !
Des spécialistes calculeront la puissance et le coût de la chaudière électrique Scorpion (Gradient) et vous fourniront une réponse officielle avec les détails du paiement.
ÉTAPES DE TRAVAIL AVEC NOUS.
48 heures - Traitement de votre demande, recherche d'une solution individuelle pour votre objet.
1 à 5 jours - Réalisation d'une chaudière répondant aux normes de qualité et de sécurité !
2-10 jours - Transport de la chaudière dans votre région avec l'aide d'une entreprise de transport dans un colis fiable !
1-3 jours — Installation de la chaudière par notre représentant ! S'il est disponible dans votre région!
Nous sommes prêts à coopérer aujourd'hui.
Histoire et principe de fonctionnement de la chaudière à ions (électrodes)
Ce type de chaudières de chauffage a été créé au milieu du siècle dernier par les entreprises du complexe de défense pour les besoins de la flotte sous-marine de l'URSS, notamment pour chauffer les compartiments des sous-marins à moteur diesel. La chaudière à électrodes respectait pleinement les conditions de commande des sous-mariniers - elle avait des dimensions extrêmement petites pour les chaudières de chauffage ordinaires, n'avait pas besoin de hotte aspirante, ne créait pas de bruit pendant le fonctionnement et chauffait efficacement le liquide de refroidissement, qui convenait le mieux à l'eau de mer ordinaire .
Dans les années 90, les commandes pour l'industrie de la défense ont été fortement réduites en volume, parallèlement à cela, les besoins de la marine en chaudières à ions ont été réduits à zéro. La première version "civile" de la chaudière à électrodes a été créée par les ingénieurs A.P. Ilyin et D.N. Kunkov, qui ont reçu un brevet correspondant pour leur invention en 1995.
Le principe de fonctionnement de la chaudière à ions repose sur l'interaction directe du liquide de refroidissement, qui occupe l'espace entre l'anode et la cathode, avec un courant électrique. Le passage du courant électrique à travers le liquide de refroidissement provoque un mouvement chaotique des ions positifs et négatifs : le premier mouvement vers l'électrode chargée négativement ; la seconde - chargée positivement. Le mouvement constant des ions dans un milieu qui résiste à ce mouvement provoque un échauffement rapide du liquide de refroidissement, qui est notamment facilité par le changement de rôle des électrodes - chaque seconde leur polarité change 50 fois, c'est-à-dire chacune des électrodes sera anode 25 fois et cathode 25 fois pendant une seconde, puisqu'elles sont reliées à une source de courant alternatif d'une fréquence de 50 Hz. Il convient de noter que c'est précisément un changement de charge aussi fréquent aux électrodes qui ne permet pas à l'eau de se décomposer en oxygène et en hydrogène - l'électrolyse nécessite un courant électrique constant. Lorsque la température monte dans la chaudière, la pression augmente, provoquant la circulation du liquide de refroidissement à travers le circuit de chauffage.
Ainsi, les électrodes installées dans le réservoir de la chaudière à ions ne participent pas directement au chauffage de l'eau et ne se réchauffent pas - les ions chargés positivement et négativement, divisés sous l'influence du courant électrique des molécules d'eau, sont responsables de l'augmentation de l'eau Température.
Une condition importante pour le fonctionnement efficace de la chaudière à ions est la présence d'une résistance ohmique de l'eau à un niveau ne dépassant pas 3000 ohms à 15 ° C, pour laquelle ce liquide de refroidissement doit contenir une certaine quantité de sels - initialement, les chaudières à électrodes ont été créés pour l'eau de mer. Autrement dit, si vous versez de l'eau distillée dans le système de chauffage et essayez de le chauffer avec une chaudière à ions, il n'y aura pas de chauffage, car il n'y a pas de sels dans cette eau, ce qui signifie qu'il n'y aura pas de circuit électrique entre les électrodes.
Restrictions d'utilisation de l'appareil
La chaudière Scorpio n'est pas utilisée partout, chaque installation nécessite un calcul de tous les facteurs, en particulier l'utilisation d'un tel système. Il ne peut donc pas être utilisé :
- Pour chauffer les sols, les marches, les piscines, les serres, les toitures.
- Si des échangeurs de chaleur en fonte sont installés dans le système, les résidus de cendre et de saleté peuvent rendre l'équipement inutilisable.
- Dans les systèmes équipés de tuyaux galvanisés.
- Si des composants en plastique ont été utilisés pour l'installation de chauffage.
Calendrier de comptabilisation des fluctuations des coûts d'électricité
Les chaudières à électrodes sont interdites dans l'Union européenne. Ils n'y sont pas vendus et ne sont même pas fabriqués dans leurs espaces ouverts. L'efficacité de telles unités dans cette zone climatique est faible, les coûts ne justifient pas l'installation d'une telle chaudière.
Comment fonctionnent les systèmes d'électrodes Scorpio ?
Le processus d'ionisation de l'eau est effectué dans la chaudière. Les ions d'eau tendent vers des plaques d'électrodes appropriées, et l'énergie qui sort au moment de cette action chauffe le radiateur. Comme le flux de courant change constamment, les ions ne se déposent pas sur la base des plaques.
Le dispositif de contrôle automatique empêche le système de chauffage de fonctionner en cas d'urgence - si une fuite ou un dysfonctionnement est soudainement détecté, la chaudière s'éteint automatiquement. De plus, dans de tels systèmes, il n'y a pas de court-circuit.
Les structures d'électrodes Scorpion peuvent être utilisées comme système de chauffage principal ou supplémentaire. Bien qu'aujourd'hui, ces chaudières soient rarement utilisées comme système de chauffage principal. En tant qu'appareil de chauffage supplémentaire, une telle chaudière est parfaitement installée dans le schéma de conception fini et, si nécessaire, vous pouvez faire passer le chauffage d'un système à gaz à un système à électrodes. Si vous êtes intéressé par le système de chauffage Scorpio, son coût peut être trouvé dans n'importe quel magasin qui vend de tels systèmes.
La conception des électrodes est un excellent exemple de dispositif de chauffage pour les zones où il est impossible de réaliser un système de gazéification centralisé. Pour faire fonctionner cette conception, il n'est pas nécessaire d'utiliser du gaz et d'installer un équipement à gaz. De plus, une telle chaudière, même à puissance minimale, peut chauffer un grand nombre de pièces.
Procédures d'installation
Pour accrocher l'appareil, vous avez besoin d'une plaque de montage, qui est incluse dans le colis de livraison : elle est fixée au mur avec quatre chevilles ou boulons d'ancrage avec alignement horizontal et vertical obligatoire. S'il s'agit d'une chaudière au sol, elle est installée sur un support spécial.
La machine doit être mise à la terre, inspectée pour s'assurer qu'elle est dans la bonne position, que la pression de l'eau dans le système est normale et que toutes les communications sont connectées.
Les unités de chauffage électrique doivent être connectées avec un fil dont la section est indiquée dans la documentation de l'équipement. Les fils sont conduits dans des boîtes de protection spéciales.
Options de circuits
Il existe différents schémas: un schéma de raccordement d'une chaudière électrique à des radiateurs de chauffage, des schémas avec possibilité de monter une cascade. Cette dernière option est utilisée s'il est nécessaire de chauffer de grandes surfaces. Pour le fonctionnement des appareils en cascade, les bornes de l'unité de contrôle sont reliées aux bornes de l'unité contrôlée. Si le thermostat d'ambiance commande le système d'installation, ses contacts de commande sont connectés aux bornes de l'équipement maître.
Tuyauterie d'appareils de chauffage
La liaison peut être effectuée en ligne droite et selon un schéma de mélange. Le schéma direct implique le contrôle de la température par un brûleur, le mélange - par un mélangeur avec un servomoteur. La reliure s'effectue comme suit. Un collecteur de chaudière est installé, un tuyau du diamètre requis est connecté à la chaudière.

Une vanne mélangeuse à trois voies est installée à l'entrée, qui régulera la température. Une pompe de circulation est installée sur la conduite de retour et une unité de commande est montée. Après avoir lié, vous pouvez remplir le système de liquide de refroidissement et tester le bon fonctionnement de l'équipement.
Cette étape ne doit pas être sous-estimée : en réalité, elle n'est pas aussi simple et insignifiante qu'il n'y paraît. La tuyauterie normale permet l'utilisation d'équipements sans système d'automatisation, ce qui réduit considérablement les coûts. Par conséquent, il doit être effectué à un niveau professionnel et en tenant compte des caractéristiques de conception du système et de la chaudière.
La tuyauterie de la chaudière électrique doit être réalisée par un spécialiste.Si vous devez encore le faire vous-même, vous avez besoin de nœuds de distribution déjà assemblés. Schéma général pour la mise en œuvre du système de chauffage dans la maison.
Indicateurs avantageux des chauffe-électrodes
Le fonctionnement d'une source de chaleur autonome vous permet de gérer non seulement le microclimat et la thermorégulation de la maison, mais également le coût du chauffage. Dans le même temps, les chaudières à électrodes présentent un certain nombre d'avantages évidents par rapport aux éléments chauffants et aux appareils à induction.
Toute l'eau qui entre dans la chaudière à électrodes électriques est chauffée presque instantanément et en totalité. En raison de l'absence d'inertie incontrôlée du chauffage du liquide de refroidissement dans la conception, un très haut niveau d'efficacité est atteint - jusqu'à 98%.
Le contact constant des électrodes avec le caloporteur liquide n'entraîne pas la formation d'une couche de tartre. Et, en conséquence, la défaillance rapide de l'appareil de chauffage. Cela est dû au fait que dans la conception de l'appareil, il y a un changement constant de polarité - le mouvement alternatif des ions dans différentes directions à une vitesse de 50 fois par seconde.
Le principe de chauffage par électrode du liquide permet de réduire plusieurs fois le volume du générateur de chaleur par rapport à des éléments chauffants de puissance similaire. La petite taille et la légèreté de l'équipement sont des caractéristiques très avantageuses qui caractérisent les chaudières à électrodes. Les avis d'utilisateurs expérimentés confirment la commodité d'utilisation des appareils électroménagers, la facilité d'installation et la possibilité de les placer dans n'importe quelle pièce.
La présence d'une unité de réglage numérique sur le panneau extérieur de l'appareil vous permet de régler raisonnablement l'intensité de la chaudière. Le fonctionnement dans un mode donné permet d'économiser jusqu'à 40% d'énergie électrique dans la maison.
En cas de dépressurisation du système ou de fuite d'eau, vous ne pouvez pas avoir peur d'un choc électrique. Sans liquide de refroidissement, il n'y aura pas de mouvement de courant, donc la chaudière s'arrête tout simplement de fonctionner.
L'absence de vibrations sonores assure un fonctionnement silencieux.
Le principe de fonctionnement de la chaudière à électrodes implique l'absence totale de produits de combustion ou d'autres types de déchets. Il ne nécessite pas non plus un approvisionnement en carburant.











































