- Le dispositif et le fonctionnement du relais électrothermique.
- Types de relais de signal
- Relais pointeur - marquage
- Alors, commençons par le plus difficile. Que faire si les données de passeport du moteur ne sont pas connues ?
- TABLEAU POUR LA SÉLECTION DES RELAIS THERMIQUES
- Les principaux types de relais et leur objectif
- Relais électromagnétiques
- Relais CA
- Relais CC
- Relais électronique
- Principaux types et caractéristiques techniques des relais électromagnétiques
- Contact et sans contact
- Par portée
- Selon la puissance du signal de commande
- Par vitesse de contrôle
- Par type de tension de commande
- Dispositif de relais général
- Paramètres du produit
- Caractéristiques de montage
- Types de DME
- Types et types de circuits électriques
- Conclusions et vidéo utile sur le sujet
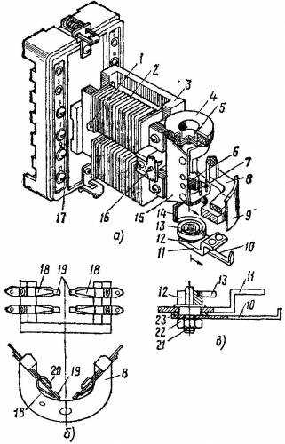
Le dispositif et le fonctionnement du relais électrothermique.
Le relais électrothermique fonctionne avec un démarreur magnétique. Avec ses contacts à broches en cuivre, le relais est connecté aux contacts de puissance de sortie du démarreur. Le moteur électrique, respectivement, est connecté aux contacts de sortie du relais électrothermique.


À l'intérieur du relais thermique, il y a trois plaques bimétalliques, chacune étant soudée à partir de deux métaux avec un coefficient de dilatation thermique différent.Les plaques à travers une "bascule" commune interagissent avec le mécanisme du système mobile, qui est connecté à des contacts supplémentaires impliqués dans le circuit de protection du moteur :
1. Normalement fermé NC (95 - 96) sont utilisés dans les circuits de commande de démarreur ; 2. Normalement ouvert NON (97 - 98) sont utilisés dans les circuits de signalisation.

Le principe de fonctionnement du relais thermique repose sur déformations plaque bimétallique lorsqu'elle est chauffée par un courant passant.
Sous l'influence du courant circulant, la plaque bimétallique s'échauffe et se plie vers le métal, qui a un coefficient de dilatation thermique plus faible. Plus le courant traverse la plaque, plus elle chauffera et se pliera, plus la protection fonctionnera rapidement et éteindra la charge.
Supposons que le moteur est connecté via un relais thermique et fonctionne normalement. Au premier moment de fonctionnement du moteur électrique, le courant de charge nominal traverse les plaques et elles chauffent jusqu'à la température de fonctionnement, ce qui ne les fait pas se plier.
Pour une raison quelconque, le courant de charge du moteur électrique a commencé à augmenter et le courant traversant les plaques a dépassé le courant nominal. Les plaques commenceront à chauffer et à se plier plus fortement, ce qui mettra en mouvement le système mobile et celui-ci, agissant sur les contacts relais supplémentaires (95 – 96), mettra le démarreur magnétique hors tension. Au fur et à mesure que les plaques refroidissent, elles reviennent à leur position d'origine et les contacts de relais (95 – 96) se fermera. Le démarreur magnétique sera à nouveau prêt à démarrer le moteur électrique.
En fonction de la quantité de courant circulant dans le relais, un réglage de déclenchement de courant est fourni, qui affecte la force de flexion de la plaque et est régulé par un bouton rotatif situé sur le panneau de commande du relais.

En plus de la commande rotative sur le panneau de commande, il y a un bouton "TEST”, conçu pour simuler le fonctionnement de la protection du relais et vérifier ses performances avant d'être inclus dans le circuit.
«Indicateur» informe sur l'état actuel du relais.
Bouton "ARRÊT» le démarreur magnétique est désexcité, mais comme dans le cas du bouton « TEST », les contacts (97 – 98) ne se ferment pas, mais restent à l'état ouvert. Et lorsque vous utilisez ces contacts dans le circuit de signalisation, considérez ce moment.
Le relais électrothermique peut fonctionner en manuel ou automatique mode (la valeur par défaut est automatique).
Pour passer en mode manuel, tournez le bouton rotatif "RÉINITIALISER» dans le sens inverse des aiguilles d'une montre, tandis que le bouton est légèrement relevé.

Supposons que le relais ait fonctionné et désexcité le démarreur avec ses contacts. En fonctionnement en mode automatique, après refroidissement des lames bimétalliques, les contacts (95 — 96) et (97 — 98) ira automatiquement à la position initiale, tandis qu'en mode manuel, le transfert des contacts à la position initiale s'effectue en appuyant sur le bouton "RÉINITIALISER».
En plus de la protection des e-mails. moteur contre les surcharges de courant, le relais assure la protection en cas de défaillance d'une phase de puissance. Par exemple. Si l'une des phases casse, le moteur électrique, travaillant sur les deux phases restantes, consommera plus de courant, ce qui fera chauffer les plaques bimétalliques et le relais fonctionnera.
Cependant, le relais électrothermique n'est pas en mesure de protéger le moteur des courants de court-circuit et doit lui-même être protégé de ces courants. Par conséquent, lors de l'installation de relais thermiques, il est nécessaire d'installer des interrupteurs automatiques dans le circuit d'alimentation du moteur électrique qui les protègent des courants de court-circuit.
Lors du choix d'un relais, faites attention au courant de charge nominal du moteur, qui protégera le relais. Dans le manuel d'instructions fourni dans la boîte, il y a un tableau selon lequel un relais thermique est sélectionné pour une charge spécifique :

Par exemple, le relais RTI-1302 a une limite de réglage du courant de réglage de 0,16 à 0,25 Ampères. Cela signifie que la charge du relais doit être sélectionnée avec un courant nominal d'environ 0,2 A ou 200 mA.
Types de relais de signal
Il existe les types de relais indicateurs suivants : ouvert ; fermé; commutation. Ils viennent avec une caractéristique de courant constant ou variable. Dans ce cas, le relais DC peut être : neutre, polarisé, combiné.
Relais de signalisation moderne
Les relais neutres détectent la présence et l'absence d'un signal de commande. Les appareils polarisés répondent à la polarité du signal de commande. Dans ce cas, si la polarité est inversée, le relais commute. Les types combinés combinent les deux types décrits ci-dessus, répondent à la polarité et au signal.
De par ses caractéristiques de conception, le relais indicateur peut être divisé en deux sous-groupes : statique et électromécanique. Les statiques sont ioniques, microprocesseurs, ferromagnétiques, semi-conducteurs. Les relais électromécaniques peuvent être magnétoélectriques, à induction, électromagnétiques, thermiques, électrodynamiques.
Les types électromagnétiques ont une conception magnétique et une bobine située sur sa partie fixe. De plus, la conception a une armature, qui a une connexion avec des contacts fermés et ouverts. Lorsqu'une tension est appliquée à la bobine, l'armature est attirée et active les contacts, tout en les fermant et en les ouvrant.
Les dispositifs de type électromécanique entraînent un actionneur de petite taille, qui est relié à des groupes de contacts au moyen d'une boîte de vitesses.
De plus, les relais sont divisés en fonction du paramètre contrôlé : puissance, tension, courant, temps, etc.
Les types de relais indicateurs les plus populaires :
- RU-21. Utilisé dans les systèmes de protection pour indiquer le fonctionnement des relais de protection et d'automatisation. La conception d'un tel relais est conçue pour le courant continu, ce qui correspond à une valeur de déclenchement de 0,006A.
- RU-11. Il est utilisé pour la signalisation en cas d'accident dans les réseaux électriques AC et DC 220V/380V - 50 Hertz, 440V - 60 Hertz. Utilisé dans les mécanismes d'automatisation.
- PRU - 1. Il est utilisé pour contrôler le déclenchement des systèmes d'automatisation et de protection. Le mécanisme fonctionne sur des lignes électriques à courant continu, tandis que le taux de fonctionnement est de 0,01 A.
Relais pointeur - marquage
Le marquage du relais indicateur comprend : une série, le nombre de contacts de déconnexion et de fermeture ; niveau de protection; conditions climatiques dans lesquelles l'appareil reste opérationnel. De plus, le type et la méthode de connexion des fils externes sont indiqués.
Dans ce cas, le chiffre :
- 1 signifie connexion frontale avec vis ;
- 5 - connecté à l'arrière avec une vis;
- 2 - fixé par soudure.
Les conditions climatiques sont également indiquées conditionnellement :
- Y - conditions climatiques modérées;
- T - peut être utilisé dans la zone climatique tropicale;
- 3 est la catégorie d'emplacement standard.
Alors, commençons par le plus difficile. Que faire si les données de passeport du moteur ne sont pas connues ?
Pour ce cas, nous recommandons une pince ampèremétrique ou un multimètre C266, dont la conception comprend également une pince ampèremétrique. À l'aide de ces appareils, vous devez déterminer le courant du moteur en fonctionnement en le mesurant par phases.
Dans le cas où les données sont partiellement lues sur le tableau, nous plaçons un tableau avec les données de passeport des moteurs asynchrones largement utilisés dans l'économie nationale (type AIR). Avec lui, il est possible de déterminer In.
Choisir le bon relais thermique est l'une des conditions les plus importantes pour protéger un moteur électrique contre les surcharges. «La protection du moteur électrique contre les surcharges doit être installée dans les cas où il est possible de surcharger le mécanisme pour des raisons technologiques, ainsi que dans des conditions de démarrage difficiles et pour limiter la durée du démarrage à basse tension. La protection doit être temporisée et peut être réalisée par des relais thermiques. (d'après les Instructions d'installation et de démarrage des moteurs électriques)
Tout d'abord, regardons la plaque (plaque signalétique) sur le moteur.
Nous lisons quel est le courant nominal du moteur lorsqu'il est connecté à un réseau de 380 volts (In). Ce courant, comme on le voit sur la plaque signalétique du moteur, In \u003d 1,94 Ampères
L'expression "valeur" est un terme conditionnel indiquant le courant que le démarreur magnétique sélectionné peut traverser les contacts de travail principaux. Lors de l'attribution d'une valeur, on considère que le démarreur fonctionne à une tension de 380 V et que son mode de fonctionnement est AC-3.
Je vais donner une liste des différences entre les appareils en fonction de leurs valeurs (courants en fonction des valeurs):
- 0 - 6,3 A ;
- 1 - 10 A ;
- 2 - 25 A ;
- 3 - 40 A ;
- 4 - 63 A ;
- 5 - 100 A ;
- 6 - 160 A;
- 7 - 250 A.
Les valeurs de leurs courants admissibles traversant les contacts du circuit principal diffèrent de celles que j'ai données selon les principes suivants :
- catégorie d'utilisation (il peut s'agir de catégories AC-1 -, AC3, AC-4 et 8 autres);
- le premier implique une charge purement résistive (ou avec une petite présence d'inductance) ;
- le second - pour contrôler les moteurs avec des bagues collectrices;
- le troisième - fonctionne en mode de démarrage direct des moteurs avec un rotor à cage d'écureuil et les connecte;
- le quatrième - le démarrage des moteurs à rotor à cage d'écureuil, la mise hors tension des moteurs qui tournent lentement ou immobiles, le freinage par la méthode à contre-courant.
Si vous augmentez le nombre de catégories d'utilisation, le courant de contact maximal du circuit principal (avec les mêmes paramètres de durabilité de commutation) diminuera.
Revenons à nos moutons.
Le relais thermique a une échelle calibrée en ampères. Habituellement, l'échelle correspond à la valeur du courant de réglage (courant de défaillance du relais). Le fonctionnement du relais se produit dans les 5 à 20% de l'excès du courant réglé par le courant consommé du moteur électrique. C'est-à-dire que lorsque le moteur est surchargé de 5 à 20 % (1,05 * In - 1,2 * In), le relais thermique se déclenche conformément à sa caractéristique courant-temps. Par conséquent, nous sélectionnons le relais de manière à ce que le courant de défaillance du relais thermique soit supérieur de 5 à 10 % au courant nominal du moteur protégé (voir tableau ci-dessous).
TABLEAU POUR LA SÉLECTION DES RELAIS THERMIQUES
| Du pouvoir moteur électrique kW | Relais RTL (pour PML) | Ajustement courant MAIS | Relais RT (pour PMK) | Ajustement courant MAIS |
|---|---|---|---|---|
| 0,37 | RTL-1005 | 0,6…1 | RT 1305 | 0,6…1 |
| 0,55 | RTL-1006 | 0,95…1,6 | RT 1306 | 1…1,6 |
| 0,75 | RTL-1007 | 1,5…2,6 | RT 1307 | 1,6…2,5 |
| 1,5 | RTL-1008 | 2,4…4 | RT 1308 | 2,5…4 |
| 2,2 | RTL-1010 | 3,8…6 | RT 1310 | 4…6 |
| 3 | RTL-1012 | 5,5…8 | RT 1312 | 5,5…8 |
| 4 | RTL-1014 | 7…10 | RT 1314 | 7…10 |
| 5,5 | RTL-1016 | 9,5…14 | RT 1316 | 9…13 |
| 7,5 | RTL-1021 | 13…19 | RT 1321 | 12…18 |
| 11 | RTL-1022 | 18…25 | RT 1322 | 17…25 |
| 15 | RTL-2053 | 23…32 | RT 2353 | 23…32 |
| 18,5 | RTL-2055 | 30…41 | RT 2355 | 28…36 |
| 22 | RTL-2057 | 38…52 | RT 3357 | 37…50 |
| 25 | RTL-2059 | 47…64 | ||
| 30 | RTL-2061 | 54…74 |
Pour la plupart des moteurs électriques fabriqués en Chine, nous suggérons de sélectionner le courant de défaillance du relais thermique égal au courant nominal. Après avoir sélectionné un relais thermique et un démarreur magnétique correspondant, nous réglons le relais thermique sur le courant de fonctionnement dont nous avons besoin.
Si le moteur est triphasé, nous multiplions le courant de fonctionnement par 1,25-1,5 - ce sera le réglage du relais thermique.
Les principaux types de relais et leur objectif
Les fabricants configurent les dispositifs de commutation modernes de manière à ce que le fonctionnement ne se produise que dans certaines conditions, par exemple, avec une augmentation de l'intensité du courant fournie aux bornes d'entrée du KU. Ci-dessous, nous passerons brièvement en revue les principaux types de solénoïdes et leur objectif.
Relais électromagnétiques
Un relais électromagnétique est un dispositif de commutation électromécanique dont le principe est basé sur l'effet d'un champ magnétique créé par un courant dans un enroulement statique sur une armature. Ce type de KU est divisé en dispositifs réellement électromagnétiques (neutres), qui ne répondent qu'à la valeur du courant fourni à l'enroulement, et polarisés, dont le fonctionnement dépend à la fois de la valeur du courant et de la polarité.
Le principe de fonctionnement du solénoïde électromagnétique
Les relais électromagnétiques utilisés dans les équipements industriels se situent en position intermédiaire entre les appareils à courant fort (démarreurs magnétiques, contacteurs...) et les équipements à courant faible. Le plus souvent, ce type de relais est utilisé dans les circuits de commande.
Relais CA
Le fonctionnement de ce type de relais, comme son nom l'indique, se produit lorsqu'un courant alternatif d'une certaine fréquence est appliqué à l'enroulement.Cet appareil de commutation AC avec ou sans commande de phase zéro est une combinaison de thyristors, de diodes redresseuses et de circuits de commande. Relais CA peuvent être réalisés sous forme de modules à base de transformateur ou d'isolation optique. Ces KU sont utilisés dans les réseaux AC avec une tension maximale de 1,6 kV et un courant de charge moyen jusqu'à 320 A.
Relais intermédiaire 220 V
Parfois, le fonctionnement du réseau électrique et des appareils n'est pas possible sans l'utilisation d'un relais intermédiaire pour 220 V. Habituellement, un KU de ce type est utilisé s'il est nécessaire d'ouvrir ou d'ouvrir les contacts de direction opposée du circuit. Par exemple, si un dispositif d'éclairage avec un capteur de mouvement est utilisé, un conducteur est connecté au capteur et l'autre fournit de l'électricité à la lampe.
Les relais AC sont largement utilisés dans les équipements industriels et les appareils électroménagers
Cela fonctionne comme ceci :
- fournir du courant au premier dispositif de commutation ;
- à partir des contacts du premier KU, le courant circule vers le relais suivant, qui a des caractéristiques plus élevées que le précédent et est capable de supporter des courants élevés.
Les relais deviennent chaque année plus efficaces et compacts.
Les fonctions du relais AC de petite taille 220V sont très diverses et sont largement utilisées comme dispositif auxiliaire dans une grande variété de domaines. Ce type de KU est utilisé dans les cas où le relais principal ne fait pas face à sa tâche ou avec un grand nombre de réseaux contrôlés qui ne sont plus en mesure de desservir l'unité principale.
Le dispositif de commutation intermédiaire est utilisé dans les équipements industriels et médicaux, les transports, les équipements de réfrigération, les téléviseurs et autres appareils électroménagers.
Relais CC
Les relais CC sont divisés en neutre et polarisé. La différence entre les deux est que les condensateurs CC polarisés sont sensibles à la polarité de la tension appliquée. L'armature de l'appareil de commutation change de sens de mouvement en fonction des pôles de puissance. Les relais DC électromagnétiques neutres ne dépendent pas de la polarité de la tension.
Le KU électromagnétique DC est principalement utilisé lorsqu'il n'est pas possible de se connecter au secteur AC.
Relais automobile à quatre broches
Les inconvénients des solénoïdes à courant continu incluent le besoin d'une alimentation électrique et un coût plus élevé par rapport au courant alternatif.
Cette vidéo montre le schéma de connexion et explique le fonctionnement du relais 4 contacts :
Regardez cette vidéo sur YouTube
Relais électronique
Relais de commande électronique dans le circuit de l'appareil
Après avoir traité de ce qu'est un relais de courant, considérez le type électronique de cet appareil. La conception et le principe de fonctionnement des relais électroniques sont pratiquement les mêmes que dans le KU électromécanique. Cependant, pour remplir les fonctions nécessaires dans un dispositif électronique, une diode à semi-conducteur est utilisée. Dans les véhicules modernes, la plupart des fonctions des relais et des commutateurs sont assurées par des unités de commande de relais électroniques et, pour le moment, il est impossible de les abandonner complètement.Ainsi, par exemple, un bloc de relais électroniques permet de contrôler la consommation d'énergie, la tension aux bornes de la batterie, de contrôler le système d'éclairage, etc.
Principaux types et caractéristiques techniques des relais électromagnétiques
Il existe les types suivants :
- Relais de courant - selon son principe de fonctionnement, il ne diffère pratiquement pas d'un relais de tension. La différence fondamentale réside uniquement dans la conception de la bobine électromagnétique. Pour un relais de courant, la bobine est enroulée avec un fil de grande section et contient un petit nombre de spires, c'est pourquoi elle a une résistance minimale. Le relais de courant peut être connecté via un transformateur ou directement au réseau de contacts. Dans tous les cas, il contrôle correctement l'intensité du courant dans le réseau contrôlé, sur la base de laquelle tous les processus de commutation sont effectués.
- Relais temporisé (minuteries) - fournit un délai dans les réseaux de contrôle, nécessaire dans certains cas pour allumer les appareils conformément à un certain algorithme. Ces relais ont une gamme étendue de réglages nécessaires pour assurer une grande précision de leur fonctionnement. Chaque minuterie a des exigences distinctes. Par exemple, faible consommation d'énergie électrique, petites dimensions, grande précision de fonctionnement, présence de contacts puissants, etc. Il convient de noter que pour les relais temporisés inclus dans la conception de l'entraînement électrique, aucune exigence accrue supplémentaire n'est imposée . L'essentiel est qu'ils aient une conception solide et une fiabilité accrue, car ils doivent constamment fonctionner dans des conditions de charges accrues.
Chacun des types de relais électromagnétiques a ses propres paramètres spécifiques.
Lors de la sélection des éléments nécessaires, il convient de prêter attention à la composition et aux propriétés des paires de contact, afin de déterminer les caractéristiques nutritionnelles. Voici quelques-unes de leurs principales caractéristiques :
- Tension ou courant de déclenchement - la valeur minimale du courant ou de la tension à laquelle les paires de contacts du relais électromagnétique sont commutées.
- La tension ou le courant de déclenchement est la valeur maximale qui contrôle la course de l'armature.
- Sensibilité - la quantité minimale de puissance requise pour faire fonctionner le relais.
- résistance au bobinage.
- La tension de fonctionnement et l'intensité du courant sont les valeurs de ces paramètres nécessaires au fonctionnement optimal d'un relais électromagnétique.
- Temps de fonctionnement - la période de temps entre le début de l'alimentation des contacts du relais et sa mise sous tension.
- Temps de relâchement - la période pendant laquelle l'armature du relais électromagnétique prendra sa position d'origine.
- Fréquence de commutation - le nombre de fois que le relais électromagnétique est déclenché dans l'intervalle de temps imparti.

Contact et sans contact
Conformément aux caractéristiques de conception des actionneurs, tous les relais électromagnétiques sont divisés en deux types :
- Contact - avoir un groupe de contacts électriques qui assurent le fonctionnement de l'élément dans le réseau électrique. La commutation est effectuée en raison de leur fermeture ou de leur ouverture. Ce sont des relais universels, utilisés dans presque tous les types de réseaux électriques automatisés.
- Sans contact - leur principale caractéristique en l'absence d'éléments de contact exécutifs. Le processus de commutation est effectué en ajustant les paramètres de tension, de résistance, de capacité et d'inductance.
Par portée
Classification des relais électromagnétiques selon le domaine de leur utilisation :
- circuits de contrôle;
- signalisation;
- systèmes automatiques de protection d'urgence (ESD, ESD).
Selon la puissance du signal de commande
Tous les types de relais électromagnétiques ont un certain seuil de sensibilité, ils sont donc divisés en trois groupes :
- faible puissance (moins de 1 W) ;
- puissance moyenne (jusqu'à 9 W);
- haute puissance (plus de 10 W).

Par vitesse de contrôle
Tout relais électromagnétique se distingue par la vitesse du signal de commande et est donc divisé en:
- Ajustable;
- lent;
- haute vitesse;
- sans inertie.
Par type de tension de commande
Les relais sont répartis dans les catégories suivantes :
- courant continu (DC);
- courant alternatif (CA).
La photo ci-dessous montre que la bobine indique la tension de fonctionnement de 24 VDC, c'est-à-dire 24 VDC.

Dispositif de relais général
Le circuit de relais le plus simple comprend une armature, des aimants et des éléments de connexion. Lorsqu'un courant est appliqué à l'électroaimant, l'armature se ferme avec le contact et l'ensemble du circuit se ferme davantage.
Lorsque le courant diminue jusqu'à une certaine valeur, la force de pression du ressort ramène l'armature à sa position d'origine, en conséquence, le circuit s'ouvre. Un fonctionnement plus précis de l'appareil est assuré par l'utilisation de résistances. Les condensateurs sont utilisés pour protéger contre les étincelles et les chutes de tension.
Dans la plupart des relais électromagnétiques, ce n'est pas une paire de contacts qui est installée, mais plusieurs. Cela permet de contrôler plusieurs circuits électriques à la fois.
Paramètres du produit
Les RP de différents types ont leur propre ensemble de paramètres en relation avec les caractéristiques techniques. Le besoin de certaines données se fait sentir en fonction des tâches assignées à l'appareil. Les principales caractéristiques responsables du fonctionnement normal du relais:
- sensibilité;
- courant (tension) de fonctionnement, libération, rétention ;
- facteur de sécurité;
- courant de fonctionnement ;
- résistance au bobinage ;
- Capacité de commutation;
- dimensions;
- isolation électrique.
Le RP est un composant important et intégral de la plupart des circuits du secteur de l'énergie. Une variété de modèles indique qu'un tel dispositif de commutation est capable de remplir pleinement de nombreuses fonctions dans n'importe quel circuit.
Caractéristiques de montage
En règle générale, l'installation d'un relais thermique est effectuée en conjonction avec un démarreur magnétique, qui effectue la commutation et le démarrage de l'entraînement électrique. Cependant, il existe également des appareils qui peuvent être installés en tant qu'appareils séparés côte à côte sur une plaque de montage ou un rail DIN, tels que TPH et PTT. Tout dépend de la disponibilité de la dénomination souhaitée dans le magasin, entrepôt ou garage le plus proche dans les "stocks stratégiques".



Les relais sont équipés de deux groupes de contacts, normalement fermés et normalement ouverts, qui sont signés sur le corps 96-95, 97-98. Dans l'image ci-dessous, le schéma structurel de la désignation selon GOST:

Considérez le schéma de l'article dans lequel un moteur triphasé tourne dans un sens et la mise sous tension est contrôlée d'un endroit par deux Boutons ARRÊT ET DÉMARRAGE.
La machine est allumée et la tension est fournie aux bornes supérieures du démarreur. Après avoir appuyé sur le bouton START, les bobines de démarrage A1 et A2 sont connectées au réseau L2 et L3. Ce circuit utilise un démarreur avec une bobine de 380 volts, recherchez l'option de connexion avec une bobine monophasée de 220 volts dans notre article séparé (lien ci-dessus).
La bobine active le démarreur et les contacts supplémentaires No(13) et No(14) se ferment, maintenant vous pouvez relâcher START, le contacteur restera activé. Ce schéma s'appelle "commencer par l'auto-ramassage". Maintenant, pour déconnecter le moteur du réseau, il est nécessaire de désexciter la bobine. En suivant le cheminement du courant selon le schéma, nous voyons que cela peut se produire lorsque STOP est enfoncé ou que les contacts du relais thermique sont ouverts (mis en évidence par un rectangle rouge).
C'est-à-dire qu'en cas d'urgence, lorsque l'unité de chauffage fonctionne, elle coupe le circuit et retire le démarreur de l'auto-démarrage, désactivant le moteur du réseau. Si ce dispositif de contrôle de courant est déclenché, avant de redémarrer, il est nécessaire d'inspecter le mécanisme pour déterminer la cause du déclenchement et de ne pas l'allumer tant qu'il n'est pas éliminé. Souvent, la raison de l'opération est une température ambiante extérieure élevée, ce moment doit être pris en compte lors du fonctionnement des mécanismes et de leur mise en place.
Le champ d'application domestique des relais thermiques ne se limite pas aux machines artisanales et autres mécanismes. Il serait correct de les utiliser dans le système de contrôle actuel de la pompe à chaleur. La spécificité du fonctionnement de la pompe de circulation est que du calcaire se forme sur les aubes et la volute, ce qui peut provoquer le blocage et la panne du moteur. En utilisant les schémas de connexion ci-dessus, vous pouvez assembler une unité de contrôle et de protection de la pompe. Il suffit de définir la dénomination requise de la chaudière de chauffage dans le circuit d'alimentation et de connecter les contacts.
De plus, il sera intéressant de connecter un relais thermique via des transformateurs de courant pour des moteurs puissants, comme une pompe pour un système d'irrigation d'eau pour des chalets d'été ou des fermes.Lors de l'installation de transformateurs dans le circuit de puissance, le rapport de transformation est pris en compte, par exemple, 60/5 est avec un courant traversant l'enroulement primaire de 60 ampères, sur l'enroulement secondaire, il sera égal à 5A. L'utilisation d'un tel schéma vous permet d'économiser sur les composants, sans perdre de performances.
Comme vous pouvez le voir, les transformateurs de courant sont surlignés en rouge, qui sont connectés à un relais de contrôle et à un ampèremètre pour une clarté visuelle des processus en cours. Les transformateurs sont connectés en étoile, avec un point commun. Un tel schéma n'est pas très difficile à mettre en œuvre, vous pouvez donc l'assembler vous-même et le connecter au réseau.
Enfin, nous vous recommandons de regarder une vidéo qui montre clairement le processus de connexion d'un relais thermique à un démarreur magnétique pour protéger le moteur :
C'est tout ce que vous devez savoir sur la connexion d'un thermique relais à faire soi-même. Comme vous pouvez le voir, l'installation n'est pas particulièrement difficile, l'essentiel est d'établir correctement un schéma pour connecter tous les éléments du circuit!
Il sera intéressant de lire :
- Quelle est la différence entre un contacteur et un démarreur magnétique
- Qu'est-ce que la protection de relais
- Comment assembler un blindage triphasé
Types de DME
L'EMR peut être alimenté en courant continu et alternatif. Les relais du premier type sont neutres (NEMR) ou polarisés (PEMR).
La conception du relais électromagnétique neutre
En TEMP, le mouvement de l'induit, et, par conséquent, la fermeture des groupes de contacts, dépend de la polarité de la tension sur l'enroulement. NEMR fonctionne avec n'importe quelle polarité du signal de la même manière.
Selon la conception, l'EMR peut être hermétique, ouvert et gainé (avec possibilité de retirer le couvercle).
Les EMR diffèrent également par les types de contact, qui peuvent être normalement ouverts, normalement fermés ou inverseurs.
Ces derniers se composent de trois plaques et la plaque médiane est mobile. Lorsqu'il est déclenché, un contact est rompu et l'autre est fermé par cette plaque mobile.
Types et types de circuits électriques
Bobine d'un dispositif électromécanique qui accélère lorsqu'elle est actionnée et relâchée
Près du rectangle ou dans le rectangle, il est permis d'indiquer les valeurs caractérisant l'enroulement, par exemple, une bobine à deux enroulements, la résistance de chaque Ohm 2. Des signes supplémentaires permettent de trouver sur le schéma des contacts de boutons de commande, relais temporisés, fins de course, etc.
Pour changer la position des contacts, il est nécessaire de changer la polarité de l'alimentation en tension de l'enroulement. Lors de la connexion d'une charge aux contacts de relais, vous devez connaître la puissance pour laquelle ils sont conçus. Si la bobine est connectée à une source de courant, le champ magnétique résultant magnétise le noyau.
C'étaient les caractéristiques de puissance du relais, ou plutôt de ses contacts. E - Connexion électrique avec le corps de l'appareil. Une partie de K1 est un symbole pour une bobine électromagnétique. Les inscriptions suivantes sont inscrites sur son corps.
Recommandé : Comment réparer un électricien
Le principe de fonctionnement du relais est clairement illustré par le schéma suivant. En règle générale, les dimensions des relais eux-mêmes permettent d'appliquer leurs principaux paramètres au boîtier. Avec la tige et l'armature, la culasse forme un circuit magnétique.
Paramètres des relais électromagnétiques. Bobine d'un appareil électromécanique avec deux enroulements identiques opposés enroulement bifilaire 7. Types et types. Bobine du dispositif électromécanique à courant triphasé 9.
Le relais fonctionnera et ses contacts sont K1.Il est pratique de dessiner des appareils dans AutoCAD à l'aide de blocs dynamiques. En l'absence d'informations supplémentaires dans le champ principal, il est permis d'indiquer des données clarifiantes dans ce champ, par exemple une bobine d'un appareil électromécanique avec un enroulement de courant minimum Il peut être en métal ou en plastique.
Sa base est une bobine constituée d'un grand nombre de spires de fil isolé. Les paramètres électriques de certains éléments peuvent être affichés directement dans le document, ou présentés séparément sous forme de tableau.
Comment lire les schémas électriques
Conclusions et vidéo utile sur le sujet
Le principe de fonctionnement d'un relais électromagnétique, là où ils sont utilisés, prend également en compte les principaux indicateurs de la fiabilité des appareils. Plus dans la vidéo :
Après avoir choisi le modèle nécessaire de l'appareil, nous procédons à sa connexion et à sa configuration. Les principales nuances sont décrites dans l'intrigue présentée:
Les développements technologiques dans la conception des relais intermédiaires ont toujours visé à réduire le poids et les dimensions, ainsi qu'à augmenter le degré de fiabilité et la facilité d'installation des appareils. En conséquence, de petits contacteurs ont commencé à être placés dans un boîtier étanche rempli d'oxygène comprimé ou avec l'ajout d'hélium.
De ce fait, les éléments internes ont une durée de vie plus longue, exécutant en douceur toutes les commandes assignées.
Racontez-nous comment vous avez choisi un dispositif de déconnexion intermédiaire pour votre réseau électrique domestique. Partagez vos propres critères de sélection. Veuillez écrire des commentaires dans le bloc ci-dessous, publier des photos sur le sujet de l'article, poser des questions.































