- Comment fonctionne un générateur électrique
- Ce que c'est
- Construction d'une éolienne rotative
- La procédure de finalisation des enroulements
- Méthode du fil zéro
- La légalité de l'installation d'une éolienne
- Principes de bricolage pour la fabrication de pales pour une éolienne
- Matériaux et outils
- Dessins et calculs
- Production à partir de tuyaux en plastique
- Fabrication de lames à partir de billettes d'aluminium
- vis en fibre de verre
- Comment fabriquer une lame en bois ?
- Comment construire un générateur d'énergie gratuite de vos propres mains?
- Variétés de générateurs d'électricité
- Option #1 - générateur asynchrone
- Option # 2 - appareil avec aimants
- Option #3 - générateur de vapeur
- Option # 4 - appareil de chauffage au bois
- Préparation de la bobine
- Le dispositif et le principe de fonctionnement du générateur de gaz
- Les principales étapes du fonctionnement d'un générateur de gaz
- Générateur d'essence maison: avantages et inconvénients
- Comment obtenir de l'énergie de l'éther de vos propres mains?
- Principe d'opération
- Détecteur de métaux pour smartphone
- Aimants de montage
- Résumé
- Conclusion
Comment fonctionne un générateur électrique
Le principe de fonctionnement du générateur électrique repose sur le phénomène physique de l'induction électromagnétique. Un conducteur traversant un champ électromagnétique créé artificiellement crée une impulsion qui est convertie en courant continu.
Le générateur est doté d'un moteur capable de générer de l'électricité en brûlant un certain type de carburant dans ses compartiments : essence, gaz ou carburant diesel. À son tour, le carburant entrant dans la chambre de combustion produit pendant le processus de combustion un gaz qui fait tourner le vilebrequin. Ce dernier transmet une impulsion à l'arbre mené, qui est déjà capable de fournir une certaine quantité d'énergie en sortie.
Le principe de fonctionnement de l'appareil est assez simple, mais exactement tant qu'il n'est pas nécessaire de considérer chaque processus individuel. Il faut comprendre que la loi de Faraday sur les principes de l'induction magnétique, qui est utilisée dans un générateur électrique, ne donnera le résultat souhaité que lorsque certaines conditions seront créées. Le principal est le calcul correct et la connexion des principales unités structurelles.
Indépendamment du carburant et de la puissance consommés, les générateurs électriques ont deux mécanismes fondamentaux : un rotor et un stator. Le rotor est nécessaire pour créer un champ électromagnétique, il est donc basé sur des aimants équidistants du noyau. Le stator est fixe, permet de mettre le rotor en mouvement et régule également le champ électromagnétique, grâce à la présence de blocs métalliques en acier.
L'option de fabrication de générateurs électriques à faire soi-même est présentée dans la vidéo
Ce que c'est
Le terme même "d'énergie gratuite" est apparu même lorsque les moteurs à combustion interne ont été introduits à grande échelle, lorsque le problème de l'obtention des quantités d'énergie requises dépendait du charbon consommé. Les produits du bois et du pétrole ont également été pris en compte. Par énergie libre, il est d'usage d'entendre une telle force, pour la production de laquelle il n'est pas nécessaire de dépenser une grande quantité de carburant. Cela signifie qu'aucune ressource n'est requise.Y compris lorsqu'ils créent un transgénérateur auto-alimenté.
Maintenant, ils créent des générateurs sans carburant qui mettent en œuvre de tels programmes. Certains d'entre eux ont commencé à fonctionner il y a longtemps, recevant de l'énergie du soleil et du vent, et d'autres phénomènes naturels similaires. Mais il existe d'autres concepts visant à contourner la loi de conservation de l'énergie.

Installation Tesla
Construction d'une éolienne rotative
Aujourd'hui, il existe un grand nombre de modèles de travail indépendant. Mais à titre d'exemple, il convient de considérer une installation rotative avec un type de rotation verticale. Matériel nécessaire pour le travail :
- Un vieux tonneau ou tambour en métal avec une machine à laver cassée.
- Générateur automobile.
- Batterie acide (si vous le souhaitez, un modèle de batterie à l'hélium peut être utilisé dans le travail).
- Interrupteur à bouton.
- Pinces, fils, boulons, écrous.
- Relais de la voiture pour contrôler la charge de la batterie.
- Le bulgare est nécessaire pour couper les surfaces métalliques. Dans certains endroits difficiles d'accès, des ciseaux métalliques seront nécessaires.
- Un ensemble d'outils supplémentaires: un crayon de construction et un ruban à mesurer pour le marquage, un ensemble de perceuses, des tournevis.
Vous aurez également besoin d'une pièce pour le montage du mât, dont la hauteur ne dépasse pas 15 mètres. Les lames peuvent être réalisées en deux variantes différentes : modèles amovibles et continus.
La procédure de finalisation des enroulements
Avant de fabriquer un générateur à partir d'un moteur asynchrone, vous devez traiter ses bobines de stator, interconnectées et incluses dans la ligne d'alimentation selon un certain schéma.
Informations Complémentaires. Pour le raccordement classique des mécanismes asynchrones, deux types d'enroulements statoriques sont utilisés : selon le schéma dit "étoile" ou "triangle".
Dans le premier cas, les trois bobines linéaires (A, B et C) d'une part sont combinées en un fil neutre commun, tandis que leurs secondes extrémités sont connectées à des lignes triphasées. Lorsqu'il est allumé par un «triangle», la fin d'une bobine est connectée au début de la seconde, et sa fin, à son tour, au début du troisième enroulement, et ainsi de suite jusqu'à ce que la chaîne se ferme.
À la suite d'une telle connexion, une figure géométrique régulière est formée, dont les sommets correspondent à des fils triphasés, et il n'y a pas de fil neutre du tout.
Pour des raisons de facilité d'installation et de sécurité de fonctionnement dans les circuits domestiques, une connexion en étoile est généralement sélectionnée, ce qui permet d'organiser une mise à la terre de protection locale (répétée).
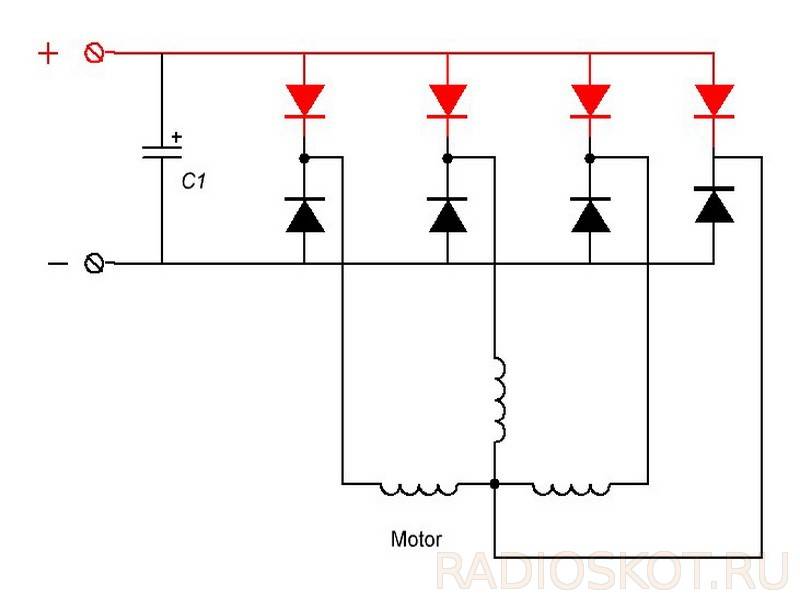
Lors de la modification du moteur, retirez le couvercle de la boîte de jonction et accédez aux bornes qui, dans des conditions normales, reçoivent une tension d'alimentation triphasée. En mode générateur, ces contacts doivent être connectés à la ligne d'alimentation avec des consommateurs domestiques triphasés qui y sont connectés.
Pour organiser une alimentation monophasée (lignes de sortie et circuits d'éclairage, en particulier), ils devront être connectés à une extrémité au contact de phase sélectionné A, B ou C, et à l'autre - à un fil neutre commun. L'ordre de connexion des fils à un moteur asynchrone est illustré dans la figure suivante.
Ainsi, un générateur de bricolage assemblé à partir d'un moteur triphasé sera chargé sur tous les circuits d'alimentation et les consommateurs finaux recevront la puissance standard à laquelle ils ont droit.
Méthode du fil zéro
La tension est fournie à un immeuble résidentiel à l'aide de deux conducteurs: l'un d'eux est une phase, le second est nul.Si la maison est équipée d'une boucle souterraine de qualité, pendant une période de consommation électrique intensive, une partie du courant passe par le sol dans le sol. En connectant une ampoule 12 V au fil neutre et à la masse, vous la ferez briller, puisque la tension entre les contacts zéro et masse peut atteindre 15 V. Et ce courant n'est pas fixé par le compteur électrique.

Prélèvement d'électricité à l'aide d'un fil neutre
Le circuit, assemblé selon le principe du zéro - consommateur d'énergie - terre, fonctionne parfaitement. Si vous le souhaitez, un transformateur peut être utilisé pour égaliser les fluctuations de tension. L'inconvénient est l'instabilité de l'apparition de l'électricité entre le zéro et la terre - cela oblige la maison à consommer beaucoup d'électricité.
Malgré le fait qu'un tel système utilise la terre pour le travail, il ne peut être attribué à la source d'électricité terrestre. Comment extraire l'énergie en utilisant le potentiel électromagnétique de la planète reste ouvert.
La légalité de l'installation d'une éolienne
Les sources d'énergie alternatives sont le rêve de tout résident estival ou propriétaire dont le site est situé loin des réseaux centraux. Cependant, lorsque nous recevons des factures d'électricité consommée dans un appartement en ville, et en regardant les tarifs majorés, nous nous rendons compte qu'une éolienne créée pour les besoins domestiques ne nous ferait pas de mal.
Après avoir lu cet article, vous réaliserez peut-être votre rêve.
Une éolienne est une excellente solution pour alimenter en électricité une installation périurbaine. De plus, dans certains cas, son installation est la seule issue possible.
Afin de ne pas perdre d'argent, d'efforts et de temps, décidons : y a-t-il des circonstances extérieures qui nous créeront des obstacles dans le processus d'exploitation d'une éolienne ?
Pour fournir de l'électricité à une datcha ou à un petit chalet, une petite centrale éolienne suffit, dont la puissance ne dépassera pas 1 kW. De tels appareils en Russie sont assimilés à des produits ménagers. Leur installation ne nécessite pas de certificats, de permis ou d'approbations supplémentaires.
Afin de déterminer la faisabilité de l'installation d'une éolienne, il est nécessaire de connaître le potentiel éolien d'une zone particulière (cliquer pour agrandir)
Cependant, au cas où, vous devriez demander s'il existe des réglementations locales concernant l'alimentation en énergie individuelle qui pourraient créer des obstacles à l'installation et au fonctionnement de cet appareil.
Des réclamations peuvent provenir de vos voisins s'ils subissent des inconvénients liés au fonctionnement de l'éolienne. Rappelez-vous que nos droits s'arrêtent là où commencent les droits des autres.
Par conséquent, lors de l'achat ou de l'auto-fabrication d'une éolienne pour une maison, vous devez porter une attention particulière aux paramètres suivants:
Hauteur du mât. Lors de l'assemblage d'une éolienne, il est nécessaire de prendre en compte les restrictions de hauteur des bâtiments individuels qui existent dans un certain nombre de pays du monde, ainsi que l'emplacement de votre propre site. Sachez qu'à proximité des ponts, des aéroports et des tunnels, les bâtiments de plus de 15 mètres de haut sont interdits.
Bruit de la boîte de vitesses et des lames. Les paramètres du bruit généré peuvent être réglés à l'aide d'un appareil spécial, après quoi les résultats de mesure peuvent être documentés
Il est important qu'ils ne dépassent pas les normes de bruit établies.
Interférence d'éther. Idéalement, lors de la création d'un moulin à vent, une protection contre les télé-interférences doit être fournie là où votre appareil peut causer de tels problèmes.
revendications environnementales. Cet organisme ne peut vous empêcher d'exploiter l'installation que si elle interfère avec la migration des oiseaux migrateurs. Mais c'est peu probable.
Lors de la création et de l'installation de l'appareil vous-même, apprenez ces points et lors de l'achat d'un produit fini, faites attention aux paramètres qui figurent dans son passeport. Il vaut mieux se protéger à l'avance que de s'énerver plus tard.
- L'opportunité d'une éolienne se justifie principalement par une pression du vent suffisamment élevée et stable dans la région;
- Il est nécessaire d'avoir une surface suffisamment grande, dont la surface utile ne sera pas réduite de manière significative en raison de l'installation du système;
- En raison du bruit accompagnant les travaux de l'éolienne, il est souhaitable qu'il y ait au moins 200 m entre l'habitation des voisins et l'installation ;
- L'augmentation constante du coût de l'électricité plaide de manière convaincante en faveur d'une éolienne ;
- L'installation d'une éolienne n'est possible que dans les zones où les autorités n'interfèrent pas, mais encouragent plutôt l'utilisation d'énergies vertes ;
- S'il y a des interruptions fréquentes dans la zone de construction de la mini centrale éolienne, l'installation minimise les inconvénients ;
- Le propriétaire du système doit être préparé au fait que les fonds investis dans le produit fini ne seront pas immédiatement rentables. L'effet économique peut devenir tangible dans 10 à 15 ans ;
- Si la récupération du système n'est pas au dernier moment, vous devriez penser à construire une mini centrale électrique de vos propres mains.
Principes de bricolage pour la fabrication de pales pour une éolienne
Souvent, la principale difficulté est de déterminer les dimensions optimales, puisque ses performances dépendent de la longueur et de la forme des pales de l'éolienne.
Matériaux et outils
Les matériaux suivants constituent la base :
- contreplaqué ou bois sous une autre forme;
- feuilles de fibre de verre;
- aluminium laminé;
- Tuyaux en PVC, composants pour canalisations en plastique.
Lames pour éolienne à faire soi-même
Choisissez un type de ce qui est disponible sous forme de résidus après réparation, par exemple. Pour leur traitement ultérieur, vous aurez besoin d'un marqueur ou d'un crayon pour dessiner, d'une scie sauteuse, de papier de verre, de ciseaux métalliques, d'une scie à métaux.
Dessins et calculs
Si nous parlons de générateurs de faible puissance, dont les performances ne dépassent pas 50 watts, une vis est faite pour eux selon le tableau ci-dessous, c'est lui qui est capable de fournir des vitesses élevées.
Ensuite, une hélice tripale à basse vitesse est calculée, qui a un taux de démarrage élevé. Cette partie servira pleinement les générateurs à grande vitesse, dont les performances atteignent 100 watts. La vis fonctionne en tandem avec des moteurs pas à pas, des moteurs basse tension basse puissance, des générateurs de voiture à aimants faibles.
Du point de vue de l'aérodynamique, le dessin de l'hélice devrait ressembler à ceci :
Production à partir de tuyaux en plastique
Les tuyaux d'égout en PVC sont considérés comme le matériau le plus pratique; avec un diamètre de vis final allant jusqu'à 2 m, des pièces d'un diamètre allant jusqu'à 160 mm conviennent.Le matériel attire avec facilité de traitement, coût abordable, omniprésence et abondance de dessins, schémas déjà développés
Il est important de choisir un plastique de haute qualité pour éviter la fissuration des lames.
Le produit le plus pratique, qui est une gouttière lisse, il suffit de le couper conformément au dessin. La ressource n'a pas peur de l'exposition à l'humidité et est peu exigeante en soins, mais peut devenir cassante à des températures inférieures à zéro.
Fabrication de lames à partir de billettes d'aluminium
Ces vis se caractérisent par leur durabilité et leur fiabilité, elles résistent aux influences extérieures et sont très durables. Mais gardez à l'esprit qu'ils s'avèrent plus lourds en conséquence, par rapport aux roues en plastique, la roue dans ce cas est soumise à un équilibrage scrupuleux. Malgré le fait que l'aluminium soit considéré comme assez malléable, le travail du métal nécessite la présence d'outils pratiques et un minimum de compétences pour les manipuler.
La forme d'approvisionnement en matériau peut compliquer le processus, car une feuille d'aluminium commune ne se transforme en lames qu'après avoir donné aux pièces un profil caractéristique; à cet effet, un gabarit spécial doit d'abord être créé. De nombreux concepteurs novices plient d'abord le métal le long du mandrin, après quoi ils passent au marquage et à la découpe d'ébauches.
Lames en aluminium usiné
Les lames en aluminium présentent une résistance élevée aux charges, ne réagissent pas aux phénomènes atmosphériques et aux changements de température.
vis en fibre de verre
Il est préféré par les experts, car le matériau est capricieux et difficile à traiter. Séquençage :
- découpez un gabarit en bois, frottez-le avec du mastic ou de la cire - le revêtement doit repousser la colle;
- d'abord, la moitié de la pièce est fabriquée - le gabarit est enduit d'une couche d'époxy, la fibre de verre est posée sur le dessus. La procédure est répétée rapidement jusqu'à ce que la première couche ait eu le temps de sécher. Ainsi, la pièce reçoit l'épaisseur requise;
- effectuer la seconde mi-temps de la même manière ;
- lorsque la colle durcit, les deux moitiés peuvent être jointes avec de l'époxy en meulant soigneusement les joints.
L'extrémité est équipée d'un manchon, à travers lequel le produit est connecté au moyeu.
Comment fabriquer une lame en bois ?
C'est une tâche difficile en raison de la forme spécifique du produit, de plus, tous les éléments de travail de la vis doivent finalement s'avérer identiques. L'inconvénient de la solution reconnaît également la nécessité d'une protection ultérieure de la pièce contre l'humidité, pour cela elle est peinte, imprégnée d'huile ou d'huile siccative.
Le bois n'est pas souhaitable comme matériau pour une éolienne, car il a tendance à se fissurer, à se déformer et à pourrir. En raison du fait qu'il donne et absorbe rapidement de l'humidité, c'est-à-dire qu'il change de masse, l'équilibre de la roue est ajusté arbitrairement, cela affecte négativement l'efficacité de la conception.
Comment construire un générateur d'énergie gratuite de vos propres mains?
Les générateurs sont créés sur la base des composants et appareils suivants:
- Une batterie et une résistance d'une valeur nominale de 2,2 KOM. Il doit être inclus dans le dessin.
- Anneau de ferrite de toute conductivité magnétique.
- Condensateur d'une capacité de 0,22 microfarads, conçu pour des tensions jusqu'à 250 volts.
- Bus en cuivre épais, dont le diamètre est d'environ 2 millimètres. De plus, des fils de cuivre minces sont pris dans une isolation en émail, d'un diamètre de 0,01 mm.Ensuite les installations radiantes donnent le résultat.
- Un tube en plastique ou en carton, dont le diamètre est de 1,5 à 2,5 centimètres.
- Tout transistor avec des paramètres appropriés. Eh bien, si dans la configuration de base, en plus du générateur, il y aura une instruction supplémentaire. Sinon, il est impossible de s'engager dans la mise en œuvre de schémas pratiques pour les générateurs d'énergie gratuite auto-alimentés.
Intéressant. Dans le cas d'un découplage supplémentaire entre les circuits d'alimentation et haute tension, un filtre d'entrée spécial est utilisé. Vous ne pouvez pas mettre un tel appareil, mais appliquer directement la tension.
Pour le montage, vous pouvez utiliser une planche en fibre de verre ou une autre base aux caractéristiques similaires. L'essentiel est que la surface contienne un radiateur avec tous les accessoires nécessaires. Les deux bobines sont enroulées sur un tube en plastique de sorte que l'une soit placée à l'intérieur de l'autre. Une bobine à bobine est enroulée avec un enroulement haute tension, également situé à l'intérieur. Parfois, cela est également requis par les générateurs d'électricité sans carburant à impulsions faits maison.
La forme des impulsions générées doit être vérifiée pour l'opérabilité lorsque l'assemblage est terminé. Pour cela, munissez-vous d'un oscilloscope, numérique ou électronique
Lors de la configuration, vous devez faire attention à un seul paramètre important - la présence de bords raides qui distinguent la séquence générée de contacts rectangulaires
Générateurs sans carburant
Variétés de générateurs d'électricité
Habituellement, un générateur fait maison à la maison est fabriqué sur la base d'un moteur asynchrone, magnétique, à vapeur, au feu de bois.
Option #1 - générateur asynchrone
L'appareil pourra générer une tension de 220-380 V, en fonction des performances du moteur sélectionné.
Pour assembler un tel générateur, il suffit de démarrer un moteur asynchrone en connectant des condensateurs aux enroulements.
Le générateur basé sur un moteur asynchrone se synchronise, démarre les enroulements du rotor avec un champ magnétique constant.

Le moteur est équipé d'un rotor avec un enroulement triphasé ou monophasé, une entrée de câble, un dispositif de court-circuit, des balais, un capteur de commande
Si le rotor est du type à cage d'écureuil, alors les bobinages sont excités à l'aide de la force d'aimantation résiduelle.
Option # 2 - appareil avec aimants
Pour un générateur magnétique, un collecteur, un moteur pas à pas (synchrone sans balai) et autres conviennent.
L'enroulement avec un grand nombre de pôles augmente l'efficacité. En comparaison avec le circuit classique (où le rendement est de 0,86), le bobinage à 48 pôles permet de rendre la puissance du générateur plus
Lors du processus d'assemblage, les aimants sont montés sur un axe rotatif et installés dans une bobine rectangulaire. Ce dernier génère un champ électrostatique lors de la rotation des aimants.
Option #3 - générateur de vapeur
Pour un générateur de vapeur, un four avec un circuit d'eau est utilisé. L'appareil fonctionne grâce à l'énergie thermique de la vapeur et des aubes de turbine.
Pour fabriquer vous-même un générateur de vapeur, vous aurez besoin d'un four avec un circuit d'eau (refroidissement)
Il s'agit d'un système fermé avec une usine massive et non mobile nécessitant un contrôle et un circuit de refroidissement pour convertir la vapeur en eau.
Option # 4 - appareil de chauffage au bois
Pour un générateur à bois, des poêles sont utilisés, y compris ceux de camping. Des éléments Peltier sont fixés aux parois des fours et la structure est placée dans le boîtier du radiateur.
Le principe de fonctionnement du générateur est le suivant : lorsque la surface des plaques conductrices est chauffée d'un côté, l'autre est refroidie.
Pour fabriquer vous-même un générateur à bois, vous pouvez utiliser n'importe quel poêle. Le générateur est alimenté par des éléments Peltier qui chauffent et refroidissent les plaques conductrices.
Un courant électrique apparaît aux pôles des plaques. La plus grande différence entre les températures des plaques fournit au générateur une puissance maximale.
L'unité est plus efficace à des températures inférieures à zéro.
Préparation de la bobine
Idéalement, vous devez effectuer un calcul détaillé des paramètres des bobines. Mais, pour un groupe électrogène de faible puissance fonctionnant à bas régime, un calcul approximatif peut également être effectué. Pour cet appareil, les bobines sont suffisantes, dans lesquelles le nombre total de tours sera compris entre 1000 et 1200.
Pour augmenter la puissance, augmentez le nombre de pôles. Fabriquez des bobines en utilisant des fils épais pour minimiser la résistance et, par conséquent, augmenter l'intensité du courant.
Après avoir assemblé le générateur, il doit être vérifié. Pour ce faire, il n'est pas nécessaire de fixer l'appareil au moulin à vent. Connectez-y simplement des appareils de mesure et essayez de le faire pivoter manuellement.
Le dispositif et le principe de fonctionnement du générateur de gaz
Toutes les alimentations autonomes fonctionnent sur le principe de la conversion d'une énergie en une autre.
La conception du générateur de gaz se compose de trois parties :
- Moteur à essence à combustion interne. Les unités de faible puissance sont équipées d'un moteur à deux temps et les unités puissantes sont équipées d'un moteur à quatre temps.
- Générateur de courant.
- Bloc de modulation électrique.
Tous les éléments sont montés sur un seul support. En plus des pièces principales, le générateur à essence est équipé d'éléments supplémentaires:
- élément combustible.
- la batterie.
- Démarreur manuel.
- Filtre à air.
- Silencieux.
Les principales étapes du fonctionnement d'un générateur de gaz
- L'essence est versée dans le réservoir du générateur.
- Dans le moteur, après avoir brûlé du carburant carbonique, du gaz se forme. Il fait tourner le vilebrequin avec le volant.
- Tournant, le vilebrequin transmet la puissance à l'arbre du générateur.
- Lorsque la rotation à haute fréquence de l'enroulement primaire est atteinte, les flux magnétiques sont décalés - les charges sont redistribuées.
- Des potentiels de l'amplitude requise sont créés à différents pôles. Cependant, pour obtenir du courant alternatif, à partir duquel les appareils industriels et ménagers peuvent fonctionner, un dispositif supplémentaire est nécessaire - une unité de modulation électrique. Vous pouvez utiliser un transformateur ou un onduleur.
- Grâce à l'onduleur, vous pouvez amener la tension à la valeur requise - 220 V avec une fréquence de 50 Hz. En plus de l'objectif principal, à l'aide d'une unité de modulation électrique, les surtensions et les interférences impulsives sont supprimées. L'unité surveille également les fuites de courant. Le bloc protège l'unité contre les courts-circuits et les surcharges.
Générateur d'essence maison: avantages et inconvénients
Certains experts affirment que si un générateur à essence est assemblé avec soin et compétence, il durera aussi longtemps que son homologue d'usine. Ils fournissent les arguments suivants à leur appui :
- modernisation possible - l'appareil peut être ajusté à tout moment pour répondre à vos propres besoins;
- économies - par exemple, pour l'achat d'un générateur de gaz assemblé en usine de petite capacité (0,75–1 kW), vous devrez dépenser de 9 000 à 12 000 roubles;
- satisfaction du projet réalisé.
Les tenants du montage en usine sont sceptiques sur les modèles « artisanaux » et les contre-arguments, arguant des défauts des produits faits maison :
- Les économies pratiques liées à l'assemblage des générateurs sont négligeables.L'achat séparé de pièces d'un groupe électrogène à essence coûtera très cher. Pour assembler le générateur, il est préférable d'utiliser les pièces d'appareils inutiles.
- Il est difficile de trouver un moteur et un générateur qui ont des paramètres optimaux.
- Pour fabriquer un groupe électrogène à essence, vous devez avoir des connaissances, des compétences particulières et être capable de travailler avec des outils. La mise en œuvre du projet lui-même peut prendre beaucoup de temps.
- Les générateurs de gaz assemblés en usine sont équipés d'un autodiagnostic - cette unité surveille les paramètres de fonctionnement de l'appareil. De plus, le générateur comprend un dispositif de démarrage automatique - l'unité commence à fonctionner dès que l'électricité est perdue dans le réseau. De plus, le générateur de gaz peut être équipé d'autres dispositifs supplémentaires qui ne sont pas disponibles dans les modèles "artisanaux".
- Contrairement aux générateurs à essence faits maison en usine, ils ont généralement des dimensions et un poids importants.
Comment obtenir de l'énergie de l'éther de vos propres mains?
Les flux éthérés microquantiques dans de nombreux générateurs de ce type sont les principales sources d'énergie pour les générateurs. Vous pouvez essayer de connecter des systèmes via des condensateurs, des batteries au lithium. Vous pouvez choisir différents matériaux en fonction des indicateurs qu'ils donnent. Ensuite, le nombre de kW sera différent.
Jusqu'à présent, l'énergie libre est un phénomène peu étudié en pratique. Par conséquent, il existe de nombreuses lacunes dans la conception des générateurs. Seules des expériences pratiques aident à trouver la réponse à la plupart des questions. Mais de nombreux grands fabricants d'appareils électroniques s'intéressent déjà à cette direction.
Vous serez intéressé par ce qu'est la phase et le zéro en électricité
Principe d'opération
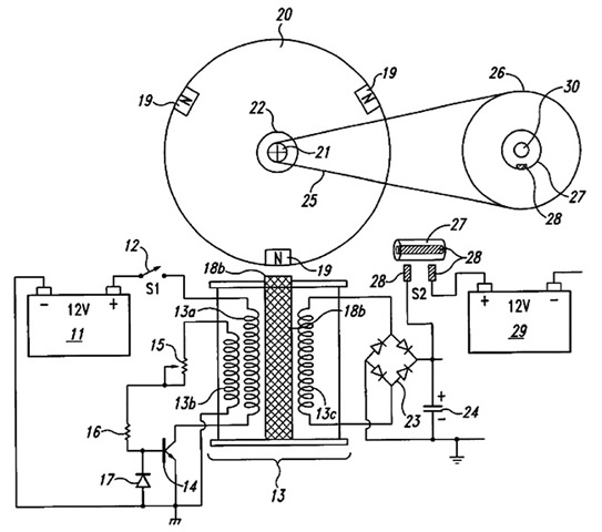
Dans les générateurs de gaz industriels à faible coût, le réglage de la fréquence et de la tension s'effectue en deux étapes. La première étape est mécanique. Le principe de son fonctionnement repose sur le fait que lorsque la charge électrique augmente, le régime moteur diminue. Le capteur de régime moteur est relié mécaniquement à l'accélérateur du carburateur, de sorte que tout changement de vitesse est compensé en ajustant automatiquement la position de l'accélérateur. La deuxième étape de réglage est effectuée électroniquement. La figure ci-dessus montre un schéma d'un générateur de gaz bon marché typique.
Le principe de fonctionnement de la stabilisation électronique de la vitesse repose sur la dépendance de la résistance du condensateur à la fréquence du courant. Le schéma montre un enroulement stabilisateur (L3) chargé sur un condensateur (C1). En fonctionnement à charge nominale, la tension de sortie est de 220 V avec une fréquence de 50 Hz. Étant donné que la fréquence de la tension de sortie dépend directement du nombre de tours par seconde, une modification de la vitesse de rotation du rotor du générateur entraîne une modification sans ambiguïté de la fréquence de la tension sur tous les enroulements du générateur.
La résistance d'un condensateur dépend de la fréquence de la tension appliquée. Plus la fréquence est élevée, plus la résistance est faible. En conséquence, le courant traversant l'enroulement de stabilisation varie en fonction de la charge sur le générateur. Avec une diminution de la charge, le nombre de tours augmente, respectivement, la fréquence augmente et la résistance du condensateur diminue. Le courant traversant l'enroulement (L3) augmente et sa valeur de freinage sur le rotor du générateur augmente. De cette manière, le réglage de la vitesse se produit de manière continue et instantanée pendant le fonctionnement du générateur.
La stabilisation électrique fonctionne dans une petite plage de changements, de sorte que la fonction de réglage principale est attribuée au régulateur mécanique. Ici, la plage de réglages est beaucoup plus large, mais au détriment de la réactivité. Le moteur à combustion interne a une inertie et le changement du nombre de tours est un peu en retard lors du réglage de l'accélérateur (cette caractéristique du moteur s'appelle la réponse de l'accélérateur). Des sauts de charge soudains peuvent faire osciller le système de réglage.
Il est difficile de fabriquer soi-même un tel système de contrôle, et le système électronique nécessite une modification du générateur. L'avantage d'un tel schéma de commande est d'obtenir une tension sinusoïdale avec une distorsion de forme d'onde minimale.
Des générateurs plus complexes sont réalisés selon le circuit onduleur à double conversion (Fig. ci-dessous).

Générateur d'essence à onduleur
La tension alternative du générateur est fournie au redresseur, puis au convertisseur à transistor, à la sortie duquel une tension stabilisée de la valeur requise est obtenue. La présence d'un redresseur supprime les restrictions sur la stabilité de la fréquence du générateur et le convertisseur à transistor génère des tensions quelle que soit la charge. L'inconvénient des générateurs onduleurs est leur coût élevé et la distorsion de la forme d'onde de la tension de sortie.
Détecteur de métaux pour smartphone
Le principe de fonctionnement d'un détecteur de métaux depuis un smartphone

Un simple détecteur de métaux à faire soi-même peut être obtenu à partir d'un smartphone. Les téléphones Android ont une boussole numérique intégrée. Chaque objet métallique perturbe le champ magnétique autour du téléphone afin que le téléphone puisse déterminer s'il y a du métal à proximité.Ce serait une solution assez intelligente si ce n'était pour un cas exceptionnel - les aimants.

Les aimants ont un champ magnétique assez fort autour des smartphones, donc le programme commence à devenir fou dès que le gadget s'approche d'un objet magnétisé.

Sans surprise, la valeur de champ minimale dans l'un de ces programmes est d'environ 40 microtesla, car le haut-parleur du téléphone possède également un aimant.

Ce qu'il faudra :
- 1 smartphone
- 1 perche à selfie

Aimants de montage
Les aimants doivent être fixés sur les disques du rotor. Pour un moyeu standard, 20 aimants de taille 25x8 mm suffiront. Les aimants doivent être disposés avec des pôles alternés.
Il est préférable de créer un gabarit en papier, qui est attaché au disque, et des aimants sont placés dessus.
Idéalement, des aimants rectangulaires devraient être utilisés. Avant d'appliquer, marquez chaque aimant aux pôles afin de ne pas vous tromper lors de l'alternance.
Les côtés attractifs sont "+", les répulsifs sont "-". Les aimants doivent être fixés avec de la colle fiable. Pour une fixation supplémentaire par le haut, ils doivent être remplis de résine époxy.
Résumé
Eh oui, épargner aujourd'hui est devenu « à la mode » ! L'introduction rapide de technologies énergétiques fondamentalement nouvelles à l'avenir permettra aux gens d'abandonner l'utilisation des centrales nucléaires, thermiques, à essence, diesel et à turbine à gaz. Les personnes qui ont appris à «produire» de l'électricité se détruisent de leurs propres mains, en utilisant des méthodes obsolètes, mais extrêmement bénéfiques pour «certaines» méthodes d'obtention d'énergie vitale pour l'humanité.Dans le cas de mesures opportunes prises, nous serons toujours en mesure de redonner à la planète Terre son apparence d'origine, en laissant les entrailles épuisées seules, et d'aider notre foyer cosmique à restaurer l'écologie amenée à un état catastrophique.
Conclusion
Ainsi, un générateur électrique à faire soi-même peut être une excellente option pour une alimentation alternative.
Sa puissance sera suffisante pour fournir de l'électricité aux appareils du bâtiment, ainsi qu'aux petits appareils électroménagers. Le travail se faisant à l'électricité, les personnes qui n'ont pas la moindre idée de la gravité et du danger des manipulations effectuées risquent de ne pas réussir au générateur.
Ce n'est un secret pour personne qu'un générateur de bricolage sera 5 fois moins cher, mais ce n'est pas un fait que sa productivité peut rivaliser avec un modèle acheté assemblé en usine équipé d'automatisation. Un tel engagement devrait être abandonné dans les cas suivants :
- s'il n'y a pas de confiance en soi et de connaissances;
- lorsque plusieurs tentatives d'assemblage ont échoué ;
- si l'équipement et les instruments de mesure appropriés ne sont pas disponibles ;
- s'il n'y a aucune compétence dans les calculs et la sélection des composants de l'instrument, ainsi que dans la lecture des schémas.
Si vous disposez de tous les détails structurels nécessaires, vous pouvez essayer d'assembler l'unité de vos propres mains. Si la procédure a échoué, vous pouvez toujours recourir à l'aide de modèles achetés. L'achat d'un générateur électrique n'a qu'un seul inconvénient : son coût élevé. Cependant, dans certains cas, cela est pleinement justifié par la précision du flux de travail, ainsi que par la possibilité d'un contrôle indépendant de l'ensemble du processus de traitement et de conversion du courant continu en courant alternatif.











































