- Avantages des cheminées bio
- Éléments de cheminée bio
- Modifications modernes des foyers biologiques
- instructions de montage
- Comment faire une cheminée bio de vos propres mains?
- Instructions pour assembler une grande bio-cheminée
- Une cheminée bio à faire soi-même simple: instructions de fabrication
- Option numéro 2 : biocheminée extérieure
- Instructions pour la fabrication d'une biocheminée murale: de la préparation à la mise en œuvre
- N° 1. Comment fonctionne une cheminée bio ?
Avantages des cheminées bio
Mais non seulement ces facteurs peuvent être pris en compte lors d'un achat, ces appareils présentent d'autres avantages importants qui méritent l'attention :
- respect de l'environnement - lors de la combustion du carburant, il n'y a pas d'émission de substances nocives;
- praticité - l'installation ne nécessite pas la préparation d'une base résistante à la chaleur et d'une cheminée, tandis que la variabilité des sites d'installation n'est limitée que par des mesures de sécurité incendie raisonnables;
- sécurité pendant le fonctionnement ;
- efficacité - puisqu'il n'y a pas de produits de combustion et qu'il n'est pas nécessaire de les éliminer, toute la chaleur produite reste dans la pièce, qu'il est absolument recommandé de ventiler selon les méthodes traditionnelles;
- entretien simple, consistant en un essuyage périodique du corps et du brûleur.
Un avantage important peut être considéré comme des possibilités de conception plus larges, ainsi que le fait que le coût de modèles même complexes avec contrôle automatique est en concurrence avec les cheminées traditionnelles, dont la construction prend du temps et de l'argent.
Mais les biocheminées présentent également certains inconvénients dont il faut tenir compte avant de décider d'installer cet appareil dans la maison. La plupart des modèles sont conçus pour être installés dans des pièces de plus de 25 m 2 , à quelques exceptions près pour les appareils de bureau miniatures.
Il faut également tenir compte du fait que le fonctionnement d'une bio-cheminée nécessitera un achat régulier de combustible, dont le prix, bien que peu élevé, mais avec une consommation moyenne de 0,3-0,5 l / h, peut devenir un fardeau important. sur le budget familial.
Éléments de cheminée bio
Le réservoir de carburant fait partie du foyer sous la forme d'un récipient métallique rempli d'un écouvillon. Le conteneur peut avoir une forme différente, mais il est toujours situé en dessous. Dans la partie supérieure du réservoir, il y a un trou par lequel s'échappent les vapeurs d'alcool - il sert également de buse. Le combustible biofireplace lui-même mérite une mention spéciale.

Le bioéthanol, alcool dénaturé est un alcool obtenu à partir de produits biologiques par distillation de moût fermenté. Dans sa forme originale, il s'agit d'alcool éthylique comestible. Pour éviter son utilisation dans l'alimentation, il est dénaturé, ou simplement empoisonné. Dans ce cas, un indicateur, généralement violet, est généralement ajouté au liquide.
Le foyer est l'endroit où la flamme brûle directement. Les petits modèles - de bureau, mobiles, camping - combinent le foyer avec un réservoir de carburant sans pièces supplémentaires (à l'exception d'un couvercle pour un stockage à long terme).Les grands modèles ont un cadre métallique dans la zone du foyer, une vanne, un panneau de commande et un élément piézoélectrique caché pour l'allumage.
Portail - la forme dans laquelle le foyer est enfermé. Le portail peut avoir une grande variété de formes, mais la plupart des bio-cheminées modernes sont fabriquées dans un style high-tech ascétique.
Appareil Biofireplace, vidéo
Modifications modernes des foyers biologiques
Les foyers biologiques d'aujourd'hui peuvent être contrôlés par une télécommande et tout appareil doté d'une connexion Wi-Fi. Les foyers biologiques sont fabriqués en différentes tailles et configurations. Vous pouvez choisir le bon modèle dans les centres commerciaux spécialisés. Ils sont produits par divers fabricants, nationaux et étrangers.
Modèles les plus populaires :
- Flamme artistique. Son design s'intègre parfaitement à l'intérieur, car il est réalisé selon les modèles d'un bureau d'études américain.
- L'entreprise de fabrication danoise a introduit ses modèles sur le marché des cheminées bio il y a seulement quelques années. La société a gagné en crédibilité auprès des clients en raison de la haute qualité de l'appareil, des performances sûres et de la conception unique.
- Bio Blaze. Les appareils néerlandais se distinguent des autres par la mobilité, ils peuvent être déplacés vers n'importe quel endroit disponible. En plus des cheminées, l'entreprise produit des blocs de cheminée à combustible liquide.
- GlammFire est un fabricant portugais d'unités de luxe avec une large gamme de modèles, du monté au portable. Ils se distinguent par la plus haute qualité de consommation et sont fabriqués conformément aux normes européennes.
instructions de montage
Après avoir collecté les composants de la cheminée biologique, vous pouvez commencer à assembler l'appareil. Des instructions étape par étape vous permettront d'assembler une bio-cheminée de vos propres mains sans difficultés inutiles:
La première chose à faire est de coller l'écran de protection en verre. Le mastic silicone sèche dans la région du jour, de sorte que le verre est connecté à l'avance.
Création d'un écran de protection en verre
Ensuite, vous devez assembler, trouver, fabriquer un cadre métallique sous la forme d'une boîte dans laquelle le brûleur sera installé et sur lequel vous poserez un écran de protection.
Cadre métallique adapté
Pose d'écran de protection
À l'étape suivante, le brûleur est placé dans le cadre. Si le carburant était vendu en bidon, il pourrait bien jouer ce rôle. Si le récipient était en plastique, vous pouvez utiliser n'importe quelle boîte de conserve de taille appropriée.
Nous plaçons le brûleur dans le cadre
Nous mettons la mèche dans le pot, l'amenons à la grille et la fermons avec des pierres décoratives.
Préparation du treillis métallique
Installation de la grille à l'intérieur du cadre sur le brûleur
Nous recouvrons la structure résultante d'un écran de protection, posons des éléments décoratifs et la bio-cheminée faite maison est prête.
Nous fermons la grille avec des pierres décoratives
Nous lançons une cheminée bio
Cheminée artisanale écologique
Comme vous pouvez le constater, créer une cheminée à alcool de vos propres mains est assez simple, mais à condition qu'elle soit de petite taille. Pour les systèmes de grande taille, la construction d'un portail spécial sera nécessaire. Le moyen le plus simple de construire une structure consiste à utiliser des cloisons sèches, un matériau facile à utiliser et peu coûteux. Dans ce cas, la procédure sera la suivante :
- La première étape consiste à préparer une plate-forme pour le biofireplace. Il est nécessaire de protéger le sol des températures élevées. Vous pouvez faire une chape au sol ou poser une brique.
- Ensuite, un cadre biofireplace est construit à partir d'un profilé métallique, qui est solidement fixé au sol et au mur. Un matériau isolant est posé à l'intérieur des plafonds.
- La structure résultante est cousue avec des plaques de plâtre à l'extérieur et lissée avec des carreaux ou des tôles à l'intérieur. Les matériaux réfractaires protégeront la boîte à gypse des effets nocifs du feu.
Construction d'un portail pour une éco-cheminée
- De l'extérieur, la boîte biofireplace est décorée en fonction de l'intérieur de la pièce. Belle finition en pierre, panneaux en plastique sous la maçonnerie. Les objets forgés sont également les bienvenus, en particulier les accessoires assortis à côté de la cheminée. Vous pouvez placer du bois de chauffage à côté du portail et jeter des modèles décoratifs en céramique de bois de chauffage dans la bio-cheminée.
- Un bloc de combustible est installé à l'intérieur du portail résultant. Si le système est massif, il est préférable d'acheter un appareil prêt à l'emploi dans un magasin.
- Pour protéger l'environnement, un écran de protection en verre est installé sur le bloc de carburant.
La bio-cheminée qui en résulte deviendra sans aucun doute l'élément principal de la pièce, et un vrai feu en direct vous permettra de créer un confort à part entière dans votre maison.
Nous espérons que vous comprenez maintenant comment fabriquer une cheminée bio à la maison. Si vous êtes tout à fait prêt à effectuer les manipulations décrites ci-dessus, créez une cheminée biologique de vos propres mains, mais si un tel travail vous fait peur, achetez simplement un appareil fini dans le magasin. Il est à noter que de tels appareils sont vendus assemblés, vous n'aurez donc pas de difficultés à démarrer le système. Lisez les instructions, allumez l'appareil et profitez du feu en direct.
C'est intéressant: Quel chauffe-eau choisir pour un appartement et une maison - un aperçu des entreprises avec des critiques
Comment faire une cheminée bio de vos propres mains?
C'est là que nous arrivons à la partie la plus intéressante, pratique et dans une certaine mesure créative. Si vous essayez, une telle unité peut être fabriquée indépendamment. Une petite bio-cheminée pour un appartement, une résidence d'été ne nécessite aucune connaissance particulière de votre part, et le résultat vous plaira certainement. L'essentiel est de réfléchir à l'avance à sa conception, de respecter les distances requises entre les murs, le dessus et la source d'incendie, de sélectionner les matériaux appropriés et de définir toutes les étapes.
Comment faire une cheminée bio :
Pour commencer, faites le plein de matériel et d'outils nécessaires : verre (taille approximative d'une feuille de papier A4), coupe-verre, mastic silicone (pour coller le verre). Vous aurez également besoin d'un morceau de treillis métallique (un treillis de construction à mailles fines ou même une grille en acier d'un four fera l'affaire), une boîte en fer (elle fera office de compartiment à combustible, il est donc préférable de choisir une boîte en acier)
Il vous faudra également des pierres résistantes à la chaleur, cela peut même être des galets, de la dentelle (future mèche pour une biocheminée), du biocarburant.
Il est important de faire des calculs corrects, par exemple, la distance entre la source de feu (brûleur) et le verre doit être d'au moins 17 cm (afin que le verre n'éclate pas à cause de la surchauffe). Le nombre de brûleurs est déterminé par la taille de la pièce dans laquelle l'éco-cheminée sera installée.
Si la pièce est petite (15 ou 17 m²), un seul brûleur suffira pour une telle surface.
Le compartiment à combustible est une boîte métallique carrée, gardez à l'esprit que plus ses dimensions sont grandes, plus la source de feu sera éloignée de la vitre. Cette boîte peut être peinte avec de la peinture d'une teinte appropriée, mais uniquement à l'extérieur ! À l'intérieur, il doit être «propre» pour que la peinture ne s'enflamme pas et ne commence pas à libérer des substances toxiques.
Nous prenons 4 fragments de verre (leurs dimensions doivent correspondre aux dimensions de la boîte en métal) et les collons avec du mastic silicone. Nous devrions obtenir quelque chose comme un aquarium, mais sans fond. Pendant le séchage du mastic, tous les côtés de «l'aquarium» peuvent être soutenus par des objets stables et laissés dans cet état jusqu'à ce que la masse de liant se soit complètement solidifiée (c'est-à-dire environ 24 heures).
Après le temps spécifié, l'excès de mastic peut être soigneusement retiré à l'aide d'un couteau de construction à lame fine.
Nous prenons une boîte en fer (vous pouvez utiliser un récipient sous un produit en conserve), la remplissons de biocarburant et l'installons dans une boîte en métal. Il est important qu'il ait des murs épais! Mais la meilleure option est un récipient en acier inoxydable.
De plus, selon les dimensions de la boîte à combustible, nous découpons le treillis métallique et l'installons dessus. Le filet peut être fixé pour des raisons de sécurité, mais gardez à l'esprit que vous le souleverez périodiquement pour remplir le bidon de fer avec du biocarburant.
Nous posons les cailloux ou les pierres que vous avez choisis sur le dessus de la grille - ils ne sont pas seulement un décor, mais aident également à répartir uniformément la chaleur.
Nous prenons une ficelle et formons une mèche pour une bio-cheminée, abaissons une extrémité dans un pot de biocarburant.
La mèche imprégnée d'un mélange combustible peut être enflammée avec un fin bâton de bois ou une longue allumette de cheminée, ou un éclat.
C'est le modèle le plus simple pour créer une bio-cheminée de vos propres mains, des analogues plus complexes sont réalisés à l'aide de profils de guidage, de cloisons sèches, de carreaux et d'autres matériaux. Le principe de création d'un "brûleur", d'un boîtier et d'un compartiment à combustible est similaire.Pour reconstituer les réserves de carburant, vous devrez retirer les pierres et soulever la grille métallique, mais vous pouvez utiliser une grosse seringue et diriger un flux de liquide inflammable entre les cellules de la grille, directement dans le bocal en fer.
Je veux accorder une attention particulière au "cœur" de toute la structure - le brûleur. Un brûleur pour une bio-cheminée est, en d'autres termes, un récipient pour le combustible
Les brûleurs d'usine sont déjà fabriqués selon toutes les normes requises, le matériau le plus fiable est l'acier inoxydable, un tel brûleur durera très longtemps sans déformation, oxydation et corrosion. Un bon brûleur doit avoir une paroi épaisse afin qu'il ne se déforme pas lorsqu'il est chauffé. Faites également attention à l'intégrité du brûleur - il ne doit pas présenter de fissures ou d'autres dommages ! Sous l'influence de températures élevées, toute fissure augmente de taille. Pour éviter les déversements de carburant et l'allumage ultérieur, traitez cette nuance particulièrement méticuleusement.
Soit dit en passant, si vous fabriquez vous-même une cheminée bio, vous pouvez créer une autre version du brûleur. Pour ce faire, ne remplissez pas trop le récipient en acier avec de la laine de verre blanche, recouvrez-le par le haut d'une grille (ou grillage) coupée à la taille du récipient. Ensuite, versez simplement de l'alcool et allumez le brûleur.
Instructions pour assembler une grande bio-cheminée
Si vous devez fabriquer une grande cheminée bio, le plus difficile sera la fabrication d'un réservoir de carburant. Le plus simple est d'acheter un produit fini dans un magasin spécialisé.
Si vous envisagez de fabriquer vous-même un réservoir, vous devez prendre une tôle d'une épaisseur supérieure à 3 mm. Il doit être en acier inoxydable, sinon, lors de la combustion, des réactions chimiques indésirables et même l'apparition de fumées toxiques sont possibles.
Les magasins spécialisés vendent des réservoirs de carburant en acier inoxydable pour les biofoyers. Ils sont équipés de loquets pratiques pour éteindre le feu.
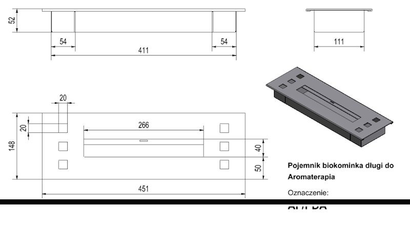
En fait, le réservoir devrait être composé de deux compartiments. Celui du bas sert à faire le plein de carburant. Les vapeurs liquides inflammables brûlent dans le compartiment supérieur. Entre ces compartiments, il doit y avoir une plaque de séparation avec des trous à travers lesquels les vapeurs pénètrent dans la zone de combustion. La forme du réservoir peut être différente, cela dépend du modèle de foyer.
L'option la plus populaire est un réservoir de carburant en forme de parallélépipède avec un compartiment supérieur étroit.
Il est plus facile de faire un réservoir cylindrique. Pour ce faire, vous pouvez prendre une tasse ordinaire et la recouvrir d'un couvercle découpé à la taille en treillis métallique à mailles fines. Il sera possible de faire le plein de carburant par la grille, ce qui est assez pratique.
Il peut y avoir plusieurs tasses de réservoir de ce type dans la conception d'un biofireplace. Ils peuvent être disposés en plusieurs rangées ou en cercle.
Il est important de ne pas oublier de retirer les anses des tasses. Cela doit être fait avec soin afin qu'un trou ne se forme pas.
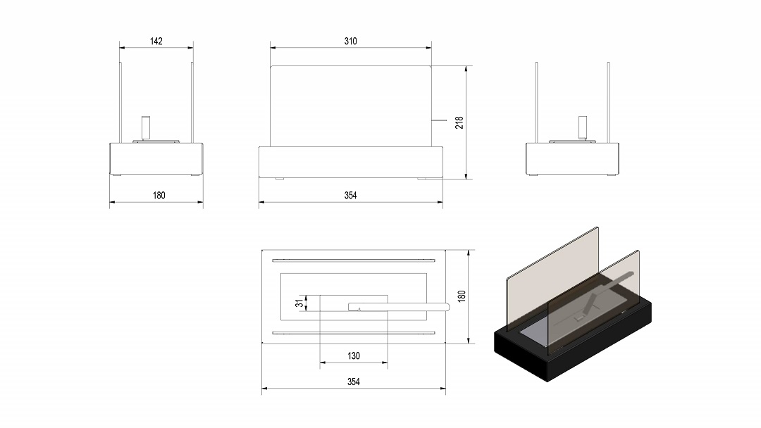
Après avoir choisi le réservoir de carburant, vous pouvez commencer à fabriquer une cheminée bio. Faisons un modèle de sol avec deux écrans en verre. Pour le travail, vous devez préparer du verre résistant au feu pour les écrans, un réservoir de carburant en forme de parallélépipède, des rondelles, des boulons et des joints en silicone pour les pieds en verre, en plastique ou en métal.
De plus, pour la fabrication de la base, nous avons besoin de contreplaqué épais ou de cloisons sèches, de vis autotaraudeuses et de barres de bois de 40x30 mm.
Nous partons de la fondation. Nous marquons une feuille de contreplaqué et découpons soigneusement les parties latérales de la boîte de base et du panneau supérieur.Nous ne ferons pas la partie inférieure de la boîte.
Premièrement, sa présence alourdira considérablement la structure. Deuxièmement, sans cela, il sera beaucoup plus pratique de fixer des feuilles de verre. Nous préparons deux morceaux d'un bloc de bois, sur lesquels du contreplaqué sera fixé.
Biofireplace avec deux écrans en verre peut être fabriqué indépendamment. La conception de la base peut être très différente - sous la forme d'une console, d'une table, d'une boîte
Sur le panneau découpé en contreplaqué, nous décrivons l'endroit où le réservoir de carburant sera fixé. Découpez le trou de montage requis pour le réservoir. Maintenant, nous assemblons le cadre et fixons le panneau supérieur dessus. Les bords de la structure sont bien traités.
Si nous n'utilisons pas de contreplaqué, mais des cloisons sèches, ses bords doivent être traités avec du mastic. Nous décorons la base résultante de toutes les manières appropriées: peinture, vernis, etc.
Cuisson des panneaux de verre. Tout d'abord, découpez deux morceaux de la taille souhaitée. Dans chacun d'eux, vous devez percer des trous pour les attaches décoratives. C'est assez difficile, car la moindre erreur peut briser le verre. S'il n'y a pas d'expérience dans un tel travail, il est préférable de confier le processus à un artisan expérimenté doté d'un ensemble d'outils spéciaux. Des trous pour les fixations sont également percés sur les parois latérales de la base.
Maintenant, nous fixons l'écran en verre sur la base. Pour ce faire, on passe un boulon à travers la vitre, n'oubliez pas de mettre un joint en silicone pour ne pas abîmer la vitre. Nous passons le boulon à travers la base, mettons la rondelle et serrons l'écrou
Cela doit être fait avec une extrême prudence, sans appliquer de force excessive, sinon le verre pourrait se fissurer. Ainsi, nous installons les deux écrans de verre
Lors du montage de la structure, des joints en silicone sont nécessairement utilisés, sinon le verre risque de ne pas supporter la charge et de se fissurer. Il est sage d'utiliser une option plus durable - le verre trempé
Au bas de la feuille de verre, vous devez mettre les jambes. Pour ce faire, nous mettons des joints en caoutchouc dans les pièces et les mettons en place. Nous vérifions la bonne installation des pieds. Le biofireplace doit se tenir exactement, pas se balancer.
En utilisant le trou préparé, nous montons le réservoir de carburant et le fixons solidement. La structure est presque prête. Il reste à le décorer avec des pierres ou des bûches en céramique, si nécessaire.
Une cheminée bio à faire soi-même simple: instructions de fabrication

Tout d'abord, vous devrez faire une base pour fixer le réservoir de carburant avec un amortisseur, qui sont disponibles dans le commerce, et leur coût est tout à fait abordable. Oui, et l'acquisition résoudra un problème assez important - vous n'avez pas à le faire vous-même. Les barres sont coupées sur mesure et fixées entre des feuilles de contreplaqué ou de cloison sèche.

- La partie supérieure de la base doit avoir un trou rectangulaire où sera placé le réservoir de carburant.
- Ensuite, sur le cadre principal, vous devez fixer tous les autres éléments de la base du foyer biologique, tout en traitant soigneusement tous les bords. De plus, si vous utilisez des cloisons sèches, vous devrez alors soigneusement couvrir les bords avec du mastic, sinon ils auront l'air moche.
- Des panneaux de verre en matériau résistant à la chaleur devront être percés, ce qui est loin d'être facile à faire à la maison. Par conséquent, il vaut la peine de contacter un vrai professionnel qui fera les trous au besoin, disposant du matériel nécessaire, ainsi que d'outils spéciaux.
- Les écrans latéraux en verre doivent être montés très soigneusement, car le verre peut éclater s'il est surchargé. De plus, de face, il est préférable d'utiliser des boulons à tête décorative, également faciles à trouver dans les rayons des magasins modernes.
- Lorsque la conception est complètement prête, vous devez installer le réservoir de carburant et le brûleur, puis le travail sera entièrement terminé.
Cela vaut le coup de s'en souvenir
En aucun cas, vous ne devez mettre le feu à une cheminée biologique avec des moyens "improvisés", tels que des copeaux de bois ou du papier roulé, car cela est lourd de brûlures. Il est préférable d'acheter un briquet à gaz avec un long bec, il sera sûr et peu coûteux.
Ainsi, il s'avère que vous pouvez créer une cheminée bio de vos propres mains, la vidéo le confirme pleinement, vous pouvez le faire vous-même, et sans aucun problème ni difficulté. De plus, de belles pierres, du bois de chauffage artificiel et d'autres matériaux qui ne brûlent pas peuvent être posés autour du brûleur.
Option numéro 2 : biocheminée extérieure
Vous pouvez créer une belle cheminée bio en plein air basée sur un aquarium. En plus de cela, vous aurez également besoin de :
• treillis métallique (selon la taille du fond de l'aquarium) - 2 pcs.;
• capacité de carburant ;
• sable grossier;
• grosses pierres rondes (environ 10-15 cm de diamètre) ;
• la dentelle, qui remplit la fonction de mèche ;
• le carburant.
Tout d'abord, un treillis métallique est placé dans l'aquarium, qui est recouvert de sable (couche de 15 à 20 cm). Ensuite, un ou plusieurs petits récipients métalliques y sont enterrés. Dans le même temps, une distance d'au moins 15 cm doit rester entre le verre et le réservoir de carburant, puis un treillis métallique est à nouveau posé, dont les éléments retiendront la mèche. Le bidon est rempli de combustible, une extrémité du lacet (mèche) est immergée au fond, l'autre est fixée au-dessus de la grille.Pour le camouflage et l'esthétique, il reste à poser de grosses pierres sur le sable, recouvrant astucieusement les surfaces visibles du réservoir de carburant.
Cette option est simple. Vous pouvez le décorer avec n'importe quel article résistant à la chaleur, ce qui vous donne l'occasion de montrer votre propre talent en matière de design. La conception est mobile, facile à changer d'emplacement.

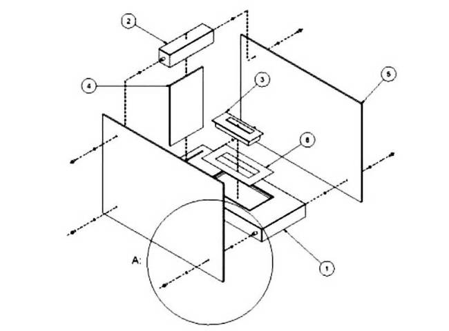
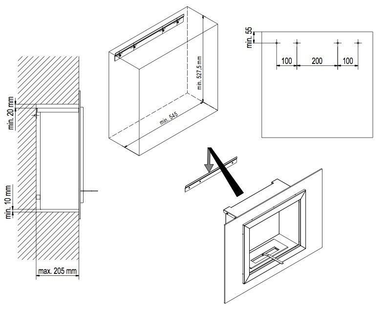
Instructions pour la fabrication d'une biocheminée murale: de la préparation à la mise en œuvre
La technologie de création d'une structure murale est pratiquement la même que celle des options de sol ou de bureau.
La technologie de création d'une structure murale n'est pratiquement pas différente des options de sol ou de bureau. Initialement, la conception est pensée, le type de foyer biologique est sélectionné - droit ou angulaire. Sur sa base, un dessin est développé, où la sécurité incendie est prise en compte avec des dimensions. En d'autres termes, la distance du foyer aux murs et à la cheminée doit être respectée (au moins 15 - 20 cm). Ensuite, des marquages sont appliqués sur les murs et les travaux de construction commencent.
Veuillez noter qu'une telle bio-cheminée est immédiatement montée sur le mur
Comme dans les versions précédentes, les calculs doivent être effectués en tenant compte de la sécurité incendie.
Pour ce faire, vous aurez besoin de matériel et d'outils:
- cloison sèche;
- profilé métallique avec crémaillère et éléments de guidage ;
- vis autotaraudeuses, clous à cheville;
- Tournevis;
- feuilles de verre;
- matériau isolant résistant à la chaleur;
- carreaux de céramique pour la décoration;
- colle résistante à la chaleur;
- jointoyer;
- décor.
Le processus se déroule en plusieurs étapes :
- Profils de guidage de fixation selon le balisage, dans lesquels les éléments de rack sont ensuite insérés. Dans ce cas, la structure est fixée avec des vis autotaraudeuses. Ainsi, l'ensemble du cadre est assemblé.L'essentiel est de ne pas oublier la disposition des doubles parois intérieures de la biocheminée, qui vous permettra de réduire légèrement la température à la base du foyer.
- Pose de matériau isolant dans les parois de la charpente.
- Revêtement avec des feuilles de cloison sèche préparées, qui sont montées sur des vis autotaraudeuses.
- Finir le travail. A ce stade, il faut appliquer du plâtre de gypse, puis coller le cadre, à l'exception de la place sous le brûleur, avec des carreaux de céramique, des carreaux ou de la pierre sauvage, selon les envies et les possibilités.
- Jointoiement des joints.
- Installation d'un brûleur, qui peut servir de conception achetée, ou d'un simple verre métallique avec une mèche abaissée dedans.
- Préparation et installation d'une grille de cheminée ou d'une vitre de protection. Ce dernier peut être acheté au magasin sous la forme d'une boîte spéciale sans couvercle, ou vous pouvez le fabriquer vous-même à partir d'une feuille de verre, en reliant les éléments avec un scellant et en attendant qu'il sèche complètement.
Lors de la première utilisation d'une bio-cheminée, le bol du brûleur ne doit être rempli qu'au tiers de la profondeur, en laissant une distance entre le combustible et les bords (au moins 2 cm). Si des gouttes ou des gouttes se forment à l'extérieur, elles doivent être essuyées avec un chiffon humide. Lors de l'allumage de la mèche, il faut être préparé au fait qu'un flash de gaz peut se produire au moment de l'allumage.
Le temps de fonctionnement de la biocheminée dépend de la capacité du bol. S'il devient possible d'éteindre la flamme à l'avance, vous devez utiliser des extincteurs spéciaux, que vous pouvez toujours acheter dans un magasin ou fabriquer vous-même en métal. Ce sont des modèles avec une poignée, au bout de laquelle se trouve un couvercle pour le brûleur.
N° 1. Comment fonctionne une cheminée bio ?
Biofireplace est une invention relativement nouvelle. Son auteur est l'italien Giuseppe Lucifora, qui a conçu la première cheminée bio en 1977.Pensait-il alors que son invention deviendrait si populaire ! Aujourd'hui, les foyers biologiques sont activement utilisés dans la décoration intérieure des appartements urbains et des maisons de campagne. Souvent, ils sont installés à l'extérieur, dans un chalet d'été, par exemple. Qu'est-ce qui a causé une utilisation aussi répandue de l'appareil ? Pour répondre à cette question, il est nécessaire de comprendre le principe de fonctionnement d'une biocheminée et ses principaux composants.

Une bio-cheminée est complètement différente d'une cheminée à bois conventionnelle. Pour obtenir une flamme, un carburant spécial (bioéthanol) est utilisé, qui est versé dans le réservoir et enflammé. Le carburant brûle sans émettre de monoxyde de carbone et d'autres produits nocifs. C'est en bref. Pour approfondir le processus de fonctionnement d'une cheminée bio, il est nécessaire d'étudier sa structure:
- le brûleur est fait de matériaux incombustibles (acier, céramique, pierre) et est décoré de sable, de vraie pierre ou d'imitation de bois de chauffage et de charbon. Tous les éléments qui recouvrent le brûleur doivent être incombustibles ;
- le réservoir de carburant, où le bioéthanol est versé, a un volume de 0,7 litre à 3 litres, dans de rares cas plus. Plus le réservoir est grand et plus vous pouvez y verser de carburant, plus le processus de combustion continue sera long. En moyenne, 1 litre de combustible suffit pour 2 à 3 heures de fonctionnement du foyer. Vous ne pouvez ajouter une nouvelle portion de carburant qu'une fois l'appareil refroidi. Un feu est allumé en apportant un long briquet spécial. Vous pouvez utiliser des allumettes de cheminée, mais il est dangereux d'utiliser des morceaux de papier pliés. Dans les foyers biologiques automatiques, le processus d'allumage est plus facile - d'une simple pression sur un bouton ;
- le combustible biocheminée est obtenu à partir de cultures maraîchères riches en sucre. Lors de sa combustion, il se décompose en dioxyde de carbone et en vapeur d'eau.Il n'y a pas de suie, de suie et de fumée, il est donc inutile d'équiper la cheminée, mais une bonne ventilation ne fera pas de mal. Les experts comparent une biocheminée à une bougie conventionnelle en termes de niveau et de nature des émissions. Certaines cheminées bio brûlent des vapeurs de bioéthanol ;
- le portail est généralement en verre trempé. Ce matériau résiste à la chaleur et vous permet d'admirer sans encombre le feu sous différents angles. La puissance et la hauteur de la flamme peuvent être réglées grâce à un registre spécial, mais les flammes ne seront jamais plus hautes que la barrière de verre ;
- le cadre est le squelette de la cheminée bio. Toutes les parties fonctionnelles du produit, ainsi que le décor, y sont attachés. Le cadre assure la stabilité de l'emplacement au sol, fixation au mur (pour les modèles muraux). Le décor peut être différent, il complète l'apparence de la cheminée et en fait un détail intérieur lumineux;
- il peut y avoir des composants supplémentaires qui étendent considérablement la fonctionnalité de la cheminée biologique. Par exemple, un système de capteurs qui surveillent le travail, la conception sonore, les boutons qui allument les cheminées automatiques. Certains appareils peuvent être contrôlés avec une télécommande ou même avec un smartphone.
L'intensité de la flamme est réglée par des volets. Lorsque vous le déplacez, le débit d'oxygène vers le brûleur diminue ou augmente, ce qui détermine la taille et la puissance des flammes. En bloquant l'accès à l'oxygène, vous pouvez éteindre complètement le foyer.
Biofireplace est acheté et installé, avant tout, pour la beauté et la sensation de confort du foyer. Cependant, ses avantages ne se limitent pas à cela. Puisqu'il y a un vrai feu dans la cheminée, la chaleur en provient.Une bio-cheminée peut être comparée à un radiateur d'une puissance allant jusqu'à 3 kW, elle peut facilement chauffer l'air dans une pièce relativement petite (environ 30 m2), mais elle n'est pas considérée comme un remplacement d'un radiateur, et le verre trempé est pas en mesure de conserver la chaleur accumulée pendant une longue période.

Si, dans une cheminée traditionnelle, la perte de chaleur due au système d'évacuation atteint 60 %, alors dans une bio-cheminée, seuls 10 % sont perdus - les 90 % restants vont au chauffage des locaux.
Quant à l'aération. Une cheminée pour une bio-cheminée n'est pas nécessaire, mais une ventilation de haute qualité doit être équipée. Cependant, cette exigence s'applique également aux appartements où il n'y a pas de foyer biologique. Si vous sentez que la ventilation de la maison ne suffit pas, vous devrez parfois ouvrir les fenêtres et ventiler.
Les biocheminées peuvent être de forme très différente, ce détail s'intégrera donc parfaitement dans n'importe quel style d'intérieur, du classique au high-tech.













































