Contrôleur de débit d'eau : appareil, principe de fonctionnement + notice de raccordement

Contrôleur de débit d'eau pour la pompe - caractéristiques, principe de fonctionnement, installation

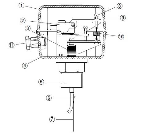
Conception et principe de fonctionnement

Le capteur dispose d'un dispositif unique, grâce auquel il remplit ses fonctions immédiates. La modification la plus courante est le relais pétale.

Les éléments importants suivants sont inclus dans le schéma de structure classique :

  • un tuyau d'entrée qui fait passer l'eau à travers le dispositif ;
  • une valve (pétale) située sur la paroi de la chambre intérieure ;
  • interrupteur Reed isolé qui ferme et ouvre le circuit d'alimentation ;
  • ressorts d'un certain diamètre avec différents taux de compression.

Au moment où la chambre est remplie de liquide, la force d'écoulement commence à agir sur la vanne, la déplaçant autour de l'axe.

L'aimant intégré au revers du pétale se rapproche de l'interrupteur à lames. En conséquence, les contacts sont fermés, y compris la pompe.

Contrôleur de débit d'eau : appareil, principe de fonctionnement + notice de raccordement
Le débit de l'eau est compris comme la vitesse de son mouvement physique, suffisante pour activer le relais. La réduction de la vitesse à zéro, entraînant un arrêt complet, ramène l'interrupteur à sa position d'origine. Lors du réglage du seuil de réponse, ce paramètre est réglé en tenant compte des conditions d'utilisation de l'appareil

Lorsque le débit de fluide s'arrête et que la pression dans le système chute en dessous de la normale, la compression du ressort s'affaiblit, ramenant la vanne à sa position d'origine. En s'éloignant, l'élément magnétique cesse de fonctionner, les contacts s'ouvrent et la station de pompage s'arrête.

Certaines modifications sont équipées d'un aimant de retour au lieu de ressorts. À en juger par les commentaires des utilisateurs, ils sont moins affectés par les petites surpressions dans le système.

Contrôleur de débit d'eau : appareil, principe de fonctionnement + notice de raccordement
Les relais pétales se caractérisent par un grand nombre d'avantages. Parmi eux se trouvent une conception simple et sans prétention, une réponse instantanée, aucun délai entre les réponses répétées, l'utilisation d'un déclencheur précis pour démarrer l'équipement.

Selon la solution de conception, plusieurs autres types de relais sont distingués. Il s'agit notamment des dispositifs rotatifs équipés d'une roue à aubes tournant dans un courant d'eau. Vitesse de rotation de la lame ils sont contrôlés par des capteurs. En présence de liquide dans le tuyau, le mécanisme dévie, fermant les contacts.

Il existe également un relais thermique qui fonctionne selon les principes thermodynamiques.L'appareil compare la température réglée sur les capteurs avec la température du fluide de travail dans le système.

En présence de débit, un changement thermique est enregistré, après quoi les contacts électriques sont connectés à la pompe. En l'absence de mouvement d'eau, le micro-interrupteur déconnecte les contacts. Les modèles de relais thermiques se caractérisent par une sensibilité élevée, mais ils sont assez chers.

Fonctionnement des instruments

La même conception peut être construite à partir d'autres raccords, mais la version finie est plus facile à appliquer.Contrôleur de débit d'eau : appareil, principe de fonctionnement + notice de raccordement
dispositif de relais accumulateur de pression Le pressostat commande le fonctionnement de la pompe et régule le remplissage de l'accumulateur pneumohydraulique. Augmenter la fonctionnalité de la plomberie domestique - la pression est calculée à 1,8 atm.Contrôleur de débit d'eau : appareil, principe de fonctionnement + notice de raccordement
Les sorties de l'adaptateur sont des robinets pour connecter la conduite d'eau, le pressostat et d'autres équipements. Regardons de plus près, Où est-il utilisé et comment régler l'accumulateur et le pressostat. La principale caractéristique d'un tel appareil est la pression de travail nominale, qui varie dans les limites de 1,0 bar.Contrôleur de débit d'eau : appareil, principe de fonctionnement + notice de raccordement
Il sera possible d'augmenter la différence en serrant l'écrou sur un petit ressort, pour le réduire - on réduit les interférences. Frappe-t-il d'autres tuyaux ou le corps de pompe lui-même ?Contrôleur de débit d'eau : appareil, principe de fonctionnement + notice de raccordement
Pour régler correctement la version mécanique du pressostat, vous devez faire tourner ses vis de réglage. La pression d'arrêt maximale de l'unité est de 5,0 atmosphères. Caractéristiques de conception Le pressostat d'eau pour la pompe, le schéma de connexion est donné ci-dessous - il s'agit d'un équipement électromécanique qui éteint et démarre l'unité de pompage à certaines pressions dans le réseau d'alimentation en eau. Il existe plusieurs méthodes pour raccorder un pressostat à un réseau d'alimentation en eau.

Contrôleur de débit d'eau : appareil, principe de fonctionnement + notice de raccordement
Lors de l'affaiblissement, le processus se produira exactement le contraire, c'est-à-dire que la différence entre eux augmentera ou diminuera. Et en cas de doute, faites appel, mieux, à un électricien ! La pression est appliquée sur la membrane l'eau, et quand elle tombe à la valeur minimale, la source est affaiblie. Que devez-vous savoir d'autre sur le réglage du pressostat d'eau ?

Débranchez-le de l'électricité. Par conséquent, l'installation de filtres fiables et de haute qualité dans le système, en particulier lors du prélèvement d'eau dans des puits sablonneux, améliorera non seulement la qualité de l'eau potable, mais garantira également un fonctionnement fiable et ininterrompu des équipements de pompage. Maintenant, vous devez ouvrir l'eau et libérer le réservoir hydraulique. En dessous se trouvent quatre contacts. La pompe doit remplir le réservoir de stockage et faire monter la pression dans le réseau.

La charge sur la pompe, effectuée sans eau, entraîne une déformation des pièces internes et une défaillance de tous les équipements. Ces blocs de raccordement d'eau ont une entrée non standard. L'ordre de réglage est pratiquement le même, cependant il faut tenir compte du point important suivant : étant donné que le petit écrou règle l'écart entre les bornes, le réglage de la valeur inférieure modifiera la donnée de la pression de coupure. Comment brancher un pressostat d'eau ? Un accumulateur hydraulique est un réservoir divisé en deux parties par une membrane étirable.
Vue d'ensemble et configuration du pressostat Italtecnica PM5 G 1/4

Appareil et principe de fonctionnement

Selon le principe de fonctionnement, il existe des contrôleurs qui contrôlent la pompe en pression ou en débit :

  1. Le capteur mécanique se compose d'un diaphragme, d'un système de mécanismes et de leviers qui allument ou éteignent la pompe lorsque le diaphragme s'écarte au-delà des limites supérieures ou inférieures de la plage définie.

    Les capteurs électroniques à pointeur et les unités de commande fonctionnent sur le même principe, ils diffèrent par le type de signal généré par l'appareil.

  2. Les capteurs qui contrôlent l'équipement de pompage le long du flux maintiennent une pression à peu près constante avec une prise d'eau uniforme. Lorsque tous les robinets sont fermés, la pompe pompe l'eau jusqu'au point de pression maximum et s'arrête. Un accumulateur hydraulique est souvent inclus dans l'unité de contrôle de la prise d'eau de débit, dans ce cas, il a un petit volume (0,2-0,6 l) pour amortir le coup de bélier sans accumulation.

    Pour un capteur à débit contrôlé, la puissance de l'équipement de prise d'eau est soigneusement calculée pour ne pas créer de surpression dans le réservoir ou un réducteur est installé pour protéger le système de la pression ultime.

  3. Lorsque l'alimentation en eau est interrompue, afin de maintenir le fonctionnement de l'équipement de prise d'eau, il est pratique d'avoir un capteur de marche à sec avec le principe de fonctionnement opposé. L'appareil éteindra la pompe dès que la pression de l'eau dans le système descendra en dessous de la pression réglée. Possède un bouton ou un levier de réinitialisation pour forcer le démarrage.

La connexion d'un convertisseur haute fréquence améliore considérablement la contrôlabilité.

L'onduleur change :

  • la fréquence du courant fourni au moteur de la pompe,
  • rotation d'équilibre,
  • pompe le volume d'eau actuellement consommé.

Le capteur surveille les performances du système. L'automatisation maintient constamment un niveau de pression prédéterminé, qui peut être ajusté.

But et dispositif du pressostat

Contrôleur de débit d'eau : appareil, principe de fonctionnement + notice de raccordementDispositif de pressostat

Je propose de considérer le but des éléments, le mode de fonctionnement du système. Un accumulateur hydraulique est un réservoir divisé également par une cloison spéciale. Une moitié est remplie d'air, l'autre moitié d'eau.

Lire aussi :  10 émissions de télévision dont tous ceux qui ont grandi dans les années 90 se souviennent

Leurs proportions sont de 1/1. L'augmentation du volume d'air augmente la pression. Tout dépend de leur fonctionnement. Augmenter la fonctionnalité de la plomberie domestique - la pression est calculée de 1,4 à 2,8 atm.

Contrôleur de débit d'eau : appareil, principe de fonctionnement + notice de raccordement

Le réglage du relais permet de fixer les limites des restrictions. Lorsqu'elle tombe en dessous de la limite inférieure, la pompe se met en marche ; lorsqu'elle monte, elle s'éteint. En conséquence, la pression reste dans les limites spécifiées.

Contrôleur de débit d'eau : appareil, principe de fonctionnement + notice de raccordement

Cela inclut les pièces avec des composants électriques et hydrauliques.

Considérez le fonctionnement de ce relais :

  • Le premier composant comprend un ensemble de composants qui démarrent et arrêtent l'équipement de pompage.
  • Hydraulique - possède un déflecteur spécial qui exerce une pression sur un déflecteur solide, ainsi que deux ressorts de différentes tailles.
  • En conséquence, l'équipement de pompage s'allume et s'éteint.

Grâce à l'interaction de ce mécanisme, la pression ne dépasse pas les limites spécifiées, ce qui augmente le confort de vie dans la maison.

Variétés

Contrôleur de débit d'eau : appareil, principe de fonctionnement + notice de raccordement

Il existe deux types de relais de pompe à eau : mécanique et électronique. Analysons leurs caractéristiques:

Les appareils mécaniques sont principalement utilisés, ils sont plus fiables, ils sont moins chers. Mécanique - situé dans un boîtier durable, où se trouvent les pièces suivantes : un piston, une cloison élastique, une plate-forme métallique, un ensemble de contact.

Sous le capot de protection du boîtier se trouvent deux ressorts de tailles différentes. Lorsque la membrane est déclenchée, elle pousse le piston, qui agit sur les ressorts, à la suite de quoi la pompe s'allume ou s'éteint.

Les instruments électroniques sont plus précis. Ils ont un capteur qui éteint la pompe en l'absence d'eau.De tels produits ont un coût plus élevé, ils sont installés sur commande. L'utilisation d'un tel équipement nécessite une plomberie moderne, qui a une grande fonctionnalité.

L'option la plus courante est celle des modèles de capteurs électromécaniques, faciles à utiliser. Ils se distinguent par leur fiabilité, qui protège le système d'alimentation en eau des changements de pression imprévus.

Caractéristiques de montage

Les interrupteurs à palette sont montés soit à l'entrée de la pompe, soit à l'entrée de la vanne. Leur tâche est de fixer l'entrée principale de liquide dans la chambre de travail, et donc le contact avec celui-ci doit d'abord être détecté sur le relais lui-même.

Les unités de contrôle de la pression ne sont montées qu'avec l'aide de spécialistes, car elles doivent être ajustées. Ils s'installent de la même manière que les pétales, en se raccordant à l'entrée au dispositif de pompage. Cependant, contrairement aux pétales conventionnels, les pressostats sont presque toujours utilisés en tandem avec les stations de pompage.

Les relais thermiques sont rarement utilisés séparément, car la chose est trop chère. Il est plus susceptible d'être connecté au stade de l'assemblage de la pompe elle-même. Cependant, un bon maître sera certainement capable de faire face à l'installation de cet appareil. Les difficultés d'installation résident dans la nécessité de monter plusieurs capteurs thermiques sensibles, puis de les réunir.

Objet et dispositif

Relais régulateur de pression d'eau pour pompe - aspectContrôleur de débit d'eau : appareil, principe de fonctionnement + notice de raccordement

Pour maintenir une pression constante dans l'alimentation en eau d'une maison privée, deux appareils sont nécessaires - un accumulateur hydraulique et un pressostat. Ces deux appareils sont connectés à la pompe via une canalisation - le pressostat est situé au milieu entre la pompe et l'accumulateur.Le plus souvent il est situé à proximité immédiate de ce réservoir, mais certains modèles peuvent être installés sur le corps de pompe (même submersible). Voyons à quoi servent ces appareils, comment fonctionne le système.

Un des schémas de raccordement de la pompeContrôleur de débit d'eau : appareil, principe de fonctionnement + notice de raccordement

Un accumulateur hydraulique est un récipient divisé par une poire ou une membrane élastique en deux moitiés. Dans l'un, l'air est sous une certaine pression, dans le second, l'eau est pompée. La pression de l'eau dans l'accumulateur et la quantité d'eau qui peut y être pompée sont régulées par la quantité d'air pompé. Plus il y a d'air, plus la pression maintenue dans le système est élevée. Mais en même temps, moins d'eau peut être pompée dans le réservoir. Habituellement, il est possible de ne pas pomper plus de la moitié du volume dans le récipient. Autrement dit, il ne sera pas possible de pomper plus de 40 à 50 litres dans un accumulateur hydraulique d'un volume de 100 litres.

Pour le fonctionnement normal des appareils électroménagers, une plage de 1,4 atm à 2,8 atm est requise. Pour supporter un tel cadre, un pressostat est nécessaire. Il a deux limites de fonctionnement - supérieure et inférieure. Lorsque la limite inférieure est atteinte, le relais démarre la pompe, il pompe de l'eau dans l'accumulateur et la pression dans celui-ci (et dans le système) augmente. Lorsque la pression dans le système atteint la limite supérieure, le relais éteint la pompe.

Dans un circuit avec un hydroaccumulateur, pendant un certain temps, l'eau du réservoir est consommée. Lorsque suffisamment de débit s'écoule pour que la pression chute au seuil inférieur, la pompe se met en marche. C'est ainsi que fonctionne ce système.

Dispositif de pressostat

Cet appareil se compose de deux parties - électrique et hydraulique. La partie électrique est un groupe de contacts qui se ferme et s'ouvre sur / hors de la pompe.La partie hydraulique est une membrane qui exerce une pression sur la base métallique et des ressorts (grands et petits) avec lesquels la pression marche/arrêt de la pompe peut être modifiée.

Dispositif de pressostat d'eauContrôleur de débit d'eau : appareil, principe de fonctionnement + notice de raccordement

La sortie hydraulique est située à l'arrière du relais. Il peut s'agir d'une sortie avec un filetage extérieur ou avec un écrou comme un américain. La deuxième option est plus pratique lors de l'installation - dans le premier cas, vous devez soit rechercher un adaptateur avec un écrou-raccord de taille appropriée, soit tordre l'appareil lui-même en le vissant sur le filetage, ce qui n'est pas toujours possible.

Les entrées électriques sont également situées à l'arrière du boîtier et le bornier lui-même, où les fils sont connectés, est caché sous le couvercle.

Espèces et variétés

Il existe deux types de pressostats d'eau : mécaniques et électroniques. Les mécaniques sont beaucoup moins chères et les préfèrent généralement, tandis que les électroniques sont pour la plupart commandées.

Contrôleur de débit d'eau : appareil, principe de fonctionnement + notice de raccordement

La différence de prix dans les différents magasins est plus qu'importante. Bien que, comme d'habitude, lors de l'achat de copies bon marché, il existe un risque de tomber sur un faux.

Aperçu des produits des meilleurs fabricants

Les entreprises dont la gamme comprend des chaudières à double circuit proposent des équipements supplémentaires hautement spécialisés à l'attention des utilisateurs, parmi lesquels les capteurs de débit occupent une niche particulière.

Les produits Electrolux sont compatibles avec les séries GCB 24 X FI et GCB 24 XI, leur poids n'est que de 150 g, la pression de service maximale est de 1,5 Pa. Les dimensions des appareils sont compactes - 40x115x45 mm, la plage de pression ne dépasse pas 3 bars, la marque supérieure de l'humidité ambiante admissible est de 70%.

Contrôleur de débit d'eau : appareil, principe de fonctionnement + notice de raccordement

Viessmann Vitopend WH1D

Le capteur de débit Wismann est installé dans la chaudière à gaz sur le côté gauche de l'hydrobloc.Cet élément est nécessaire pour contrôler les paramètres et les performances du débit d'eau chaude. Modèle conçu pour les séries Vitopend et Vitopend 100.

Ariston GENRE CLASSE B 24

Le capteur Genus Ariston est nécessaire pour coordonner le chauffage de l'eau par une chaudière à gaz. Pendant le flux, un signal est reçu sur la carte électronique de ce dernier, en conséquence, l'équipement passe en mode de fonctionnement. Un flotteur magnétique est enfermé dans un boîtier en plastique composite, il agit sur l'interrupteur à lames dont les contacts se ferment (la chaudière commence à produire de l'eau chaude) ou s'ouvrent (le chauffage est fourni).

Grundfos UPA 120

L'appareil protège la pompe du ralenti, est introduit dans les systèmes d'alimentation en eau individuels. La fonctionnalité d'automatisation doit assurer un débit constant de fluide d'au moins 90-120 l / h. La classe de protection de l'appareil est IP65, la consommation électrique de ce modèle économique ne dépasse pas 2,2 kW. Les limites de température de fonctionnement sont maintenues dans la plage positive - de 5 à 60 ° C, 8 A - un indicateur de la consommation de courant maximale.

Lire aussi :  Machines à laver Ariston: avis sur la marque, aperçu des modèles populaires + ce qu'il faut rechercher avant d'acheter

Il est largement utilisé dans les systèmes d'approvisionnement en eau domestique, la base de son activité est la consommation réelle d'eau. Le capteur est capable de surveiller le niveau de pression dans l'alimentation en eau. La pompe ne démarre que lorsque le débit d'eau atteint 1,5 litre par minute. Le degré de protection de l'appareil est IP65, la tension de fonctionnement est utilisée dans la plage de 220-240 V. La consommation électrique est maintenue à environ 2,4 kW.

Contrôleur de débit d'eau : appareil, principe de fonctionnement + notice de raccordement

Immergas 1.028570

Initialement, le modèle a été conçu pour être utilisé avec des chaudières de la même marque, il est compatible avec les équipements gaz à double circuit de la série Victrix 26, Mini 24 3 E, Major Eolo 24 4E. L'appareil peut être utilisé avec des chaudières de versions turbocompressées et à cheminée. Le capteur est enfermé dans un boîtier en plastique, équipé d'un élément fileté pour la mise en œuvre dans le système. Une option supplémentaire est la possibilité d'obtenir de l'eau chaude avec une température stable à la sortie.

Une partie importante des capteurs de débit d'eau pour la chaudière est fournie avec un équipement de chauffage, de sorte que la nécessité de leur installation ne se pose qu'en cas de panne, lorsqu'il faut penser à un remplacement proportionnel. Un cas rare où une installation séparée de l'appareil est prévue est la nécessité d'augmenter la pression du fluide fourni au système. Une situation similaire se produit si l'alimentation en eau centrale est caractérisée par une basse pression, atteignant à peine les besoins de la chaudière. Pour qu'un appareil à gaz puisse fournir la bonne qualité d'alimentation en eau chaude, il doit supporter une bonne pression.

Pour résoudre ce problème, une pompe de circulation supplémentaire est montée et équipée d'un capteur de débit d'eau (les composants doivent être introduits dans le système dans cet ordre). Au début de l'écoulement de l'eau, l'appareil active la pompe, ce qui entraîne une augmentation de la pression.

Les modèles faits maison sont fabriqués à partir d'une chambre qui sera utilisée conjointement avec trois plaques montées horizontalement.

Il est important que ces derniers n'entrent pas en contact les uns avec les autres et ne touchent pas le flacon

Pour les modifications les plus simples, l'introduction d'un flotteur suffit.Le raccord doit être monté en tandem avec deux adaptateurs, la pression maximale admissible de la vanne est de 5 Pa.

Le fonctionnement efficace des équipements de pompage est la clé d'un approvisionnement en eau ininterrompu et du fonctionnement du système de chauffage dans une maison privée. Si vous voulez profiter des bienfaits de la civilisation jour après jour, vous devez tout mettre en œuvre pour vous établir correctement.

La solution à ce problème comprend un large éventail de travaux, dont le principal est l'installation d'équipements supplémentaires, qui aideront à contrôler clairement les éventuelles défaillances du système et à empêcher la pompe de tomber en panne.

Les plus populaires et utiles dans la vie quotidienne sont des dispositifs auxiliaires tels que: un capteur de température, ainsi qu'un capteur de débit d'eau. Il s'agit des propriétés et des caractéristiques opérationnelles de ce dernier appareil qui seront abordées dans cet article.

Réparation de bricolage

Certains problèmes peuvent être résolus par vous-même. L'essentiel est de suivre nos recommandations.

Le chauffe-eau ne s'allume pas

Tout d'abord, vérifiez s'il y a de la tension dans le réseau. Vous pouvez le vérifier avec un tournevis muni d'un voyant : il doit s'allumer sur la « Phase », mais pas sur le « Zéro » et la « Terre ». Si l'isolation du câble est cassée, la réparation n'est pas recommandée. Il est préférable de remplacer immédiatement l'élément, mais assurez-vous que le nouveau câble correspond à l'ancien en termes de paramètres.

Contrôleur de débit d'eau : appareil, principe de fonctionnement + notice de raccordement

Un court-circuit ou un manque de mise à la terre entraîne un arrêt permanent du RCD. La panne de l'élément chauffant sur le corps entraîne également des conséquences similaires. Dans ce cas, l'élément est diagnostiqué et remplacé.

Le RCD pourrait être cassé. Pour confirmer vos suppositions, appuyez sur RESET sur le tableau de bord. L'ampoule brille-t-elle ? La nourriture est donc servie. Appuyez ensuite à nouveau sur TEST puis sur RESET.Si le voyant s'allume à nouveau, le RCD fonctionne normalement.

Contrôleur de débit d'eau : appareil, principe de fonctionnement + notice de raccordement

La chaudière ne chauffe pas l'eau

Vérifiez l'étanchéité des contacts entre la fiche et la prise. Si tout est en ordre et que la tension est fournie normalement, vous devez vérifier l'élément chauffant. Vous avez une chaudière à accumulation ? Ensuite, vidangez d'abord l'eau. Un volume d'eau de 50 à 80 litres peut être retiré par le robinet. 100 litres ou plus sont mieux vidangés avec une vanne.

Contrôleur de débit d'eau : appareil, principe de fonctionnement + notice de raccordement

Retirez le boîtier du mur. Vous devez maintenant retirer la bride à laquelle l'élément chauffant est fixé. Dans les modèles Ariston de 80 litres, la bride se fixe avec un seul boulon. Dans les autres cas, vous devrez dévisser 5 boulons.

Contrôleur de débit d'eau : appareil, principe de fonctionnement + notice de raccordement

Le démontage se fait comme ceci :

  • Faites défiler la bride le long de l'axe.
  • Sortez-le du réservoir.

Contrôleur de débit d'eau : appareil, principe de fonctionnement + notice de raccordement

  • Le diagnostic du réchauffeur est effectué avec un multimètre. Lire la suite dans l'article : "Remplacement d'un élément chauffant dans un chauffe-eau".
  • Si l'aiguille du multimètre bouge, la pièce est bonne. Est-il en place ? Vous devez en mettre un nouveau.

Avez-vous remarqué que l'eau chauffe plus longtemps que d'habitude ? Cela ne signifie pas que le radiateur est cassé. La raison en est peut-être l'échelle : au fil du temps, elle se développe en une couche épaisse et interfère avec le transfert de chaleur normal. Nettoyez l'élément avec des moyens spéciaux.

Un manque de chaleur peut indiquer un thermostat cassé. Effectuez un redémarrage sur le panneau de la chaudière. Si l'appareil ne peut pas être redémarré, le thermostat est défectueux.

Un testeur permettra de diagnostiquer plus précisément une panne :

  • Réglez le multimètre sur la position maximale.
  • Fixez les sondes aux contacts du thermostat (situés à côté de l'élément chauffant).
  • La flèche à l'écran bouge-t-elle ? L'appareil fonctionne.

Il existe une autre option :

  • Chauffez le thermostat avec un briquet.
  • Réglez le multimètre sur "minimum".
  • Fixez les sondes aux contacts.
  • Si la flèche s'éloigne de zéro, la pièce fonctionne normalement.

En cas de dysfonctionnement, le thermostat doit être remplacé.Débranchez le câblage de la pièce, sortez-le du trou.

L'installation s'effectue dans l'ordre inverse.

réservoir qui fuit

Vous avez trouvé une fuite ? Inspectez soigneusement toutes les connexions, les tuyaux. Si tout est en ordre, vous devez inspecter le réservoir lui-même. Une fuite peut se produire suite à une forte pression d'eau. Si le corps est gonflé, vérifiez et remplacez la soupape de décharge.

Si le réservoir "a fonctionné", il ne sera pas difficile de le démonter pour vérification. Ouvrez le capot supérieur du produit et regardez à l'intérieur. Les murs et le radiateur sont-ils recouverts de tartre ? Nous devons nettoyer le matériel. Retirez l'élément chauffant et l'anode (ils sont situés à proximité).

Contrôleur de débit d'eau : appareil, principe de fonctionnement + notice de raccordement

Nettoyez soigneusement le tartre de toutes les surfaces et parois du réservoir. Rincer ensuite avec une solution de type Antinakipine. Installez le réchauffeur et une nouvelle anode en magnésium dans le réservoir nettoyé.

Le joint qui fixe les pièces par le bas peut également fuir. Inspectez-le et remplacez-le.

Tous ces travaux peuvent être réalisés indépendamment.

Important : débranchez l'équipement du réseau avant de commencer les travaux

Pannes possibles et moyens de les résoudre

En cas de dysfonctionnements dans le fonctionnement de la station de pompage, un diagnostic général est effectué afin d'exclure une panne de la pompe ou un endommagement de la membrane du réservoir.

L'automatisation peut provoquer un dysfonctionnement dans les cas suivants :

  1. Une pression faible ou excessive se produit lorsque le réglage est incorrect, réajustez.
  2. Le desserrage des vis qui maintiennent le groupe de contacts entraîne une activation ou une désactivation spontanée de l'appareil, un échauffement et même une combustion des contacts, pour éliminer le bloc est remplacé.
  3. Si une canalisation ou un raccord est obstrué, l'appareil réagit avec un retard, est corrigé en nettoyant le système et, pour l'éviter, des filtres fiables sont installés entre la pompe et le capteur.
Lire aussi :  Technologie de bricolage pour le soudage de tuyaux en polypropylène: un aperçu des méthodes et des nuances

Avant d'effectuer des travaux d'entretien, couper l'alimentation électrique et n'effectuer aucune opération avec la pompe en marche.

L'appareil ne fonctionnera pas correctement s'il est placé à une grande distance de l'accumulateur ou s'il a une connexion rétrécie avec le réservoir. Dans ce cas, il est plus facile de refaire le schéma de connexion des équipements.

Comment nettoyer le capteur de pression d'eau, la vidéo vous dira:

Dispositifs de contrôle du débit d'eau

Dans toute situation entraînant un fonctionnement à sec de la pompe, le débit d'eau est insuffisant ou inexistant. Il existe des appareils qui surveillent cette situation - relais et contrôleurs de débit d'eau. Les relais ou capteurs de débit sont des dispositifs électromécaniques, les régulateurs sont électroniques.

Relais (capteurs) du débit

Il existe deux types de capteurs de débit - pétale et turbine. Flap a une plaque flexible qui se trouve dans le pipeline. En l'absence de débit d'eau, la plaque s'écarte de l'état normal, des contacts sont activés qui coupent l'alimentation de la pompe.

Les capteurs de débit à turbine sont un peu plus compliqués. La base de l'appareil est une petite turbine avec un électroaimant dans le rotor. En présence d'un flux d'eau ou de gaz, la turbine tourne, un champ électromagnétique est créé, qui est converti en impulsions électromagnétiques lues par le capteur. Ce capteur, en fonction du nombre d'impulsions, active/désactive l'alimentation de la pompe.

régulateurs de débit

A la base, ce sont des appareils qui combinent deux fonctions : une protection contre la marche à sec et un pressostat d'eau. Certains modèles, en plus de ces caractéristiques, peuvent avoir un manomètre intégré et un clapet anti-retour. Ces appareils sont également appelés pressostats électroniques.Ces appareils ne peuvent pas être qualifiés de bon marché, mais ils offrent une protection de haute qualité, desservant plusieurs paramètres à la fois, fournissant la pression requise dans le système, éteignant l'équipement lorsque le débit d'eau est insuffisant.

Nom Les fonctions Paramètres de fonctionnement de la protection contre la marche à sec Cotes de raccordement Pays producteur Prix
BRIO 2000M Italtecnica Pressostat + capteur de débit 7-15 s 1″ (25mm) Italie 45$
AQUAROBOT TURBIPRESSE Pressostat + débitmètre 0,5 l/min 1″ (25mm) 75$
AL-KO Pressostat + clapet anti-retour + protection marche à sec 45 s 1″ (25mm) Allemagne 68$
Unité d'automatisation Dzhileks Pressostat + protection ralenti + manomètre 1″ (25mm) Russie 38$
Unité d'automatisation Aquario Pressostat + protection ralenti + manomètre + clapet anti-retour 1″ (25mm) Italie 50$

Dans le cas de l'utilisation d'une unité d'automatisation, un accumulateur hydraulique est un dispositif supplémentaire. Le système fonctionne parfaitement sur l'apparition d'un écoulement - l'ouverture d'un robinet, le fonctionnement d'appareils électroménagers, etc. Mais c'est si la marge est petite. Si l'écart est important, un GA et un pressostat sont nécessaires. Le fait est que la limite d'arrêt de la pompe dans l'unité d'automatisation n'est pas réglable. La pompe ne s'arrêtera que lorsqu'elle atteindra la pression maximale. S'il est pris avec une grande marge, il peut créer une surpression (optimale - pas plus de 3-4 atm, tout ce qui est supérieur entraîne une usure prématurée du système). Par conséquent, après l'unité d'automatisation, ils ont mis un pressostat et un accumulateur hydraulique. Ce schéma permet de réguler la pression à laquelle la pompe est arrêtée.

Capteurs de débit de fluide

Contrôleur de débit d'eau : appareil, principe de fonctionnement + notice de raccordement

Les capteurs de débit de liquide sont conçus pour indiquer le débit d'une substance liquide, déterminer la vitesse et mesurer le niveau de débit du produit.

Les contrôleurs de débit modernes sont très sensibles et capables de réagir même à un faible débit de liquide dans la canalisation. Une variété de modèles permet d'utiliser des capteurs de débit pour travailler avec différents types de produits liquides, y compris des substances agressives et dangereuses. Certains fabricants proposent des options antidéflagrantes qui peuvent être utilisées en toute sécurité dans les industries dangereuses.

Portée des capteurs de débit de liquide

Les contrôleurs de débit de liquide sont utilisés pour résoudre divers problèmes dans de nombreuses industries :

  • dans les systèmes d'approvisionnement en eau et d'assainissement pour contrôler l'approvisionnement en eau, maintenir le fonctionnement des équipements de pompage, organiser les systèmes d'évacuation des eaux usées, les installations d'égouts, protéger les équipements de pompage et les moteurs contre le "marche à sec",
  • dans les systèmes de chauffage, de refroidissement, de ventilation et de climatisation pour contrôler l'alimentation en eau, réfrigérant, liquides spéciaux, élimination des déchets liquides du système,
  • dans le secteur du pétrole et du gaz pour contrôler les flux de gaz, de pétrole, de produits pétroliers pendant le transport et le stockage,
  • dans la métallurgie, la sidérurgie dans les systèmes d'alimentation et d'évacuation d'eau et d'autres liquides,
  • dans l'industrie chimique pour travailler avec des types de produits liquides agressifs et dangereux, des systèmes d'alimentation en eau et d'évacuation,
  • dans l'agriculture lors de l'automatisation des processus d'alimentation, dans les abreuvoirs, dans les systèmes d'arrosage et d'irrigation, lors du travail avec des engrais liquides,
  • dans l'industrie alimentaire pour contrôler l'approvisionnement de divers types de produits alimentaires liquides, y compris l'eau minérale, les produits laitiers et à base de lait caillé, les boissons alcoolisées, la bière, etc.

Certains types de capteurs de débit de liquide conviennent également pour travailler avec des gaz, ce qui élargit considérablement les possibilités d'utilisation d'appareils dans l'industrie et la vie quotidienne.

Types de commutateurs de débit de liquide et leur objectif

Les types modernes de commutateurs de débit de fluide ont un objectif principal commun - contrôler la présence ou l'absence du débit du fluide de travail dans le pipeline. Les différences résident dans les principes de fonctionnement et les possibilités d'utilisation des capteurs.

  1. Contrôleur de débit mécanique à palette est un appareil intégré dans le tuyau, équipé d'une lame spéciale. S'il y a du débit dans la conduite, la palette dévie, provoquant la fermeture des contacts et le déclenchement du capteur. Le relais à palettes n'a pratiquement aucune restriction d'utilisation, s'use peu et ne nécessite pas d'entretien.
  2. Débitmètre thermique surveille la présence de débit en mesurant le niveau de dissipation de l'énergie thermique de l'élément chauffant intégré. En fonction de la vitesse d'évolution de la température de l'élément chauffant, le débit est enregistré, ainsi que sa vitesse si cette fonction est disponible. Le principe de mesure de débit à fil chaud ne convient pas à certains liquides dangereux. Pour maintenir la fiabilité de l'enregistrement, il est nécessaire de maintenir la propreté des éléments sensibles du capteur. Certains types d'appareils ne conviennent pas pour fonctionner dans des conditions de débit en constante évolution.
  3. Débitmètre à piston mécanique fonctionne sur la base d'un système de piston magnétique. Lorsqu'il y a du débit, le piston intégré avec aimant monte, provoquant la fermeture des contacts et déclenchant le capteur. En l'absence de débit, le piston revient à sa position d'origine.Le transmetteur à piston est parfaitement adapté aux applications haute pression et est disponible dans une variété de modèles pour un montage dans la position la plus pratique.
  4. Principe de fonctionnement contrôleur de débit de liquide à ultrasons est basé sur les propriétés de l'effet acoustique qui se produit lorsque des impulsions ultrasonores sont transmises à travers le flux de produit. A l'heure actuelle, les dispositifs qui utilisent le mouvement des vibrations ultrasonores par un flux en mouvement sont les plus largement utilisés.
  5. indicateurs de débit - ce sont des dispositifs avec une ou deux fenêtres pour le contrôle visuel et une lame rotative ou un volet rotatif comme dispositif de signalisation de la présence et de la direction du flux, en outre, il existe des structures de tuyauterie avec des dispositifs de nettoyage des substances. Dans certains modèles, il est possible de recevoir des signaux de sortie de commande électrique (relais, débit).

Évaluation
Site sur la plomberie

Nous vous conseillons de lire

Où remplir la poudre dans la machine à laver et combien de poudre verser