Comment faire un poêle en brique et en métal pour un bain

La base du poêle de sauna

Les fours pesant jusqu'à 750 kg ne nécessitent pas de fondation.

Son rôle sera joué par une feuille d'amiante, recouverte d'une tôle de fer tendre et posée sur un mortier d'argile. Les dimensions d'une telle base sont choisies supérieures aux dimensions du futur four de 25 cm de chaque côté.

Pour les fours les plus lourds, une fondation est nécessaire.

Recommandation Le poids d'un mètre cube de maçonnerie est de 1350 kg. Utilisez ces informations pour déterminer le poids du four.

Il est inacceptable de bander (connecter) les fondations du bain et du four, car la pression du massif four à brique allumé un point de la base du bain entraînera un tassement irrégulier et créera un risque supplémentaire de destruction des deux structures.

Si le bain est installé sur une fondation en dalle, une base de poêle séparée n'est pas nécessaire. Lors du choix de la profondeur de pose des fondations du four, vous devez vous concentrer sur la profondeur des fondations du bain.

Travail préparatoire

Les travaux commencent par la préparation du chantier. Si le poêle est installé dans le mur entre le hammam et le dressing, une partie du mur est découpée. Lorsqu'ils sont placés dans un coin, les murs sont protégés par une isolation thermique minérale, après quoi ils sont revêtus de briques rouges. Lors du choix d'un emplacement, il est impératif de prévoir comment la cheminée sera installée - il est possible que des poutres de plancher ou des chevrons empêchent son installation.

Comment calculer et installer la fondation

Vous devez savoir que même un petit poêle en métal est une structure impressionnante, sans parler des structures en briques pesant des centaines de kilogrammes. Par conséquent, la première chose à faire est de construire une base solide et fiable.

Pour construire une fondation :

  • Sur le site d'installation de la structure, une fosse est creusée avec une profondeur de 0,5 à 0,6 m et des dimensions supérieures de 20 à 25 cm aux dimensions du four.
  • Le fond de la fosse est recouvert de sable (couche 10-15 cm), après quoi il est versé avec de l'eau et soigneusement compacté.
  • Après cela, un coussin de pierres concassées ou de criblures de granit jusqu'à 20 cm d'épaisseur est posé.
  • Pour équiper une dalle en béton armé autour du périmètre de la fosse, un coffrage en planches est construit, à l'intérieur duquel une ceinture blindée est montée à une hauteur de 7 à 10 cm du fond.
  • Le béton pour la fondation est préparé en mélangeant 1 partie de ciment M-400 avec 4 parties de pierre concassée et 3 parties de sable.Lors de l'utilisation de ciment M-500, la proportion de sable peut être augmentée à 4 parties. Il devrait y avoir suffisamment d'eau pour que le béton posé dans une glissière ne se répande pas et conserve en même temps sa plasticité. Immédiatement après la préparation, la solution est versée dans le coffrage, nécessairement compactée par vibration. La surface de la fondation est nivelée avec une règle, après quoi elle est recouverte d'un film plastique et laissée jusqu'à ce que la solution soit complètement prise.

S'il est prévu d'installer un four en métal avec un revêtement ultérieur en brique rouge ou en pierre, les dimensions de la fondation doivent nécessairement tenir compte des dimensions de la structure finale.

Règles de préparation de la solution

Pour la pose d'un radiateur en brique, vous pouvez utiliser à la fois des mélanges d'usine et un simple mortier argile-sable. Pour sa préparation, le sable de rivière et l'argile huileuse sont les mieux adaptés - il est plus plastique et, en cours de séchage, il forme une couture solide. Pour déterminer la quantité des deux composants, une expérience est réalisée. Pour ce faire, de petites parties d'argile et de sable sont mélangées dans des proportions différentes, après quoi des boules d'environ 5 cm de diamètre sont roulées hors de la solution.Des morceaux d'argile séchés pendant plusieurs minutes sont pressés entre deux planches de bois, en observant le début de leur fissuration superficielle. La composition optimale est celle dans laquelle la balle n'a commencé à s'effondrer qu'après avoir été comprimée aux 2/3 de sa taille d'origine. Si cela se produit plus tôt, la quantité d'argile dans la solution doit être augmentée.

Comment faire un poêle en brique et en métal pour un bain

Non seulement la facilité d'utilisation, mais aussi la résistance de l'ensemble de la structure dépendent de la qualité de la solution d'argile.

Pour obtenir une solution de haute qualité, l'argile est nettoyée des impuretés et soigneusement malaxée. Après cela, il est trempé dans de l'eau froide pendant une journée.

Une autre façon de déterminer la qualité du mélange de maçonnerie consiste à abaisser une spatule en bois dans un seau de mortier. Le mélange ne doit pas s'écouler immédiatement après avoir retiré l'outil du récipient - cela indique une augmentation de la teneur en sable. S'il y a beaucoup d'argile, la composition se répandra de manière inégale sur la surface de la lame, avec formation de grumeaux. La composition optimale forme une couche de 1,5 à 2 mm d'épaisseur.

couper des ébauches

Pour la construction d'un four à métaux, une tôle d'acier d'une épaisseur d'au moins 4 mm est utilisée. Pour le couper avec une meuleuse, cela prendra beaucoup de temps et d'efforts, en plus, vous devrez passer plus d'un disque abrasif. Si possible, il est préférable de couper le métal à l'avance à l'aide d'un coupe-gaz ou d'un coupe-plasma. Même si vous ou vos amis ne disposez pas d'un tel équipement, ne désespérez pas. Désormais, dans n'importe quelle entreprise ou service de voiture à proximité, il y a tout ce dont vous avez besoin, y compris un spécialiste qui peut vous aider.

Comment faire un poêle en brique et en métal pour un bain

Pour couper les ébauches, il est préférable d'utiliser un outil spécial

Le choix de la conception du poêle de sauna

Idéalement, une source de chaleur en métal devrait répondre aux exigences suivantes :

  1. Réchauffez-vous rapidement et augmentez la température dans le hammam. Avec cela, les poêles en fer font un excellent travail.
  2. Gardez au chaud le plus longtemps possible. Étant donné que l'acier se réchauffe et se refroidit rapidement, vous aurez besoin d'un appareil de chauffage qui stocke la chaleur ou d'une augmentation du temps de combustion de la chambre de combustion. La troisième option consiste à recouvrir le poêle du sauna de briques après l'installation.
  3. Occupez un minimum d'espace utilisable dans le hammam. Si le volume de cette pièce est trop petit, il est préférable de choisir une conception verticale avec une porte de chargement placée dans le dressing.
  4. L'appareil de chauffage doit être sans danger pour les personnes qui se lavent dans le bain. Pour vous protéger des brûlures, vous pouvez installer un boîtier de convection en tôle de fer sur le boîtier ou, encore, construire un mur de briques autour du boîtier.
Lire aussi :  Test de l'aspirateur balai Delonghi XLR18LM R : un appareil élégant et léger pour un nettoyage express

Comment faire un poêle en brique et en métal pour un bain

Les poêles en fer à faire soi-même pour un bain sont des modèles suivants:

  • avec un corps orienté dans l'espace verticalement ou horizontalement ;
  • fondu directement du hammam ou de la pièce voisine (une porte de foyer à distance est réalisée);
  • avec et sans réservoir d'eau;
  • avec chauffage extérieur ou intérieur.

Comment faire un poêle en brique et en métal pour un bain

Chauffage vertical

Le corps vertical du poêle montré sur la photo donne 1 avantage - économiser de l'espace dans le bain. Il y a plus d'inconvénients: un temps de combustion court (du fait que la flamme couvre toute la pose de bois de chauffage) et un transfert de chaleur pas trop élevé. Selon ces paramètres importants, un chauffe-bain horizontal surpasse un chauffe-bain vertical, mais occupe en même temps une grande surface.

Comment faire un poêle en brique et en métal pour un bain

Poêle horizontal avec réchauffeur et réservoir

S'il n'y a pas de chauffe-eau électrique dans le bain, il ne coûte rien de mettre un réservoir pour chauffer l'eau destinée au lavage sur le poêle ou la cheminée. Il peut être soudé à partir de métal ordinaire, et de préférence d'acier inoxydable. Il existe également un moyen plus pratique de chauffer l'eau: un réservoir situé dans la salle de lavage est connecté tuyaux avec de l'acier échangeur de chaleur de type samovar installé sur la cheminée.

Acier échangeur de chaleur de cheminée

Le poêle ouvert, hérité du sauna finlandais, chauffe jusqu'à 400°C maximum, mais on peut le verser avec de l'eau pour "succomber au parc".Kamenka, fermée à l'intérieur du corps du poêle, accumule plus de chaleur, se réchauffant jusqu'à 700-800 ° C, mais en même temps, elle est polluée par le passage des gaz de combustion et nécessite donc un nettoyage périodique.

Maçonnerie des murs du four

La brique doit être humidifiée avant la pose. Appliquez ensuite la quantité de solution requise.

La brique est bien en place. Le mortier déplacé par la brique est enlevé.

Il n'est pas nécessaire d'enduire les surfaces internes d'argile, l'excès de mortier est ici inacceptable. Après séchage, il exfolie et obstrue le canal de la cheminée.

Le moulage du four est installé directement pendant la maçonnerie et fixé avec du fil. Pour que les portes s'adaptent parfaitement à la maçonnerie, elles sont enroulées autour du périmètre avec un cordon d'amiante.

Le cordon scellera les points de contact et ne permettra pas à la porte en fonte de se dilater lorsqu'elle est chauffée pour détruire la maçonnerie.

Installation d'une fournaise en métal avec un foyer à distance dans une maison en rondins

Considérons la possibilité de monter un mur anti-retrait résistant au feu en minérite LV. Une méthode de fixation spéciale permettra l'installation dans une maison en rondins avant qu'elle ne rétrécisse, et la conception flottante des fixations empêchera le mur rigide de se déformer.

Comment faire un poêle en brique et en métal pour un bain

Minérite LV

Comment faire un poêle en brique et en métal pour un bain

Minérite

Étape 1. Nous préparons une ouverture dans le mur. Nous le coupons avec une tronçonneuse selon le balisage.

Comment faire un poêle en brique et en métal pour un bain

trou dans le mur

Étape 2. Nous recouvrons la surface intérieure de l'ouverture de minéralite. Sciez la feuille de minérite en trois segments. Nous coupons deux morceaux verticaux du calcul hauteur d'ouverture moins 10 cm. Nous découpons la partie horizontale avec une longueur égale à la largeur de l'ouverture moins 2 cm.La largeur du segment de minérite doit être égale à l'épaisseur bois ou boisà partir de laquelle le mur du bain a été construit.

Étape 3. Nous clouons la feuille à l'intérieur autour du périmètre, puis la minérite. Fixez d'abord les segments verticaux avec des clous, puis les segments horizontaux.

Étape 4. Il est nécessaire de faire une ouverture dans les feuilles de minéralite, qui protégera le mur de la chaleur du four. Par cette ouverture passera le foyer à distance de la fournaise. On prend les mesures du foyer déporté, puis on fait un balisage au crayon et on découpe la tôle de manière à ce qu'il reste 3 cm entre le canal déporté et la tôle de chaque côté.

Comment faire un poêle en brique et en métal pour un bain

Installation de feuille et de minérite. L'ouverture peut être finie avant et après l'installation des plaques réfractaires principales.

Vous pouvez faire autrement - nous fixons d'abord la feuille sur le mur, puis nous coupons l'ouverture pour le foyer à distance.

Comment faire un poêle en brique et en métal pour un bain

Fixation de la minérite au mur

Comment faire un poêle en brique et en métal pour un bain

La feuille est fixée, vous pouvez couper l'ouverture

Étape 5. Nous forons des trous ovales dans la feuille pour les vis autotaraudeuses. Lorsque le rétrécissement se produit, les vis descendent à l'intérieur de ces trous, tandis que la feuille reste immobile. Nous fixons l'isolant en feuille sur le mur (avec une agrafeuse), puis avec des vis autotaraudeuses avec une rondelle une feuille de minérite (nous montons la feuille du côté du hammam).

Étape 6. Nous fixons la deuxième couche de minéralite avec un entrefer de 3 cm.Pour ce faire, vous devez acheter un kit de montage avec des bagues en céramique ou en acier.

Comment faire un poêle en brique et en métal pour un bain

Prêt-à-monter

Vous devez à nouveau percer des trous ovales, mais en même temps, nous nous assurons que les attaches des première et deuxième feuilles ne tombent pas en un seul point.

Comment faire un poêle en brique et en métal pour un bain

La photo montre le schéma d'installation d'un écran de protection en minérite. Doublure double couche. Si le poêle a un foyer déporté, faire une ouverture selon les instructions

Lors de l'assemblage de deux feuilles à 90 degrés, nous coupons les extrémités à 45 degrés pour un aspect plus esthétique.

Après avoir monté les tôles, installez le four sur la base. Nous ajustons les jambes, veillons à ce que le canal distant soit situé exactement au centre de l'ouverture découpée dans la minérite.Nous prenons de la laine de basalte recouverte d'une feuille d'aluminium et la posons étroitement entre les parois du canal éloigné et la minérite. Dans ce cas, la feuille doit "regarder" vers les parois en acier du canal.

Des astuces

Les maîtres utilisent différentes méthodes pour installer les poêles et protéger les murs. Ainsi, par exemple, dans un bain de bûches, il sera plus pratique d'installer une minérite sur une caisse en bois. Antisepticisez les barres de 50x50 mm, percez des trous pour les vis autotaraudeuses et fixez les crémaillères de la caisse exactement à la verticale. La minerite sera fixée à cette caisse avec des vis autotaraudeuses.

Comment faire un poêle en brique et en métal pour un bain

Caisse

Si vous envisagez de fermer le mur de l'intérieur (du côté du hammam) avec de la minéralite pour une finition supplémentaire, par exemple avec une serpentine, et de terminer le portail avec des briques de l'extérieur, cela vaut la peine de faire le travail suivant séquence:

  • du côté du hammam, fixez une feuille de minérite;
  • découpez un trou pour le canal distant ;
  • fixez les guides horizontaux du profil de cloison sèche. Fixez les planches avec des vis autotaraudeuses en haut de l'ouverture, le long du bas et exactement au-dessus de l'ouverture du canal de carburant ;
  • installez les supports verticaux de la caisse à partir du profil, fixez-les avec des vis autotaraudeuses à travers les étagères;
  • prenez de la laine de basalte et posez-la entre les étagères de la caisse;
  • coudre l'ouverture avec de la minérite (du côté du dressing);
  • installez le four à sa place;
  • maintenant, du côté du dressing, posez l'ouverture avec une brique (n'oubliez pas de poser l'isolant dans les fissures), et du côté du hammam, réalisez des garnitures décoratives en pierre.

Comment faire un poêle en brique et en métal pour un bain

Gainage et isolation

Comment faire un poêle en brique et en métal pour un bain

Vue depuis le hammam et le dressing

Lire aussi :  Machines à laver Candy : TOP 8 des meilleurs modèles + tour d'horizon des caractéristiques uniques des appareils de la marque

Comment faire un poêle en brique et en métal pour un bain

Portique de four fixe

Comment faire un poêle en brique et en métal pour un bain

Murs et cheminée après finition avec un serpentin

Comment faire un poêle en brique et en métal pour un bain

Procédé de finition au four

Les travaux d'installation du four ne s'arrêtent pas là. Assurez-vous d'installer réservoir d'eau et un échangeur de chaleur, si prévu dans la conception, montez la cheminée conformément aux règles de sécurité incendie, préparez et posez les pierres dans le filet.

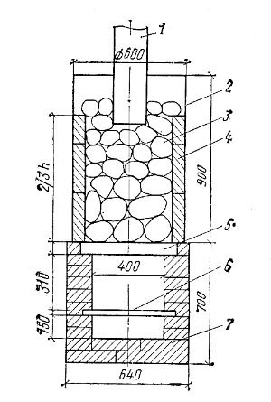
Pierres pour le chauffage

Comme mentionné ci-dessus, les pierres à haute capacité thermique et en même temps à faible conductivité thermique conviennent au chauffage.

Comment faire un poêle en brique et en métal pour un bain

Types de pierres utilisées pour les poêles

L'utilisation de roches de type métamorphique - ardoise, marbre, dolomite ou calcaire - est contre-indiquée : elles se caractérisent non seulement par un rapport incorrect entre la capacité calorifique et la conductivité thermique, mais également par la présence d'impuretés organiques qui, lorsqu'elles sont chauffées, sont libérés sous forme de gaz nocifs pour la santé. Les roches d'origine volcanique à haute densité conviennent mieux aux appareils de chauffage: stéatite, gabbro, diabase et, bien sûr, basalte. Ils se caractérisent par les caractéristiques suivantes :

  • gros poids;
  • couleur sombre;
  • la fracture est lisse ou à grains fins.

Il est important de choisir la bonne forme des pierres. Pour réduire la part du chauffage par convection à 1/3, leur surface par unité de volume doit être minimale

Cette exigence est satisfaite par la forme d'une balle avec une surface aussi lisse que possible. En conséquence, les pierres doivent être recherchées aussi arrondies que possible. Le plus grand peut avoir un diamètre de 100 à 150 mm (environ la taille d'un poing ou un peu plus), le plus petit - à partir de 20 mm.

La méthode de pose des pierres dépend du type de chauffage. S'il coule, comme dans les fours décrits ci-dessus, la taille de la fraction dans les couches doit diminuer dans le sens de bas en haut, c'est-à-dire que les plus grosses pierres sont en bas, les plus petites en haut.

Lors de la pose d'un radiateur sourd, le principe inverse est utilisé: ici, il est important d'assurer le transfert de chaleur le plus rapide possible du poêle chauffé vers les pierres, de sorte que les plus petites d'entre elles (elles se trouvent dans une couche plus dense) sont posées

Vidéo: pose correcte des pierres dans un poêle de sauna

Le poêle de sauna diffère dans une large mesure des poêles de chauffage et de cuisson conventionnels.

Et bien qu'il soit utilisé moins souvent, le processus de construction doit être abordé avec beaucoup plus d'attention.

Cheminée pour poêle de sauna

Il existe différents classements :

  1. Selon le matériau : brique et métal Par mode d'installation : interne et externe.

point de sortie cheminée de les toits doivent être isolés avec des matériaux résistants à la chaleur et la cheminée doit être protégée de l'humidité par une visière.

Astuce Un bon choix est une cheminée sandwich. Il est facile à installer et protégé de la condensation.

Trouver le bon projet de four sous forme finie est presque impossible. La commande coûte cher. Pour économiser de l'argent, vous pouvez sélectionner le projet approprié et corriger son ordre.

Un schéma de commande détaillé est une description exacte de la place de chaque brique dans la maçonnerie. Il est recommandé de montrer le projet corrigé aux spécialistes.

Schémas de maçonnerie

S'il n'est pas arrivé auparavant de construire un appareil de chauffage, il est recommandé de ne pas le prendre personnellement pour l'élaboration d'un dessin, mais de trouver une commande toute faite et de l'utiliser. Actuellement, divers schémas de maçonnerie sont utilisés, dont les plus complexes sont choisis par les professionnels et les plus simples par les amateurs. Dans les deux cas, le résultat est satisfaisant, et le four fonctionne efficacement. En plus des méthodes de maçonnerie traditionnelles, ils distinguent également l'ordre des cloches poêles de sauna Kouznetsov. Cette conception prend beaucoup moins de place.

La commande commence toujours par la fondation du four, la rangée dite zéro. A ce niveau, l'installation est continue, mais une demi-fenêtre est généralement laissée sur le côté afin de créer une traction supplémentaire et de nettoyer le conduit de cheminée. Au niveau suivant, la ligature est effectuée - cela signifie que la rangée est décalée de 30 à 50% pour rendre la structure stable. Si vous avez besoin de moitiés ou de quarts de brique, il est recommandé d'utiliser une meuleuse avec un disque diamanté. Il faut se rappeler que de tels éléments ne peuvent pas être situés dans des cheminées, dont les puits sont toujours assemblés à partir de briques pleines, mais uniquement à l'intérieur de la structure.

Au troisième niveau, un amortisseur apparaît généralement et l'installation de la porte du cendrier commence. La quatrième ligne indique l'apparence d'une porte d'échantillonnage de suie. À la sixième étape, en règle générale, l'arbre est divisé en deux parties à l'aide d'un cavalier, dont l'une deviendra l'arbre de la dalle. Au douzième rang, une des mines sera posée et une principale restera. Habituellement, aux vingt-cinquième et vingt-sixième étapes, la maçonnerie de la structure principale se termine, puis la cheminée est posée.

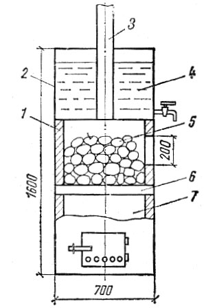
Poêle-réchauffeur

Comment faire un poêle en brique et en métal pour un bain

L'élément le plus important du bain est le poêle. De nos jours, les poêles sont généralement utilisés à ces fins. Ils sont en brique et en métal. Il est difficile de dire à partir de quel matériau le poêle-chauffage est meilleur. Ici, tout dépend plutôt de certaines circonstances, à savoir la superficie du bain, le nombre de personnes séjournant dans cette pièce par jour, etc. Compte tenu de cela, nous examinerons les caractéristiques d'un radiateur en métal et en brique séparément.

Kamenka arrive aussi fermé et ouvert. Un radiateur ouvert chauffe rapidement, mais refroidit également rapidement. Cela fonctionne très bien pour les petites entreprises.Les pierres d'un tel four sont empilées sur la chambre de combustion en tas. Leur température peut monter jusqu'à 250º.

Le réchauffeur fermé transfère la chaleur au même niveau. Il a une porte vapeur. Pendant le processus de combustion, la porte est fermée, de sorte que la fumée du feu ne pénètre pas dans la pièce. La porte ne peut être ouverte que devant l'entrée du hammam. Grâce à cela, la température dans le hammam se réchauffe jusqu'à 60º.

de la brique

Comment faire un poêle en brique et en métal pour un bain

La particularité du poêle-chauffage en brique est qu'il a des murs épais construits en briques résistantes à la chaleur. Le four de ce type est assez grand, a un fermé chauffage et grand volume des pierres. Seuls des combustibles solides peuvent y être brûlés. En règle générale, il s'agit de bois de chauffage ou de tourbe.

Parmi les avantages du four, il convient de noter les suivants:

  1. Possibilité de chauffer des bains de plus de 30 m2.
  2. La conception est ignifuge.
  3. Maintient longtemps la chaleur du bain.
  4. Même le deuxième jour, la chaleur dans les bains publics reste autour de 20º, ce qui vous permet d'utiliser la pièce, par exemple, pour laver les vêtements.

métal

Comment faire un poêle en brique et en métal pour un bain

Les radiateurs métalliques chauffent le bain pendant seulement 1,5 à 2 heures. Ils sont assez compacts, ils sont donc idéaux pour les petits espaces. Les Kamenki sont généralement de type ouvert. Les pierres sont chauffées par la chambre de combustion. Dans un four à métal, vous pouvez brûler différents types de combustible, selon le modèle.

Lire aussi :  Tablettes pour lave-vaisselle Fairy : aperçu de la gamme de produits et avis des clients

Les principaux avantages du four:

  • Chauffage rapide du bain.
  • La conception est de petite taille, a un petit poids, ce qui réduit le coût de son installation.
  • La possibilité de prendre des bains pendant le processus de chauffage.

Sur ce point, une description générale du processus d'installation d'un four à briques pour un bain peut être considérée comme complète.Pour une compréhension plus complète du processus, vous pouvez vous familiariser avec les vidéos pertinentes sur le sujet.

Autres éléments structurels

Réinstaller le four ne suffit pas. Il ne fonctionnera que s'il y a une bonne traction, qui sera fournie par une cheminée correctement construite. De plus, dans un vrai bain, il devrait y avoir non seulement de la vapeur sèche, mais également une quantité suffisante d'eau chaude. Pour ce faire, le four est équipé d'une cuve permettant de le chauffer.

Installation d'une cheminée (cheminée) dans un bain russe

Sa conception dépend entièrement du four auquel il est destiné. Ainsi, une unité de brique massive a besoin d'un tuyau avec une zone d'écoulement accrue, alors que même la poussée dans un petit appareil de chauffage fournira cheminée d'un diamètre de 100 mm. Lors du calcul de la cheminée, les experts recommandent de partir de la taille de l'ouverture du ventilateur, en prenant sa section égale à 1/2 de la surface de la fenêtre pour l'alimentation en air.

L'épaisseur des murs de la cheminée, ainsi que la section transversale du canal interne, ne doivent pas être inférieures à une demi-brique. Pendant le processus de construction, deux types de mortier sont utilisés - l'argile pour construire un ensemble de tuyaux à l'intérieur et du ciment ou de la chaux pour travailler à l'extérieur. Grâce à ce dernier, les joints de maçonnerie ne s'effondreront pas sous l'influence de l'humidité.

Même à installation de cheminée pour poêle de sauna et des exigences plus loyales sont imposées que pour les appareils de chauffage des bâtiments résidentiels, il doit s'élever au-dessus du niveau du toit d'au moins 0,5 m.

Le four peut être équipé de métal ou tuyau d'amiante

Dans le même temps, il est important de rendre sa partie inférieure résistante à la chaleur, pour laquelle une pièce en acier ou en fonte à paroi épaisse est installée à une distance d'au moins 1 m

Installation d'un ballon d'eau chaude (échangeur de chaleur liquide)

Le poêle de sauna peut être équipé d'un chauffe-eau. réservoir ouvert ou fermé. Si le bâtiment est raccordé à l'alimentation en eau, il est préférable d'installer un récipient scellé, assurez-vous de l'équiper d'une soupape de sécurité configurée pour fonctionner lorsque la pression dans le système est dépassée de 3 à 4 atm. Sinon, vous devrez remplir le chauffe-eau manuellement, par l'ouverture dans sa partie supérieure.

Le chauffage de l'eau dans un réservoir s'effectue de deux manières. La première est que le conteneur est installé à l'arrière du foyer ou au-dessus de celui-ci. La seconde concerne l'installation d'un chauffe-eau sur la cheminée. En passant par le canal interne, les gaz chauffés dégagent leur chaleur, chauffer rapidement l'eau jusqu'à haute température.

Comment faire un poêle en brique et en métal pour un bain

Le réservoir d'eau vous fournira de l'eau chaude

Pour la fabrication d'une chaudière, une tôle d'acier d'une épaisseur d'au moins 3 mm est utilisée, en soudant ses joints avec un joint continu. Le tuyau installé à l'intérieur doit être épais, sinon il se corrodera rapidement en raison de l'humidité et de la température élevées.

Si le bâtiment a de l'eau courante (par exemple, si votre baignoire à cadre a une salle de bain), le réservoir peut être remplacé par un échangeur de chaleur liquide. Son contour est soudé à partir de tuyaux en acier d'un diamètre allant jusqu'à 1 pouce, installant la structure à l'arrière du four. Pour empêcher l'eau de bouillir, l'échangeur de chaleur est équipé d'une vanne de dérivation, à partir de laquelle une canalisation est posée vers le réchauffeur.

Instructions de fabrication avec commandes

Artisanat four en briques pour un bain avec un radiateur fermé ou ouvert est facile. Vous devez choisir le matériel et apprendre tout le processus de travail.

Poêle de maçonnerie de type ouvert

Lorsque la base en béton est complètement prête, vous pouvez poursuivre les travaux.Vous trouverez ci-dessous les principaux travaux de construction sur la pose d'un poêle pour un poêle de sauna avec vos propres mains en briques et un schéma d'actions.

La commande d'un four à briques pour un bain de vos propres mains avec un radiateur ouvert peut être vue sur la photo ci-dessous:

Comment faire un poêle en brique et en métal pour un bain

Photo-instruction pour la pose d'un poêle ouvert pour un bain:

Comment faire un poêle en brique et en métal pour un bainComment faire un poêle en brique et en métal pour un bainComment faire un poêle en brique et en métal pour un bainComment faire un poêle en brique et en métal pour un bainComment faire un poêle en brique et en métal pour un bainComment faire un poêle en brique et en métal pour un bainComment faire un poêle en brique et en métal pour un bainComment faire un poêle en brique et en métal pour un bainComment faire un poêle en brique et en métal pour un bainComment faire un poêle en brique et en métal pour un bainComment faire un poêle en brique et en métal pour un bainComment faire un poêle en brique et en métal pour un bainComment faire un poêle en brique et en métal pour un bainComment faire un poêle en brique et en métal pour un bainComment faire un poêle en brique et en métal pour un bainComment faire un poêle en brique et en métal pour un bainComment faire un poêle en brique et en métal pour un bainComment faire un poêle en brique et en métal pour un bainComment faire un poêle en brique et en métal pour un bainComment faire un poêle en brique et en métal pour un bainComment faire un poêle en brique et en métal pour un bainComment faire un poêle en brique et en métal pour un bain

Commande d'un poêle fermé pour un bain

Comment faire un poêle en brique et en métal pour un bain

Description de la maçonnerie d'un poêle-chauffage fermé pour un bain:

  • La première rangée doit être parfaitement égale. Plus loin sur ses briques à l'aide d'un fil à plomb, la verticale des murs est vérifiée.
  • Un cendrier est en cours de fabrication. Il est nécessaire pour les déchets qui restent dans le processus de combustion du carburant.
  • Au niveau de la troisième rangée, le ventilateur est fixé avec une bande d'acier. Habituellement, il régule le processus de combustion : si vous ouvrez la vanne, la flamme commence à brûler plus intensément.
  • Les coins en acier de la grille sont posés au-dessus de la cinquième rangée.
  • Après cela, ils commencent à poser le foyer.
  • Au sixième rang, le foyer est aménagé avec des briques en argile réfractaire. La hauteur de la chambre de combustion est généralement de 25 cm et la largeur est légèrement supérieure - 30. Une grille est posée sur le dessus.
  • De plus, la zone du four s'agrandit progressivement. La maçonnerie extérieure en briques réfractaires se rétrécit.
  • Il est nécessaire de créer des trous pour l'alimentation en air secondaire. Pour ce faire, les briques latérales sont coupées avec des dents.
  • La pose de la brique extérieure se poursuit.
  • Les portes du foyer sont fermées.
  • Un déflecteur de cheminée est installé.
  • Le réservoir d'eau est installé.
  • Au niveau du quinzième rang, le foyer est recouvert par le haut d'une dalle en matériau durable sur laquelle seront posées des pierres.
  • Le compartiment où seront posées les pierres est en cours de pose, il devrait être assez grand.
  • La cheminée est en briques réfractaires et se rétrécit progressivement vers le haut. L'amortisseur est installé.La cheminée peut être installée à travers le toit ou le mur. Pour ce faire, aux endroits où il passe, vous devez mettre une couche d'isolation thermique. La cheminée pendant le fonctionnement peut devenir poussiéreuse avec des sédiments provenant du combustible. Pour éviter cela, vous pouvez réaliser une protection en étain sous forme de capuchon.

Après l'installation, séchez bien l'appareil. Toutes les portes doivent être ouvertes et dans cet état, laisser aérer le produit pendant plusieurs jours, et de préférence pendant une semaine.

Vous ne pouvez pas utiliser immédiatement le dispositif thermique au maximum. Toute l'humidité doit être éliminée. Pour cela, faites chauffer le four à bûches pendant plusieurs minutes pendant plusieurs jours. S'il ne reste aucune goutte humide sur le registre, l'appareil est prêt à fonctionner.

Évaluation
Site sur la plomberie

Nous vous conseillons de lire

Où remplir la poudre dans la machine à laver et combien de poudre verser