- Détartrage sans retirer l'échangeur de chaleur de la chaudière ou de la colonne
- Qu'est-ce qui est préférable de prendre un filtre d'échelle pour une colonne ? - question dans les commentaires
- Nettoyage mécanique
- Pourquoi est-il nécessaire de rincer les chaudières à gaz ?
- Comment savoir qu'il y a une échelle dans le système
- L'échangeur de chaleur de la chaudière à gaz est encrassé, que dois-je faire ?
- calcaire
- Caractéristiques de conception des échangeurs de chaleur
- Options de nettoyage de chaudière à gaz
- Nettoyage manuel
- Nettoyage chimique
- Solutions pour le nettoyage de l'échangeur de chaleur
- Nettoyage hydrodynamique
- Rinçage des chaudières à gaz à un circuit et à double circuit
- Comment rincer l'échangeur de chaleur d'une chaudière à double circuit
- Comment rincer l'échangeur de chaleur d'une chaudière à double circuit
- Comment nettoyer l'échangeur de chaleur?
- Rinçage d'une chaudière à gaz à un circuit et à double circuit
- matériaux
- Acier
- fonte
- Cuivre
- Aluminium
- Travailler avec AOGV
Détartrage sans retirer l'échangeur de chaleur de la chaudière ou de la colonne
La vidéo suivante montre comment assembler l'appareil le plus simple à partir de moyens improvisés pour nettoyer l'échangeur de chaleur sans le retirer de la chaudière.
Je souhaite attirer votre attention sur les points suivants :
- La pompe peut être prise parmi toutes celles disponibles, y compris parmi les équipements usagés.
- Assurez-vous d'installer un filtre à l'entrée de la pompe ou après la pompe, à l'alimentation en eau de la chaudière.Sinon, la saleté du récipient avec la solution retournera dans la chaudière et obstruera le filtre et le capteur de débit dans la chaudière.
- Il est préférable de chauffer la solution jusqu'à 60 degrés.Pour ce faire, vous pouvez même allumer la chaudière pendant une courte période pour chauffer de l'eau chaude.
Dans cette variante, le sens de déplacement de la solution de nettoyage ne doit pas être modifié. Il doit correspondre à la direction du mouvement de l'eau pendant le fonctionnement de la chaudière.
Vous devez être plus prudent dans le choix de la composition et de la concentration de la solution de détartrage. Les solutions peuvent avoir un effet destructeur sur d'autres parties de la chaudière, y compris celles constituées de divers métaux, plastiques et caoutchouc.
Qu'est-ce qui est préférable de prendre un filtre d'échelle pour une colonne ? - question dans les commentaires
Les fabricants de chauffe-eau prescrivent que si la dureté de l'eau est supérieure à 20º F (où 1º F = 10 mg CaCO3 pour 1 litre d'eau), il est impératif d'installer un distributeur de polyphosphate (filtre) ou un système similaire d'adoucissement de l'eau.
Je recommande de lire la fiche technique de l'appareil lors du choix. Le passeport technique doit obligatoirement indiquer sous forme numérique et avec des unités de mesure l'efficacité de réduction de la dureté de l'eau après le filtre. S'il n'y a que des mots généraux sur le but, sans chiffres, alors c'est un canular.
Par exemple, il existe des appareils en vente qui s'appellent quelque chose comme ça - des convertisseurs d'échelle électromagnétiques. Dans le document officiel, dans la fiche technique de l'appareil, il n'y a aucun indicateur d'une diminution de la dureté de l'eau après l'appareil. Ou un autre indicateur de performance vérifiable. Le fabricant ne promet ni ne garantit quoi que ce soit de spécifique à l'acheteur. Et ce n'est pas un hasard !
Plus d'articles sur ce sujet :
⇆
Nettoyage mécanique
Lors du choix de cette option, il convient de rappeler que l'élément lui-même dans le corps de la chaudière prend beaucoup de place. Il est situé dans la plupart des cas au-dessus de la chambre de combustion. L'atteindre n'est pas facile. Pour accéder à l'échangeur de chaleur à gaz, il est nécessaire de démonter les parties extérieures du boîtier. Pour ce faire, débranchez les tuyaux de gaz et les cordons électriques, le cas échéant. Ensuite, l'élément lui-même est directement déconnecté des tuyaux. Enfin, à la dernière étape, les attaches sont retirées.

Après cela, la pièce peut être retirée du boîtier et commencer à la nettoyer. Immédiatement après le démontage, vous pouvez constater que les cavités internes de l'appareil sont littéralement obstruées par divers dépôts. Il s'agit souvent de sels métalliques (sodium et calcium), ainsi que d'éléments du fer ferrique. Ils sont nettoyés avec un outil en métal - des grattoirs, des épingles conviennent
Vous devez travailler très soigneusement pour ne pas casser les parois intérieures

L'appareil lui-même peut être trempé dans une baignoire ou un bassin. Une solution d'acide chlorhydrique ou sulfurique est ajoutée à l'eau. Lorsque les dépôts commencent à se ramollir sous l'action des acides, ils peuvent être éliminés mécaniquement. Les experts recommandent qu'à la fin de la procédure, rincez l'intérieur de l'échangeur de chaleur avec de l'eau sous pression. Une masse de saleté sortira de la sortie. Il est nécessaire d'attendre que de l'eau propre sorte de l'échangeur de chaleur. Vous pouvez compléter cette chasse d'eau par de légers tapotements sur le corps.
Pourquoi est-il nécessaire de rincer les chaudières à gaz ?

Pour comprendre l'importance de la mise à la terre de la chaudière, il vous suffit de regarder le schéma de sa structure. L'appareil est fixé au mur ou installé au sol, les deux options ne contribuent pas à la conductivité électrique. Les tuyaux sont généralement constitués de propylène non conducteur
Les tuyaux sont généralement constitués de propylène non conducteur
L'appareil est fixé au mur ou installé au sol, les deux options ne contribuent pas à la conductivité électrique. Les tuyaux, en règle générale, sont constitués de propylène non conducteur.
Il devient clair que l'électricité statique ne trouve pas d'autre issue qu'un radiateur dans lequel l'eau est concentrée.
De ce fait, étant un excellent agent de transfert de chaleur, l'eau devient également un conducteur électrique. Avec le début de la période hivernale, la température de l'équipement augmente et le liquide est incapable de décharger la charge actuelle. En conséquence, le fonctionnement de la chaudière à gaz devient dangereux.
Comment savoir qu'il y a une échelle dans le système
Il convient de rincer les chaudières dès qu'il y a des signes d'accumulation de dépôts de sel dans le circuit de chauffage et divers types de chaudières
Cependant, pour cela, il est important de comprendre quels sont les signes d'accumulation de tartre.
Vous devez faire attention à ces points:
- lors du fonctionnement d'équipements de chaudière avec le même niveau d'intensité, la quantité de combustible consommée a récemment augmenté de manière significative;
- pendant le fonctionnement de la chaudière, des micro-ruptures et des crépitements peuvent être entendus ;
- vous avez remarqué une surchauffe importante de l'échangeur de chaleur - il n'a pas le temps d'être refroidi par le flux inverse du liquide de refroidissement ;
- les radiateurs de chauffage sont chauffés de manière inégale;
- la pompe de circulation du système fonctionne avec une charge excessive ;
- en présence d'une chaudière à double circuit, une faible pression est observée dans un robinet d'eau chaude;
- plus de temps est nécessaire pour chauffer la pièce dans des conditions de température constante à l'extérieur.
L'échangeur de chaleur de la chaudière à gaz est encrassé, que dois-je faire ?
La partie la plus vulnérable de toute chaudière, si ce n'est pas de l'eau, est l'échangeur de chaleur. C'est là que l'eau est chauffée.Et s'il est de mauvaise qualité ou ne se ramollit pas, un problème tel que le rinçage de la chaudière ou son colmatage surviendra tôt ou tard. Quels problèmes peuvent créer un échangeur de chaleur et, par conséquent, une chaudière, une eau de mauvaise qualité?
| Type d'équipement | Effets |
| Chaudière à gaz | Temps de chauffage augmenté La qualité du chauffage baisse L'échangeur de chaleur peut griller Le tartre fait coller les plaques de l'échangeur de chaleur Le tartre de l'échangeur de chaleur pénètre dans la chaudière Les excroissances de tartre commencent à se déposer partout où l'eau entre en contact |
Il est impossible d'éviter le calcaire si le ménage n'a pas installé le bon adoucisseur. Mais que faire si l'adoucisseur n'est pas encore abordable ? Comment rincer la chaudière du tartre de vos propres mains? Et cela donnera-t-il au moins un certain effet, au moins temporaire ?
Lorsque l'échangeur de chaleur est obstrué par des dépôts de tartre durs, le problème peut être résolu de deux manières :
- Lavage de l'appareil avec des agents de nettoyage caustiques ;
- Après avoir démonté l'appareil et trempé les parties particulièrement touchées dans des solutions caustiques ;
- Après avoir acheté un adoucisseur, ne vous souvenez plus de ce problème.
Il n'est pas nécessaire d'amener l'échangeur de chaleur dans un tel état jusqu'à ce qu'il se bouche ! Par conséquent, chaque consommateur, lors de l'installation d'une chaufferie, doit commencer par une évaluation de l'état de l'eau. Mais, si ce facteur est déjà manqué ? Le consommateur saura que l'échangeur de chaleur est colmaté par plusieurs facteurs. Les parois de l'échangeur de chaleur ont commencé à devenir très chaudes, le chauffage de l'eau prend plus de temps, des particules de tartre ont commencé à tomber dans l'eau de l'échangeur.
La fille rince indépendamment la chaudière de ses propres mains
Et c'est la raison pour tirer la sonnette d'alarme ! C'est l'heure de la chasse d'eau. Elle peut être capitale, et peut être préventive.Dans tous les cas, sans adoucissant, vous devrez utiliser les deux types de lavages.
Il est possible de laver les surfaces internes de l'échangeur de chaleur avec des agents agressifs spéciaux (comme l'anticalcaire, par exemple, ou l'acide sulfurique), mais pour cela, vous devez savoir exactement dans quelles proportions dissoudre le tout, combien de temps conservez-le, puis comment retirer les particules qui y adhèrent. Les lavages ne se terminent pas par un rinçage. Si le boîtier est en marche, vous devrez alors démonter l'échangeur de chaleur et travailler mécaniquement, c'est-à-dire gratter les parties ramollies de la balance. Mais c'est précisément en cela que résident les inconvénients du rinçage. Ils sont très abîmer la surface, ce qui réduit considérablement la durée de vie de tout équipement.
Comment rincer l'échangeur de chaleur d'une chaudière à gaz? Il existe plusieurs remèdes simples qui sont bons à titre préventif, et il existe des liquides agressifs qui doivent être appliqués selon les instructions et pas souvent. Toute femme au foyer a du vinaigre et il y a toujours de l'acide citrique dans la maison. Surtout pour les femmes au foyer qui aiment cuisiner. Ici, ils peuvent être utilisés pour le lavage le plus simple. Il suffira de diluer deux cuillères à soupe de liquide de rinçage par litre d'eau et de maintenir l'échangeur de chaleur dans cette solution. Mieux encore, bien sûr, conduisez une telle solution à travers l'appareil, à des températures élevées. Par analogie, le vinaigre fonctionne. Seulement pour le lavage, il est préférable d'utiliser de l'essence, elle est plus forte que le vinaigre ordinaire.
Quant aux fonds d'achat, il y en a beaucoup. Il est facile de les trouver sur le net, et d'apprendre à les utiliser. L'efficacité, bien sûr, devra être jugée par essais et erreurs. L'eau de chacun est différente, et quelque part Antinakipin fonctionne mieux, et quelque part seule une solution d'acide chlorhydrique peut aider. La situation est compliquée par la pénétration de saleté et de poussière dans l'échangeur de chaleur.Qui, en combinaison avec le tartre, forme une plaque peu soluble.
calcaire
Ceci est une conséquence du travail avec de l'eau avec un seuil de calc élevé. Un dépôt blanchâtre à la surface de l'équipement est le signe le plus fiable d'une telle eau. Mais le fait que l'eau ne soit pas douce, le consommateur ne le saura qu'environ un mois plus tard, lorsque tous les murs seront recouverts de plaque. Mais ce n'est que si vous ne faites pas de test d'eau. Par conséquent, afin d'éviter la formation de plaque, vous devez commencer par vérifier la composition de l'eau. Et il est préférable de mettre un adoucissant si l'analyse a indiqué que le seuil de dureté a été dépassé. Vous devez également comprendre que la conception de la chaudière apportera ses propres ajustements au processus de rinçage. Il est beaucoup plus difficile de laver l'échangeur de chaleur d'une chaudière murale Baxi qu'une chaudière au sol conventionnelle. Le démontage et le montage prennent également beaucoup de temps.
C'est intéressant: Chaudières à gaz Proterm (Protherm) mur et sol - aperçu, gamme de modèles, instructions, erreurs et dysfonctionnements
Caractéristiques de conception des échangeurs de chaleur
Pour rincer correctement l'échangeur de chaleur, vous devez connaître sa conception. Toutes les informations sur votre chaudière se trouvent dans le manuel d'utilisation.
Au cas où, rappelons que pour organisation du chauffage indépendant et l'approvisionnement en eau chaude dans les appartements et les maisons privées, les chaudières à gaz et les chauffe-eau avec les types d'échangeurs de chaleur suivants sont principalement utilisés :
- coquille et tube ;
- coaxial;
- lamellaire.
Dans les échangeurs de chaleur à coque et tube largement utilisés, l'eau circule à travers un tube qui s'enroule autour des parois latérales de la coque sous la forme d'un serpentin. Un tel assemblage est brasé ou soudé, c'est-à-dire non séparable.

L'échangeur de chaleur à coque et à tube est l'un des plus efficaces et des plus simples de conception, il est facile de le nettoyer de l'échelle de vos propres mains
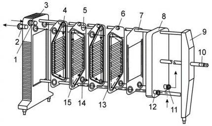
Les échangeurs de chaleur à plaques sont moins courants. Leur partie structurelle principale est un boîtier métallique dans lequel plusieurs plaques sont assemblées.
Par exemple, les échangeurs de chaleur des chaudières italiennes Westen Zilmet et Baxi comprennent de 10 à 16 plaques. Ils cèdent leur chaleur à l'eau circulant entre eux à travers les canaux. Un tel appareil doit être démonté avant le nettoyage.

Schéma d'un échangeur de chaleur à plaques, qui montre : des buses d'alimentation en fluide caloporteur et en milieu chauffé (1, 2, 11, 12) ; plaques fixes et mobiles (3, 8); des canaux à travers lesquels le fluide de refroidissement se déplace (4, 14) ; petites et grandes entretoises (5, 13); plaque de transfert de chaleur (6), guides supérieur et inférieur (7, 15); support arrière et goujon (9, 10)
L'élément principal d'un échangeur de chaleur coaxial (bithermique) est constitué de deux tuyaux coaxiaux. Dans la version la plus simple, cela ressemble à une spirale avec des bobines bien ajustées.
Les chaudières à double circuit se caractérisent par la présence de 2-3 échangeurs de chaleur. Par exemple, la chaudière NEVALUX-8023 est équipée de trois échangeurs de chaleur dont l'un est coaxial, mais pas de type spirale, mais avec des liaisons connectées en série.
Options de nettoyage de chaudière à gaz
Il existe plusieurs méthodes de base pour nettoyer les échangeurs de chaleur des chaudières à gaz :
…
- manuel;
- chimique;
- hydrodynamique.
La méthode à appliquer dépend du degré de blocage. Examinons de plus près chacune de ces méthodes.
Nettoyage manuel
Tous les utilisateurs de chaudières à gaz ne savent pas comment nettoyer eux-mêmes l'échangeur de chaleur d'une chaudière à gaz. Le nettoyage manuel est le moyen le plus simple de le faire vous-même.Il existe deux manières d'exécuter cette méthode :
- mécanique - avec une brosse et une brosse;
- le rinçage avec des solutions actives est une option plus efficace, particulièrement pertinente pour les chaudières à deux circuits.
Pour les salissures importantes, deux méthodes de détartrage sont utilisées - d'abord le rinçage, puis le nettoyage mécanique. Ce processus se déroule selon les étapes suivantes :
- couper le gaz et débrancher l'appareil de l'électricité ;
- ouvrez le couvercle de la chaudière à gaz;
- démonter l'échangeur de chaleur ;
- placez-le dans une substance active, par exemple une solution d'acide chlorhydrique;
- retirez l'échangeur de chaleur de la solution et nettoyez la saleté avec une brosse ou une brosse;
- rincez l'élément avec de l'eau à l'intérieur et à l'extérieur ;
- sécher et réinstaller le circuit.

Nettoyage chimique
Le nettoyage à sec se distingue par l'utilisation d'un booster ou de ses analogues, ainsi que de produits chimiques agressifs. Une condition importante pour le nettoyage chimique est de maintenir une concentration sûre de la substance afin qu'elle ne corrode pas la surface de l'échangeur de chaleur.
Le nettoyage à sec est effectué à l'aide d'un booster, mais de nombreux artisans créent leur analogue bon marché de leurs propres mains. Pour ce faire, prenez un bidon de 10 litres et fixez-y deux tuyaux et une pompe.
Entretien et réparation de chaudières à gaz
Remplacement à faire soi-même d'un échangeur de chaleur dans une chaudière à gaz
Si la couche de tartre est trop importante, vous pouvez utiliser des substances à base d'acide sulfurique ou chlorhydrique pour le nettoyage. La solution de nettoyage la plus simple est à base d'acide citrique : 200 grammes de poudre sont dilués avec 5 litres d'eau.
Le processus de nettoyage chimique est assez simple :
- la solution chimique est diluée dans des récipients et versée dans un booster;
- deux tuyaux sont connectés à deux tuyaux de la chaudière - entrée et retour ;
- allumez l'appareil et faites passer le liquide plusieurs fois dans l'échangeur de chaleur.

Les surpresseurs d'usine ont une fonction de chauffage, ce qui vous permet de rincer les circuits avec une plus grande efficacité.
Après la procédure, il est nécessaire de vidanger le réactif et de rincer à nouveau le système avec un agent neutralisant ou de l'eau propre.
Bien sûr, le nettoyage à sec est plus efficace que le nettoyage manuel, mais les substances actives contenues dans les solutions peuvent entraîner de la corrosion. Par conséquent, cette méthode ne peut pas être utilisée souvent.
Solutions pour le nettoyage de l'échangeur de chaleur
Certains propriétaires de chaudières à gaz sur les forums souhaitent savoir comment rincer une chaudière à gaz du tartre à la maison. Généralement, les produits suivants sont utilisés pour le nettoyage à sec :
Gel nettoyant - il est considéré comme le remède le plus doux. Après cela, il suffit de rincer l'échangeur de chaleur à l'eau courante.
Malgré l'effet doux, le gel résiste bien aux dépôts de tartre et de calcaire.
Acide adipique - afin de rincer l'échangeur de chaleur de la chaudière à gaz avec de l'acide, il est important de le diluer avec de l'eau dans les bonnes proportions, sinon la substance endommagera la surface métallique. L'acide adipique adoucit bien tous les dépôts à l'intérieur de l'échangeur de chaleur
Après avoir rincé le système avec cet agent, le liquide neutralisant doit être entraîné à travers celui-ci.
L'acide sulfamique - aide bien à faire face à une pollution complexe. La substance est diluée avec de l'eau et versée dans un booster. Une fois le processus terminé, il est nécessaire de rincer l'échangeur de chaleur avec un liquide neutralisant.
Noter! Lors du nettoyage à sec, des gants en caoutchouc doivent être portés sur les mains et le corps doit être protégé par une combinaison à travers laquelle la solution acide ne peut pas pénétrer sur la peau.
Nettoyage hydrodynamique
Cette méthode de nettoyage de l'échangeur de chaleur est effectuée uniquement par des spécialistes. Il est inutile de démonter la chaudière et de retirer l'échangeur de chaleur pour sa mise en place. Le principe du nettoyage hydrodynamique est le suivant : le liquide est pompé dans le système et mis plusieurs fois sous pression. Pour plus d'efficacité, des abrasifs de nettoyage sont ajoutés à l'eau. Il s'avère qu'en raison du mouvement rapide de l'eau, le tartre disparaît et la pollution est lavée.
Cependant, avec cette méthode, il est important de calculer correctement la force de pression - si elle est trop grande, une rupture de tuyau peut se produire. Par conséquent, le nettoyage hydrodynamique ne peut pas être effectué indépendamment.
Faut-il conclure un contrat pour l'entretien d'une chaudière à gaz ?
Comment bien faire mise à la terre chaudière gaz? —
Rinçage des chaudières à gaz à un circuit et à double circuit
Il est impératif de rincer l'échangeur de chaleur, quel que soit le type de chaudière utilisé. Les dépôts internes présents dans l'appareil perturbent la circulation du fluide dans le circuit de chauffage et, dans le cas des chaudières à double circuit, ils entraînent également des problèmes dans le système d'alimentation en eau. De plus, un échangeur de chaleur contaminé recueille des substances qui ont un effet négatif sur les éléments métalliques du système.

La régularité du rinçage est déterminée en fonction du liquide de refroidissement avec lequel le système est rempli :
- Si de l'eau filtrée est utilisée comme caloporteur, un nettoyage est recommandé tous les 4 ans;
- Lors de l'utilisation d'antigel, le rinçage doit être effectué tous les 2 ans et chaque fois que le liquide de refroidissement devra être changé, car ses caractéristiques diminuent avec le temps.
Comment rincer l'échangeur de chaleur d'une chaudière à double circuit
La méthode de détartrage du circuit ECS dépend du type d'échangeur installé dans votre générateur de chaleur. Il n'y en a que deux :
- bithermique, il combine le chauffage du liquide de refroidissement et de l'eau pour l'alimentation en eau chaude ;
- réchauffeur secondaire en acier inoxydable.
Il est préférable de nettoyer les unités avec un réchauffeur bithermique à l'aide d'un surpresseur, car il peut être assez difficile de retirer une telle unité. Les tuyaux partant du réservoir sont connectés au lieu de fournir de l'eau froide et de sortir chaud, après quoi la pompe de circulation et la chaudière elle-même sont démarrées. La température de chauffage doit être limitée à 50-55 degrés.

Si un échangeur de chaleur secondaire est installé dans une chaudière à double circuit, dans la plupart des cas, il peut être retiré. Dévissez le panneau avant, dégagez l'unité de commande et écartez-la. La plaque chauffante pour l'eau chaude sanitaire est située au bas de la chaudière à gaz et est fixée avec 2 boulons. Dévissez-les, débranchez les tuyaux et sortez l'échangeur de chaleur. Ensuite, plongez-le dans une casserole avec une solution d'acide citrique et faites bouillir sur la cuisinière, comme détaillé dans la vidéo :
Comment rincer l'échangeur de chaleur d'une chaudière à double circuit
La méthode de détartrage du circuit ECS dépend du type d'échangeur installé dans votre générateur de chaleur. Il n'y en a que deux :
- bithermique, il combine le chauffage du liquide de refroidissement et de l'eau pour l'alimentation en eau chaude ;
- réchauffeur secondaire en acier inoxydable.
Il est préférable de nettoyer les unités du premier type à l'aide d'un booster, car il peut être assez difficile de retirer une telle unité.Les tuyaux partant du réservoir sont connectés au lieu de fournir de l'eau froide et de sortir chaud, après quoi la pompe de circulation et la chaudière elle-même sont démarrées. La température de chauffage doit être limitée à 50-55 degrés.

S'il y a un échangeur de chaleur secondaire dans la chaudière à double circuit, ce dernier peut dans la plupart des cas être retiré. Pour ce faire, le panneau avant est retiré, puis l'unité de commande est dévissée et écartée. L'échangeur de chaleur secondaire est situé en bas et est fixé avec 2 boulons. Après l'avoir retiré, il est plongé dans une casserole avec de l'acide citrique dissous dans de l'eau et bouilli sur une cuisinière à gaz, qui est décrite en détail dans la vidéo :
Comment nettoyer l'échangeur de chaleur?
Le nettoyage de l'échangeur de chaleur est effectué à la fin de la saison de chauffage. Pour effectuer le travail, il suffit de disposer d'un ensemble standard d'outils. Avant de commencer les travaux, il est nécessaire de déconnecter la chaudière du réseau de gaz (principal ou local) et de l'électricité.
Envisager, Comment nettoyer une chaudière à gaz au sol :
- tout d'abord, le brûleur est démonté;
- il est nécessaire de déconnecter tous les fils de la vanne de gaz ;
- un thermocouple est retiré de la chambre de combustion, qui est relié à la vanne gaz par un tube capillaire ;
- le tuyau d'alimentation en carburant est déconnecté ;
- les boulons ou écrous (4 pcs) sont dévissés, fixant le poêle avec le brûleur, l'ensemble de montage est retiré.
Il est pratique de nettoyer le brûleur d'une chaudière à gaz avec une vieille brosse à dents. La suie doit également être retirée du capteur de contrôle de flamme, de l'allumeur, du dispositif piézoélectrique pour l'allumage automatique.
Pour accéder à l'échangeur de chaleur de la chaudière, retirez le couvercle supérieur de l'unité, déconnectez le capteur de tirage et la cheminée, retirez l'isolation, démontez les fixations du boîtier et le boîtier lui-même.Après avoir accédé à l'échangeur de chaleur, il est nécessaire d'en retirer les turbulateurs.
Une brosse en métal doux convient au nettoyage des turbulateurs et l'échangeur de chaleur lui-même est débarrassé des dépôts de suie à l'aide d'un grattoir miniature en métal fin. Une brosse à long manche est également utilisée. Tout d'abord, les conduits de fumée sont nettoyés et balayés, puis la suie qui est tombée au fond doit être enlevée.
Le nettoyage de la chaudière murale se fait avec une brosse à dents
Nettoyage du générateur de chaleur mural. Après avoir coupé l'alimentation en gaz, il est nécessaire de démonter le panneau avant de la chaudière. Ensuite, le couvercle avant est dévissé, ce qui ferme la chambre de combustion. Il est recommandé de recouvrir les gicleurs d'une feuille de papier épais afin que le brûleur ne se bouche pas avec des chutes de suie. Le nettoyage à faire soi-même de l'échangeur de chaleur d'une chaudière à double circuit s'effectue à l'aide d'une vieille brosse à dents ou d'une brosse à poils métalliques. Une fois le nettoyage terminé, il est nécessaire de couvrir l'échangeur de chaleur avec une brosse et de retirer soigneusement le papier avec la suie collectée. Comment la procédure est effectuée, voir la vidéo ci-dessous.
Rinçage d'une chaudière à gaz à un circuit et à double circuit
Le rinçage de l'échangeur de chaleur de la chaudière à gaz est nécessaire pour éliminer les dépôts internes qui peuvent perturber la circulation normale du liquide de refroidissement dans le système de chauffage et causer des problèmes d'alimentation en eau chaude du système ECS local. Des substances qui détruisent le métal peuvent également être présentes dans les dépôts.
La fréquence à laquelle cette mesure est nécessaire dépend du type de liquide de refroidissement. Si de l'eau purifiée circule dans le système, il suffit de faire une prophylaxie tous les quatre ans, en éliminant les dépôts.Le système avec antigel doit être rincé tous les deux ans et le liquide de refroidissement doit être changé régulièrement - sous l'influence de températures élevées, il change de propriétés avec le temps et peut devenir dangereux pour les éléments métalliques du système.
matériaux
Les échangeurs de chaleur modernes sont fabriqués à partir de divers matériaux. C'est de ce paramètre que dépendent de nombreuses qualités de ces pièces, ainsi que leurs avantages et inconvénients. Examinons plus en détail de quoi sont généralement constitués les échangeurs de chaleur pour chaudières à gaz.
Acier
Le plus souvent, les échangeurs de chaleur en acier se trouvent dans les équipements de chauffage au gaz. Leur prévalence s'explique par le coût démocratique de l'acier et la facilité de sa transformation. Les pièces en acier ont leurs propres caractéristiques distinctives, par exemple, un tel échangeur de chaleur s'avère assez plastique. De plus, ces options ont une longue durée de vie, ce qui attire de nombreux consommateurs.
Il convient de noter que la plasticité des éprouvettes d'acier joue un des rôles les plus importants lorsqu'il s'agit du contact de l'échangeur avec des températures élevées. Grâce à cette caractéristique, des fissures ne se forment pas sur les éléments constitutifs de la chaudière lorsqu'une contrainte thermique importante se forme dans la partie interne du métal à proximité du brûleur.


Cependant, les options en acier présentent un sérieux inconvénient: elles sont sujettes à la corrosion. Bien entendu, l'apparition de rouille raccourcit la durée de vie de l'échangeur. De plus, il faut tenir compte du fait que des défauts de ce type peuvent apparaître à la fois sur la moitié intérieure et sur la moitié extérieure de l'appareil.
Un autre inconvénient des échangeurs en acier est leur taille et leur poids importants.De plus, avec de telles pièces, la consommation de gaz augmentera. En effet, la plupart des fabricants modernes s'efforcent d'atteindre un haut niveau d'inertie et d'augmenter le volume des cavités internes de l'échangeur de chaleur.


fonte
Le deuxième échangeur de chaleur le plus populaire est reconnu à juste titre comme un échangeur de chaleur en fonte. Un modèle similaire diffère de l'acier en ce sens qu'au contact d'un liquide, il ne devient pas sensible à la corrosion. Grâce à cette caractéristique distinctive, nous pouvons parler en toute sécurité de la durabilité des options en fonte.
Cependant, il ne faut pas oublier que les échangeurs en fonte nécessitent un entretien et une attention réguliers. De plus, ces options se distinguent par leur fragilité. Si du tartre s'accumule sur l'échangeur de chaleur en fonte, le chauffage dans le système peut devenir irrégulier, ce qui entraînera la fissuration de l'échangeur. Afin de prolonger la durée de vie de cet élément, il est nécessaire d'effectuer un rinçage périodique. Dans la plupart des cas, si l'eau courante est utilisée, le lavage est effectué une fois par an. Si l'antigel est utilisé comme caloporteur, de tels travaux devront être effectués tous les 2 ans.
Cuivre
Les spécimens de cuivre sont pratiques et durables. Ils ont plus d'avantages que d'inconvénients. Il convient de souligner les caractéristiques suivantes inhérentes à de tels échangeurs :
- les pièces en cuivre sont légères;
- diffèrent par de petites dimensions;
- ne sont pas couverts de rouille destructrice;
- ils ont besoin de très peu de carburant pour bien se réchauffer.
Grâce à ces avantages, l'échangeur de chaleur en cuivre est reconnu comme l'un des plus populaires. Cependant, il est cher, donc ils ne l'achètent pas si souvent. De plus, ces éléments deviennent moins solides et moins fiables dans des conditions de chauffage.Les échangeurs de chaleur en cuivre brûlent très rapidement, après quoi ils tombent en panne.


Aluminium
Dans de nombreux modèles de chaudières à gaz de marque, des échangeurs de chaleur en aluminium sont présents. Ce matériau se distingue par une grande plasticité, de sorte que des échangeurs de toute forme et complexité en sont obtenus. De plus, il faut tenir compte du fait que le niveau de conductivité thermique de l'aluminium est 9 fois supérieur à celui d'une autre matière première populaire - l'acier inoxydable. Les échangeurs de chaleur en aluminium ont un poids très modeste. Grâce à ces caractéristiques positives, nous pouvons parler en toute sécurité de l'aspect pratique de ces composants, ainsi que de leur fiabilité et de leur fonctionnalité.
Ces appareils sont également bons car ils ne présentent généralement pas de vulnérabilités. Par exemple, dans les structures en acier inoxydable, il y a des cordons de soudure, des plis et d'autres zones similaires. Ils sont très vulnérables, ils supportent donc des charges importantes lors du fonctionnement de l'équipement. Dans les versions en aluminium, il n'y a tout simplement pas de tels problèmes. Les pièces en aluminium ont une forte résistance chimique, ce qui est excellent pour la condensation.

Travailler avec AOGV
Il démarre lorsque l'alimentation en gaz est bloquée - la vanne correspondante se ferme. Et c'est un principe général pour un tel travail avec toutes les chaudières et colonnes.
Comment nettoyer le brûleur d'une chaudière gaz AOGV ? Après avoir coupé le gaz, cet élément est retiré de sa position. Le brûleur a une buse
Il est soigneusement dévissé et soigneusement nettoyé avec une brosse. Le brûleur lui-même est nettoyé en soufflant à l'aide d'une pompe spéciale
Ensuite, la buse et le brûleur sont remis à leur place.
Ce sont des critères généraux. Et les détails sont présentés sur les deux modèles suivants.
Première. AOGV 11.6-3. C'est un appareil fiable et pratique.
Mais après une certaine période de fonctionnement, il est soigneusement nettoyé. Le processus se déroule comme suit :
Retrait du bloc brûleur
Pour ce faire, la palette de l'appareil est tournée et trois tubes sont déconnectés de l'unité d'automatisation: contact, gaz et thermocouples.
Dévissez soigneusement les écrous situés sur les raccords du mécanisme d'automatisation.
Le joint en paronite de la conduite principale de gaz est retiré et son état est étudié. S'il est endommagé, il doit être remplacé.
La palette désignée est extraite par la rainure, qui est aussi proche que possible des tubes
Parallèlement à cela, le boîtier est également retiré. En fixant la partie inférieure de la palette, dirigez-la vers vous et retirez les supports restants (deux pièces) de l'engagement.
Tout ce nœud tombe au sol.
Le brûleur principal est en cours d'étude et de nettoyage. La buse de l'allumeur est examinée.
La mèche et le thermocouple sont dévissés.
Un boîtier en forme de boîte est séparé du brûleur pilote. Cela dégage la voie vers la buse. S'il est en laiton et qu'il y a un revêtement dessus, il peut être enlevé avec du papier de verre à grain fin.
Nettoyage des buses. Pour cela, un fil de cuivre fin et une méthode de soufflage sous forte pression sont utilisés. La deuxième action est effectuée par une pompe spéciale du côté où le tube est connecté au té.
Le même papier de verre nettoie très soigneusement le coude du tube du thermocouple.
Après ce travail, tous les détails sont assemblés dans l'algorithme inverse. Doucement, en évitant les distorsions, soulevez ce bloc dans son ensemble. Le brûleur doit être à l'intérieur du boîtier et l'allumeur et le thermocouple ne doivent pas toucher la bride du boîtier.
Du côté des tubes, l'ensemble doit être poussé vers lui-même avec une légère pente descendante. Le côté opposé de la palette doit monter.
Ensuite, faites-le avancer et mettez de manière synchrone une paire de prises distantes. Ils doivent être sur le bordage du boîtier. Le crochet proche est une rainure découpée. Après y être entrée, toute la palette tourne dans le sens inverse du mouvement dans le sens des aiguilles d'une montre. Le tuyau de gaz doit être positionné uniquement sous son embranchement de l'unité d'automatisation.
Ensuite, on teste l'ajustement des joints et tous les tubes retournent à leur place. La clé serre les écrous sur deux tubes : allumeur et gaz.
Avant de remonter le tube thermocouple, ses zones de contact sont minutieusement mais soigneusement nettoyées. L'écrou est serré à la main.
La dernière étape consiste à vérifier l'étanchéité de toutes les connexions pour détecter d'éventuelles fuites. En leur absence, la chaudière s'allume. Si disponible, ces endroits sont recouverts de mastic, les écrous sont plus serrés.
Le deuxième modèle est AOGV-23.2-1 Zhukovsky.
Cela fonctionne comme ceci :
- L'écrou est dévissé pour que le tuyau de gaz passe.
- L'angle, l'allumeur et le thermocouple sont dévissés.
- Tous les brûleurs du kit s'étendent vers l'extérieur, se déplacent sur le côté vers l'utilisateur. En cas de difficulté avec leur mouvement, desserrez et dévissez les goujons avec une pince. Nettoyez tous les jets et autres composants.
- Démontage du brûleur. Pour ce faire, les goujons sont dévissés en 4 pièces des deux côtés.
- Les plaques fendues sont retirées du haut des brûleurs, puis les ressorts. Chaque détail est soigneusement nettoyé.
- Assemblez tous les éléments dans l'ordre inverse.
Après le remontage, un test d'étanchéité est organisé, il est étudié à quel point les brûleurs jouxtent le corps.














































