- Analyse des schémas de connexion
- Le but principal et l'essence du gradateur
- But et fonctions
- Le principe de fonctionnement et les principaux types de gradateurs
- Classement du variateur par type d'exécution
- Classification des gradateurs par méthode de contrôle
- Classement par type de lampes
- Vidéo - Règles de connexion des lampes à un gradateur
- Vidéo - Quelques mots sur le variateur pour LED
- Ce que c'est
- Appareil et types
- Comment connecter un gradateur
- Schéma de principe de connexion d'un gradateur
- Circuit avec interrupteur
- Schéma d'installation avec deux gradateurs
- Allumer un gradateur avec deux interrupteurs de passage
- Connexion d'un gradateur à des bandes LED et des lampes
- Vidéo : comment remplacer un interrupteur par un variateur
- Gradateur 100 watts. Constructeur.
- Gradateur avec interrupteur
- Avec une touche légère...
Analyse des schémas de connexion
Le choix du circuit dépend de nombreux facteurs, notamment le modèle du gradateur, la méthode de connexion - séparée ou avec interrupteurs, le nombre de gradateurs ou d'appareils d'éclairage.
Vous devez également prendre en compte un point très important: différents appareils sont utilisés pour les lampes à incandescence, les lampes à LED et les rubans, les sources lumineuses halogènes basse tension.

Test d'un gradateur de télécommande connecté à une bande de LED. Les bandes LED sont utilisées avec succès pour éclairer les structures suspendues en plaques de plâtre à deux ou trois niveaux
Le schéma de connexion du gradateur le plus élémentaire peut être facilement confondu avec le schéma d'installation de l'interrupteur, car il le répète vraiment un à un.
Le câblage se fait généralement avec un fil à deux ou trois fils, selon le système de mise à la terre. Dans les nouvelles maisons, il est recommandé d'utiliser un fil à trois conducteurs - VVGng avec une section de 1,5 mm².
Trois fils sont tirés de la machine dans le panneau électrique: terre - au boîtier métallique d'un lustre ou d'une lampe, zéro - aux lampes et phase - au gradateur, à la borne d'entrée
Mais souvent, le lustre a de nombreuses cornes et le gradateur est utilisé pour contrôler un groupe de lampes situées séparément.
Dans ce cas, il est conseillé d'installer deux appareils au lieu d'un, afin de contrôler le niveau d'éclairement de deux groupes distincts.
La différence fondamentale réside dans le nombre de fils de charge. Une phase commune est fournie au régulateur et à la sortie, il y a deux fils de phase dirigés vers différents groupes de luminaires. Par conséquent, zéro est également divisible par deux
Comment la connexion est-elle établie si, au lieu de régler le contrôle pour les lampes conventionnelles ou à économie d'énergie, il est nécessaire de régler le contrôle des LED?
Habituellement, avec des bandes ou des lampes, avec un gradateur, il y a un adaptateur de 220 V à 12 V. Cela peut être une alimentation qui est branchée sur une prise de courant.
Les deux fils du convertisseur sont tirés vers le gradateur, connectés selon le schéma aux connecteurs requis, et à partir des bornes de sortie, ils sont alimentés vers un dispositif d'éclairage ou plusieurs lampes connectées en parallèle
Jumelé avec souvent utilisé comme gradateur un ou plusieurs interrupteurs de passage - le réseau électrique avec un tel kit devient plus parfait en termes de facilité d'utilisation.
L'emplacement de l'interrupteur est déterminé de différentes manières : il peut se trouver entre le cache et le gradateur ou entre le gradateur et la lampe.
Le schéma des appareils traversants diffère de l'appareil standard, et cela doit être pris en compte lors de la connexion
L'attention principale est accordée à la connexion des conducteurs de phase dans les deux appareils. Enfin, considérez la disposition des fils et des bornes avec une connexion de gradateur standard - c'est pourtant celle-ci qui est la plus populaire dans la vie de tous les jours.
Enfin, considérez la disposition des fils et des bornes avec une connexion de gradateur standard - c'est pourtant celle-ci qui est la plus populaire dans la vie de tous les jours.

Le circuit le plus simple pouvant servir de standard pour connecter un régulateur standard. Le conducteur de phase est alimenté à l'entrée, et de la sortie, la borne adjacente, va à la lampe
Les exemples listés ne sont qu'une petite partie de tous les schémas possibles pour le montage de l'appareil. Afin d'établir une connexion sans erreur, il est nécessaire d'utiliser les instructions du fabricant comme guide principal.
Le but principal et l'essence du gradateur
Quelques mots sur ce qu'est un gradateur et pourquoi est-il nécessaire ?
Cet appareil est électronique, conçu pour l'utiliser pour changer la puissance électrique. Le plus souvent, ils modifient ainsi la luminosité des appareils d'éclairage. Fonctionne avec des lampes à incandescence et LED.
Le réseau électrique fournit un courant de forme sinusoïdale. Pour que l'ampoule change de luminosité, une onde sinusoïdale de coupure doit lui être appliquée. Il est possible de couper le front avant ou arrière de l'onde grâce aux thyristors installés dans le circuit du gradateur. Cela contribue à réduire la tension fournie à la lampe, ce qui entraîne par conséquent une diminution de la puissance et de la luminosité de la lumière.
Important à retenir ! De tels régulateurs génèrent des interférences électromagnétiques. Pour les réduire, un filtre inductif-capacitif ou une self est inclus dans le circuit du gradateur
But et fonctions
Les gradateurs (en anglais dimmer) sont utilisés dans la vie de tous les jours pour régler la luminosité des lampes, la température des appareils de chauffage (fers à souder, fers à repasser, cuisinières électriques, etc.). Ces appareils sont aussi appelés gradateurs ou gradateurs, bien que ce ne soit qu'une des applications possibles. Ils fonctionnent plus efficacement avec les lampes à incandescence, ce qui leur permet de prolonger leur durée de vie, car s'il y a un gradateur dans le circuit d'alimentation, le courant minimum est fourni à la lampe lorsqu'elle est allumée. Et comme vous le savez, ce sont les lancers de départ qui les font échouer.

A quoi ressemble un gradateur ?
N'utilisez pas de gradateurs avec transformateur ou alimentation à découpage (téléviseurs, radios, etc.). Cela est dû aux particularités du fonctionnement de l'appareil - à la sortie, le signal ne ressemble pas à une sinusoïde, mais seulement à une partie (les sommets sont coupés avec des clés). Lorsqu'une telle alimentation est fournie, l'équipement tombe en panne.
Les tout premiers gradateurs étaient électromécaniques et ne pouvaient contrôler que la luminosité des lampes à incandescence. Les modernes peuvent fournir un certain nombre de fonctions supplémentaires:
- éteindre la lumière sur une minuterie ;
- allumer et éteindre l'éclairage à une certaine heure (effet de présence, utilisé pour les longs départs) ;
- contrôle acoustique (par clap ou voix);
- possibilité de télécommande;
- divers modes de fonctionnement des lampes - clignotement, modification de la température de la lumière, etc.;
- la possibilité d'intégration dans le système "maison intelligente".
Les variateurs les plus simples ne règlent encore que la luminosité de l'éclairage, mais cette fonction s'avère très utile.
Le principe de fonctionnement et les principaux types de gradateurs
Avant d'installer un dimère, vous devez comprendre son fonctionnement général. Quant au principe de fonctionnement, dans ce cas c'est assez simple. Le variateur pré-régule la tension d'alimentation de l'appareil d'éclairage dans la pièce. Si vous gérez correctement cela, l'appareil pourra modifier la tension d'alimentation de la lampe de 0 à 100%.
Plus la tension appliquée sera faible, plus la luminosité de l'éclairage dans la pièce sera faible. De plus, cet appareil présente diverses variantes de conception. Il existe plusieurs paramètres à la fois selon lesquels les gradateurs modernes sont classés. Faisons connaissance avec chacun d'eux plus en détail.
Classement du variateur par type d'exécution
De ce point de vue, tous les gradateurs sont divisés en trois grands groupes, considérez-les.
- Modèle. De tels appareils sont destinés à être installés dans un tableau de distribution. Avec leur aide, vous pouvez régler, ainsi qu'allumer l'éclairage dans des lieux pouvant être classés comme publics (cela peut être un couloir ou, par exemple, un escalier, une entrée).
- Monobloc. Les représentants de cette catégorie sont montés à la place d'un interrupteur conventionnel. C'est pourquoi les problèmes d'installation de tels gradateurs de vos propres mains ne se posent souvent pas du tout. Les appareils sont très populaires, ils ont donc récemment acquis des sous-espèces qui diffèrent dans la manière dont ils sont contrôlés.
- Avec interrupteur. Et ces appareils sont installés dans une boîte spéciale, où les prises sont souvent montées.Quant à l'organe de commande, dans ce cas le bouton agit comme tel (pas toujours, mais dans la plupart des cas).
Classification des gradateurs par méthode de contrôle
Ainsi, les modèles de ménages monoblocs peuvent avoir, comme nous venons de le noter, plusieurs options de contrôle.
- Modèles rotatifs. Ils ont une poignée rotative spéciale. Si vous le déplacez vers la position la plus à gauche, cela éteindra l'éclairage, et si vous le tournez vers la droite, la luminosité des lampes augmentera.
- Modèles de clavier. Extérieurement, ils sont une copie exacte d'un disjoncteur à deux boutons. La première touche a pour but de régler la luminosité de la lumière, et la seconde est de l'éteindre/allumer.
- Modèles à tourner et à pousser. Ils fonctionnent presque sur le même principe que les rotatifs, cependant, ils diffèrent en ce que pour allumer l'éclairage, vous devez noyer un peu la poignée.
Les plus pratiques sont à juste titre considérés comme des gradateurs avec une fonction de télécommande. Grâce à la télécommande, vous pourrez régler la luminosité de la lumière de n'importe où dans la pièce. De plus, certains modèles remplissent également la fonction d'interrupteur. Chacun a son propre schéma de connexion de gradateur, mais nous en reparlerons plus tard.
Classement par type de lampes
Nous ne pouvons que convenir que l'utilisation de différents régulateurs pour chaque type particulier de lampe est pour le moins étrange. Mais le fait est que les lampes modernes sont très diverses et présentent une variété de caractéristiques de conception.
Quant aux lampes à incandescence, elles utilisent les gradateurs les plus simples, qui fonctionnent selon un principe extrêmement simple: la luminosité de l'éclairage des filaments est régulée en modifiant la tension.De plus, de tels gradateurs peuvent également être utilisés pour des lampes halogènes alimentées par une tension standard de 220 volts. Enfin, la conception des données de l'appareil elle-même n'est pas fondamentalement complexe.
Vidéo - Règles de connexion des lampes à un gradateur
Mais pour les ampoules halogènes fonctionnant de 12 à 24 volts, des gradateurs plus complexes sont utilisés. Idéalement, un transformateur abaisseur devrait être présent dans le schéma de raccordement, mais si cela n'est pas possible pour une raison ou une autre, vous pouvez choisir un gradateur par le type d'un transformateur existant. Si ce dernier est électronique, vous aurez besoin d'un modèle marqué C, et s'il s'enroule - marqué RL.
Enfin, un gradateur spécial doit être utilisé avec les décharges LED, qui modulent par impulsion la fréquence du courant.
Vidéo - Quelques mots sur le variateur pour LED
Les plus difficiles en termes de réglage de l'intensité de l'éclairage sont les lampes fluorescentes (ou, comme on les appelle aussi, à économie d'énergie). Beaucoup pensent même que de tels réseaux d'éclairage ne devraient pas du tout être atténués. Mais si vous n'êtes pas d'accord avec ces personnes, assurez-vous d'inclure un démarreur électronique (ou un ballast électronique en abrégé) dans le circuit.
Ce que c'est
Les gradateurs sont des dispositifs qui sont utilisés pour réduire la luminosité de la lumière. En modifiant le signal de tension appliqué à la lampe, il est possible de réduire l'intensité du flux lumineux. Le gradateur est lié à divers appareils électriques, mais le plus souvent, ce concept est utilisé en complément des luminaires. Un équipement plus spécialisé est nécessaire pour assombrir les vapeurs fluorescentes, les vapeurs de mercure et contrôler d'autres processus chimiques.

Photo - gradateur à poussoir
Ces appareils sont utilisés aussi bien dans la vie de tous les jours que pour l'éclairage de grandes installations industrielles. Les petits gradateurs domestiques, par exemple, Legrand (Legrand), Schneider Electric (Schneider), Triac, Blackmar, ABB peuvent être équipés d'une télécommande (appareil radiocommandé). Les gradateurs domestiques professionnels modernes sont contrôlés par un système de contrôle numérique DMX ou DALI.

Photo - Bande LED et gradateur
Auparavant, même les gradateurs mécaniques étaient utilisés pour les lampes à économie d'énergie, fluorescentes et halogènes, ce qui permettait d'étouffer légèrement ou, au contraire, d'augmenter le flux lumineux. C'est très pratique, car vous pouvez contrôler le système d'éclairage. Le circuit de gradation sur le triac vous permet de prolonger la durée de vie des lampes, car l'interrupteur tactile modifie le schéma d'éclairage, en fonction de la lumière naturelle ou des réglages individuels.
Avantages d'utiliser un variateur type Agate, Jung, Gambit :
- Économie d'énergie;
- Prolonger la durée de vie des appareils d'éclairage;
- Large champ. Les gradateurs sont utilisés pour les aspirateurs, les ventilateurs, les fers à souder, les moteurs électriques et de nombreux autres appareils électriques.
Les gradateurs modernes sont fabriqués à partir de redresseurs ou de diodes au silicium (SCR) au lieu de résistances variables. Cela vous permet de rendre les régulateurs plus durables. La résistance variable dissipe la puissance sous forme de chaleur et divise la tension. Dans ce cas, la diode de redressement bascule entre une faible résistance et une stabilité élevée, dissipe très peu de puissance et est capable de piloter des tensions élevées.

Photo - variateur pour système d'éclairage
Appareil et types
Les gradateurs sont fabriqués sur la base d'une base d'élément différente. Tous ont leurs propres caractéristiques et inconvénients.Et pour comprendre ce qu'est un gradateur et comment il fonctionne, vous devez comprendre de quoi est composé un appareil particulier. Donc, il peut y avoir des options :
- Basé sur un rhéostat (en particulier, une résistance variable). C'est le moyen le plus simple, mais aussi le plus inefficace de contrôler la luminosité. Un tel appareil est très chaud, il faut donc un système de refroidissement, il a un rendement extrêmement faible. Actuellement pas produit en série.
-
Gradateurs électroniques à base de triacs, thyristors, transistors. Ces appareils ne peuvent pas être utilisés avec des équipements exigeants en termes de forme d'alimentation, car la sortie ressemble à une onde sinusoïdale avec des sommets coupés. Il convient également de savoir que de tels circuits peuvent produire des interférences qui interfèrent avec le fonctionnement des récepteurs radio ou des équipements sensibles aux interférences électriques. Malgré leurs défauts, ce sont les gradateurs électroniques qui sont utilisés le plus souvent - en raison de leur faible prix, de leur petite taille et de la possibilité de mettre en œuvre des fonctions supplémentaires.
- Gradateurs basés sur autotransformateur. De tels dispositifs produisent une onde sinusoïdale presque parfaite, mais ils sont volumineux en poids et en taille, et leur réglage nécessite beaucoup d'efforts. Autre point : un circuit plus complexe entraîne une augmentation du coût du régulateur. Cependant, ils sont également sur le marché, utilisés dans des endroits où des interférences radio ne peuvent pas être créées ou une forme normale de tension d'alimentation est requise.
Lors du choix d'un appareil, il n'est pas si important de savoir à quel type il appartient, combien il est important de prendre en compte la nature de la charge à laquelle il sera connecté (lampes incandescent et LED ou fluorescent et femmes de ménage).
Par type d'exécution, les gradateurs sont :
-
Modulaire pour installation dans un tableau électrique sur rail DIN. Vous pouvez connecter ce type de gradateur avec des lampes à incandescence, des lampes halogènes avec un transformateur abaisseur. Pour plus de facilité d'utilisation, ils disposent d'un bouton de télécommande ou d'un interrupteur à clé. De tels dispositifs sont pratiques, par exemple, pour contrôler l'éclairage de la cour et de la porte d'entrée depuis la maison, le palier ou la porte d'entrée.
-
Gradateurs sur cordon. Ce sont des mini-appareils qui vous permettent de régler la luminosité de la lueur des luminaires branchés sur une prise - lampes de table, appliques, lampadaires. Sachez simplement qu'ils sont pour la plupart compatibles avec les lampes à incandescence.
-
Pour installation dans un boîtier de montage. Ils sont placés dans le boîtier de montage sous l'interrupteur (dans le même boîtier). Compatible avec incandescent, LED, halogène abaisseur et transformateur électronique. Ils sont contrôlés par un bouton qui est placé sur le dessus de l'appareil ou connecté au système de maison intelligente.
- Monobloc. En apparence, il ressemble beaucoup à un interrupteur conventionnel, il est placé dans le même boîtier de montage, il peut être utilisé à la place d'un interrupteur. Ils sont inclus dans le disjoncteur phase (schémas ci-dessous). Ce type a une grande diversité d'espèces. Les lampes auxquelles un tel gradateur peut être connecté doivent être indiquées sur le boîtier, mais s'il s'agit d'un circuit électronique, elles fonctionnent avec des lampes à incandescence et certaines lampes halogènes et LED (qui indiquent dimmable ou ont un signe approprié). Peut être géré :
-
Au moyen d'un disque rotatif (variateurs rotatifs). L'extinction de la lumière se produit en tournant le disque vers la position la plus à gauche. L'inconvénient de ce modèle est qu'il est impossible de fixer la dernière valeur d'éclairement. Lorsqu'elle est activée, la luminosité est toujours réglée au minimum.
- Pivot-poussée.En apparence, ils sont similaires, mais l'activation / la désactivation se fait en appuyant sur le disque et le réglage - en le tournant.
-
Claviers. En apparence, ils ressemblent beaucoup aux commutateurs conventionnels. Allumer/éteindre la lumière est standard en retournant la clé, et le réglage commence après avoir maintenu la touche enfoncée pendant plus de 3 secondes. Il existe des modèles dans lesquels l'activation et la désactivation se produisent avec une touche et le réglage avec une autre.
-
Toucher. Tout le contrôle se fait en touchant l'écran. Ces modèles sont les plus fiables - pas de pièces mécaniques, il n'y a pratiquement rien à casser.
-
Dans les maisons et appartements privés, les gradateurs monoblocs sont le plus souvent installés. Dans la maison, une conception modulaire peut toujours être utile - pour modifier la luminosité de l'éclairage dans la zone locale avec la possibilité de le contrôler depuis la maison. Pour de tels cas, il existe des modèles qui vous permettent de contrôler l'éclairage à partir de deux endroits - les gradateurs de passage (ils fonctionnent sur le principe d'un interrupteur de passage).
Comment connecter un gradateur
Dans le cas général, le gradateur est connecté comme un interrupteur classique, mais il y a une condition : le régulateur doit être allumé uniquement en cas de coupure de phase (les interrupteurs peuvent être réglés à la fois en phase et en "zéro").
Schéma de principe de connexion d'un gradateur
Les gradateurs sont connectés comme des interrupteurs. Ces deux éléments sont montés en série avec la charge. Le variateur peut être mis en place en toute sécurité à la place d'un interrupteur conventionnel. Pour ce faire, coupez l'alimentation secteur, débranchez les fils des bornes de l'ancien interrupteur et installez un gradateur à sa place. Cette opération est également simplifiée par le fait que les dimensions de montage des gradateurs correspondent aux dimensions d'interrupteurs simples.

Schéma de principe de connexion d'un gradateur
Lors du raccordement d'un gradateur au secteur, rappelez-vous : il doit être inclus dans la coupure de la phase (L), et non dans le fil neutre (N).
Circuit avec interrupteur
De tels schémas sont extrêmement pratiques: ils vous permettent de contrôler l'intensité de l'éclairage de n'importe où dans l'appartement. Dans la chambre. Par exemple, il est conseillé d'installer un variateur à côté du lit - dans ce cas, l'utilisateur n'a pas à quitter un lit chaud pour réduire ou augmenter l'intensité lumineuse.

Schéma de raccordement d'un variateur avec interrupteur
Un tel schéma est approprié pour s'appliquer dans les systèmes de "maison intelligente". Un contrôle efficace de la lumière vous permet de mettre en évidence des zones individuelles de la pièce ou des détails intérieurs. Un simple interrupteur est installé près de la porte intérieure. Ils sont utilisés lors de l'entrée et de la sortie de la pièce - lorsque vous devez allumer ou éteindre la lumière.
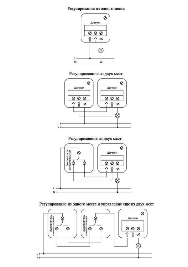
Schéma d'installation avec deux gradateurs
Si nécessaire, vous pouvez régler l'intensité lumineuse à partir de deux points. dans ce cas, deux gradateurs sont installés et leurs première et deuxième bornes sont connectées l'une à l'autre. Un fil de phase est connecté à la troisième borne de l'un des gradateurs.
Schéma de câblage avec deux gradateurs
Le fil de la charge provient de la troisième borne du gradateur restant. À la suite de telles manipulations, trois fils devraient sortir de la boîte de jonction de chacun des gradateurs.
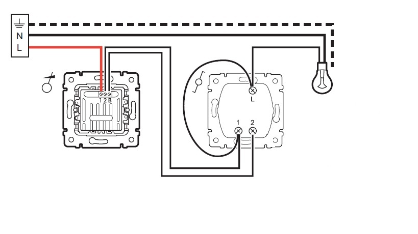
Allumer un gradateur avec deux interrupteurs de passage
Le principe de fonctionnement de ce schéma est le suivant: un interrupteur est installé à l'entrée de la pièce, le second - à l'autre bout de l'escalier ou du couloir. Dans ce cas, le gradateur est monté entre l'interrupteur et la charge dans le fil de phase.
Schéma de raccordement d'un variateur avec deux interrupteurs traversants
Un gradateur ne peut pas être installé entre les interrupteurs de passage.
Remarque : si le gradateur de ce circuit est éteint, aucun des interrupteurs de passage ne fonctionnera.
Connexion d'un gradateur à des bandes LED et des lampes
Si vous connectez un gradateur à la bande LED, il sera possible de modifier la luminosité de sa lueur. Choisissez un gradateur en fonction de la puissance totale des rubans LED.
Lors de la mise en œuvre de ce schéma avec des bandes monochromes, une alimentation est connectée à un gradateur. Les sorties du gradateur sont connectées à la charge elle-même, tout en respectant la polarité du courant.
Dans le cas de l'utilisation de bandes LED avec des canaux RVB, le gradateur est également connecté à l'alimentation et ses sorties au contrôleur de signal.
La puissance du gradateur dans l'un des cas ci-dessus doit être supérieure de 20 à 30% à la consommation électrique calculée des bandes.
Veuillez noter : des gradateurs spéciaux sont disponibles pour travailler avec des lampes et des bandes LED
Vidéo : comment remplacer un interrupteur par un variateur
Les gradateurs sont très populaires, ce qui incite les fabricants à développer activement cette branche de l'instrumentation. À présent, nous avons appris à fabriquer des régulateurs pour tout type de charge, y compris celles avec des alimentations à transformateur. Mais si nous parlons de lampes à incandescence ou halogènes conventionnelles pour 220 V, alors le gradateur pour elles est un appareil extrêmement simple et, comme le lecteur a pu le voir, il est assez facile de le faire soi-même.
(0 vote, moyenne : 0 sur 5)
Gradateur 100 watts. Constructeur.
Bonjour. Vue d'ensemble du module de contrôle de puissance électrique avec des exemples d'application. J'ai acheté ce kit pour changer la puissance du fer à souder.J'avais l'habitude de fabriquer un appareil similaire, mais pour un fer à souder, ce gradateur est trop gros, tant en taille qu'en puissance, et je dois le placer dans une boîte séparée. Et puis un sujet a attiré mon attention, qui peut être intégré dans une prise réseau, pas une vérité, mais vous pouvez la trouver. La description:
Taille du circuit imprimé : 2 x 3,3 cm Puissance nominale : p=UI ; Modèle 100 W = 220 V * 0,45 A : module variateur 100 W ; Puissance nominale : 100 W ;
PCB x1 pcs Potentiomètre avec interrupteur WH149-500k x1 Potentiomètre poignée x1 Dinistor DB3 x1 Résistance 2K, 0.25W x1 Triac MAC97A6 x1 Condensateur 0.1uF 630V CBB x1
Mes tailles.
Les dimensions de la planche sont de 30x20mm. En profondeur des contacts saillants du régulateur au filetage 17 mm. Trou de montage 9,2 mm. Diamètre du filetage 6,8 mm.
J'ai commandé un lot de dix ensembles. Chaque ensemble est placé dans un sac en plastique.

Peu de détails. Résistance variable avec interrupteur intégré.

Le schéma de circuit est similaire à celui-ci, seules les dénominations sont différentes.

Le module peut être soudé en quelques minutes.

Les fils sont trop épais et ne permettent pas à l'alternateur de se mettre complètement en place. Par conséquent, ils doivent être soudés en dernier, s'ils sont nécessaires, bien sûr.

Maintenant, vous devez prendre une fourchette. Je n'ai rien trouvé de mieux qu'un étui de chargement Nokia. Le boîtier est fixé avec des vis, mais avec une fente délicate, mais vous pouvez le dévisser avec un tournevis plat ordinaire.

Je sors l'intérieur, fais un trou dans le couvercle.

Tout, l'appareil est prêt.

Le bouton du régulateur a la même texture et la même couleur que le corps et ne donne pas l'impression d'un corps étranger.

Il reste à connecter la charge - un fer à souder.
Contacts à ressort de flaque d'eau dus au chargement d'acide.

Et je connecte le fil du fer à souder au gradateur et aux contacts.

Et j'ai mis tout cela à l'intérieur du boîtier de charge.Le fil dans le boîtier ne s'est pas fixé en plus, il est entré assez étroitement.

Maintenant, il reste à régler la température. Bien que le fer à souder soit de 25 watts, il chauffe jusqu'à 350 degrés.

En tournant le régulateur, j'obtiens que la piqûre est de 270 C et réorganise le bouton du régulateur avec un pointeur sur la vis, de sorte qu'il soit plus facile de naviguer plus tard. A ce moment, le fer à souder consomme 16,5 watts.

Vidéo démontrant le réglage de la puissance.
Par souci d'expérience, placez un sujet dans l'éventail.

Mais ici, le réglage de la vitesse ne peut être effectué sans douleur que dans de petites limites. Avec une diminution suffisante de la vitesse - les enroulements du moteur commencent à bourdonner, à surchauffer et tôt ou tard, plutôt tôt, avec un tel fonctionnement, le moteur peut griller

Eh bien, un régulateur universel, auquel vous pouvez connecter un fer à souder, une lampe et un ventilateur. Le boîtier a été retiré de l'alimentation électrique du pont du téléphone. L'alimentation est la plus simple - seulement un transformateur abaisseur, la sortie est en courant alternatif. Je l'ai donc démonté sans regret. L'étui a été divisé en 2 parties le long de la couture par de légers coups de marteau sur le couteau.

Une agréable surprise - le bouchon est dévissé, ce qui facilite le processus de fabrication maison.

Bien sûr, vous devez couper un peu.

Les pièces nécessaires rentrent dans le boîtier de manière assez compacte.

Je connecte la fiche et la prise avec des fils.

Je mets tout ça dans le cas où le variateur est déjà installé. Les fils sur la photo sont mal soudés, par inattention. Le courant avec ce câblage passe directement par le condensateur et le gradateur ne fonctionne naturellement pas. Et puis j'ai pensé - ils ont mis le mariage. J'ai soudé les fils, comme prévu, aux contacts signés "220V".

Produit prêt.

J'utilise un gradateur pour l'usage auquel il est destiné - une lampe à incandescence peut être assombrie spirituellement.

Pendant le fonctionnement, je n'ai pas constaté d'échauffement excessif de l'appareil, mais j'ai utilisé le sujet pour une puissance inférieure à celle nominale.
C'est tout
Merci pour votre attention
Gradateur avec interrupteur
Un circuit légèrement plus compliqué est également populaire, mais bien sûr très pratique, en particulier pour une utilisation dans les chambres à coucher - un interrupteur est installé à la coupure de phase devant le gradateur. Le gradateur est monté près du lit et l'interrupteur d'éclairage, comme prévu, à l'entrée de la pièce. Maintenant, en étant allongé dans le lit, il est possible de régler les lampes et, en quittant la pièce, la lumière peut être complètement éteinte. Lorsque vous revenez dans la chambre et appuyez sur l'interrupteur à l'entrée, les ampoules s'allumeront avec la même luminosité avec laquelle elles brûlaient au moment de l'extinction.
De la même manière les commutateurs d'intercommunication sont connectés et des gradateurs pass-through, qui permettent de contrôler l'éclairage à partir de deux points. À partir de chaque emplacement d'installation de gradateur, trois fils doivent entrer dans la boîte de jonction. Une phase du secteur est fournie au contact d'entrée du premier gradateur. La broche de sortie du deuxième gradateur est connectée à la charge d'éclairage. Et les deux paires de fils restants sont interconnectés par des cavaliers.
Avec une touche légère...
Un autre type de gradateur est tactile. D'une légère pression de la main, vous pouvez simplement contrôler l'éclairage, modifier la vitesse de rotation du moteur. La charge de sortie peut être quelconque - des bandes LED aux projecteurs puissants de plusieurs kW. Mais le schéma est un peu plus compliqué.
L'élément principal est la puce HT7700C/D. Il s'agit d'un dispositif CMOS conçu pour un contrôle fluide de la luminosité. Le triac est sélectionné avec la puissance requise, en tenant compte du fait que le courant à la broche 5 du microcircuit est de 14 mA. Tension d'alimentation : 9–12 V. Le capteur est connecté via une diode à la broche 2.
Toute plaque métallique ou morceau de fil de cuivre nu fonctionnera comme un capteur. Tout cela doit être bien fait.
L'appareil fonctionne comme ceci : la première touche est activée. La seconde - une diminution progressive de la luminosité, la troisième - la luminosité sera fixe. Quatrième touche - arrêt.
Comme vous pouvez le voir, il est possible d'assembler un gradateur de vos propres mains. Cela vous permettra d'économiser sur les achats et de vous essayer à l'électronique.









































